Export Control
EAR Export Classification: Not subject to the EAR per 15 C.F.R. Chapter 1, Part 734.3(b)(3), except for the following Service Bulletins which are currently published as EAR Export Classification 9E991: SBE70-0992, SBE72-0483, SBE72-0580, SBE72-0588, SBE72-0640, SBE73-0209, SBE80-0024 and SBE80-0025.Copyright
© IAE International Aero Engines AG (2001, 2014 - 2021) The information contained in this document is the property of © IAE International Aero Engines AG and may not be copied or used for any purpose other than that for which it is supplied without the express written authority of © IAE International Aero Engines AG. (This does not preclude use by engine and aircraft operators for normal instructional, maintenance or overhaul purposes.).Applicability
All
Common Information
TASK 72-50-23-200-001 LPT Stage 7 Outer Shroud Seal Segment - Examine, Inspection-001
General
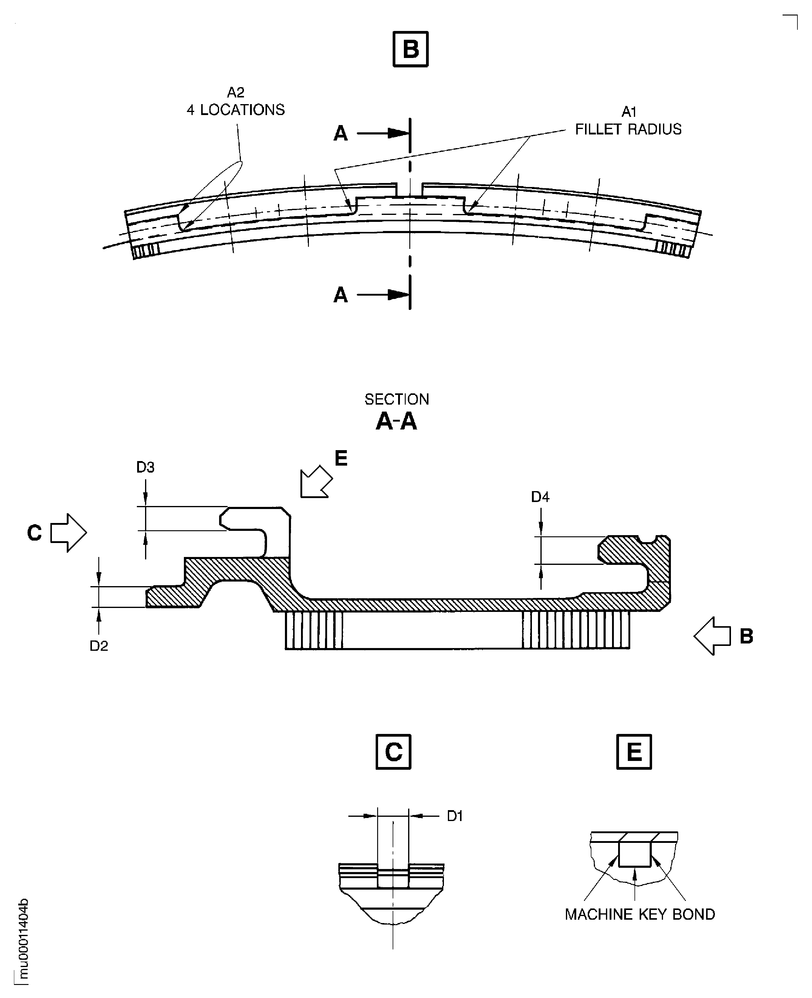
This TASK gives the procedure for the inspection of the stage 7 seal shroud segment. For the other LP turbine outer static seals, refer to TASK 72-50-23-200-000 (INSPECTION/CHECK-000).
Fig/item numbers in parentheses in the procedure agree with those used in the IPC.
The policy that is necessary for inspection is given in the SPM TASK 70-20-00-200-501.
All the parts must be cleaned before any part is examined. Refer to TASK 72-50-23-100-000 (CLEANING-000).
All parts must be visually examined for damage, corrosion and wear. Any defects that are not identified in the procedure must be referred to IAE.
The procedure for those parts which must have a crack test is given in Step. Do the test before the part is visually examined.
Do not discard any part until you are sure there are no repairs available. Refer to the instructions in Repair before a discarded part is used again or oversize parts are installed.
Parts which should be discarded can be held although no repair is available. The repair of a discarded part could be shown to be necessary at a later date.
All parts must be examined to make sure that all the repairs have been completed satisfactorily.
The practices and processes referred to in the procedure by the TASK numbers are in the SPM.
References
Refer to the SPM for data on these items.
Definitions of Damage, SPM TASK 70-02-02-350-501.
Record and Control of the Lives of Parts, SPM TASK 70-05-00-220-501.
Inspection of Parts, SPM TASK 70-20-00-200-501.
Some data on these items is contained in this TASK. For more data on these items refer to the SPM.
Method of Testing for Crack Indications
Chemical Processes
Surface Protection
Preliminary Requirements
Pre-Conditions
NONESupport Equipment
NONEConsumables, Materials and Expendables
NONESpares
NONESafety Requirements
NONEProcedure
Before Inspection, clean the stage 7 shroud seal segment. Refer to TASK 72-50-23-100-000 (CLEANING-000).
Repair, VRS4097 TASK 72-50-23-300-019 (REPAIR-019).
Cracked sealing strip
Repair, VRS4081 TASK 72-50-23-300-007 (REPAIR-007).
Other than in (3)
Do the test for cracks on the parts that are given below. Use the applicable penetrant procedure.
PART IDENT TASK/SUBTASK
Stage 7 shroud seal segment
SUBTASK 72-50-23-230-051 Examine the Stage 7 Shroud Seal Segment for Cracks
Repair, VRS4076 TASK 72-50-23-300-003 (REPAIR-003).
Other than in (1)
Examine the stage 7 shroud seal segment for nicks.
Repair, VRS4076 TASK 72-50-23-300-003 (REPAIR-003).
Other than in (1)
Examine the stage 7 shroud seal segment for dents.
SUBTASK 72-50-23-220-052 Examine the Stage 7 Shroud Seal Segment for Damage
Repair, VRS4080 TASK 72-50-23-300-006 (REPAIR-006).
Other than in (1)
Examine for unbonded areas.
Repair, VRS4080 TASK 72-50-23-300-006 (REPAIR-006).
Other than in (1)
Examine for damaged or bent cells.
Repair, VRS4080 TASK 72-50-23-300-006 (REPAIR-006).
Other than in (1)
Examine for rub damage.
SUBTASK 72-50-23-220-053 Examine the Honeycombs of the Stage 7 Shroud Seal Segment (01-010) for Damage
Repair, VRS4097 TASK 72-50-23-300-019 (REPAIR-019).
Totally out of shape
Examine the sealing strip for bends.
SUBTASK 72-50-23-220-054 Examine the Sealing Strip of the Stage 7 Shroud Seal Segment (01-010) for Damage
Refer to: Figure
Repair, VRS4081 TASK 72-50-23-300-007 (REPAIR-007).
Other than in (a)
Worn.
Examine the stage 7 shroud seal segment at location D1 for wear.
SUBTASK 72-50-23-220-056 Examine the Stage 7 Shroud Seal Segment for Wear
Figure: Examine the stage 7 shroud seal segment
Examine the stage 7 shroud seal segment

