Export Control
EAR Export Classification: Not subject to the EAR per 15 C.F.R. Chapter 1, Part 734.3(b)(3), except for the following Service Bulletins which are currently published as EAR Export Classification 9E991: SBE70-0992, SBE72-0483, SBE72-0580, SBE72-0588, SBE72-0640, SBE73-0209, SBE80-0024 and SBE80-0025.Copyright
© IAE International Aero Engines AG (2001, 2014 - 2021) The information contained in this document is the property of © IAE International Aero Engines AG and may not be copied or used for any purpose other than that for which it is supplied without the express written authority of © IAE International Aero Engines AG. (This does not preclude use by engine and aircraft operators for normal instructional, maintenance or overhaul purposes.).Applicability
All
Common Information
TASK 72-50-24-300-035 LPT Inner Diffuser Duct Support - Plasma Spray The Inner Duct Locating Diameter, Repair-035 (VRS4321)
General
Price and availability - none
The practices and processes referred to in the procedure by the TASK number are in the SPM.
NOTE
NOTE
Preliminary Requirements
Pre-Conditions
NONESupport Equipment
| Name | Manufacturer | Part Number / Identification | Quantity | Remark |
|---|---|---|---|---|
| Milling machine | LOCAL | Milling machine |
Consumables, Materials and Expendables
| Name | Manufacturer | Part Number / Identification | Quantity | Remark |
|---|---|---|---|---|
| CoMat 02-047 TAPE, HEAT REFLECTIVE | 52152 | CoMat 02-047 | ||
| CoMat 02-050 HIGH TEMPERATURE GLASS CLOTH TAPE | 76381 | CoMat 02-050 | ||
| CoMat 03-096 PLASMA SPRAY POWDER | LOCAL | CoMat 03-096 | ||
| CoMat 05-046 ALUMINUM OXIDE GRIT | 62596 | CoMat 05-046 |
Spares
NONESafety Requirements
NONEProcedure
Refer to Figure.
Remove the old coating and damage fully.
Keep material removal to a minimum.
Use milling machine.
Machine the inner duct locating diameter.
SUBTASK 72-50-24-325-074 Machine the Inner Duct Locating Diameter
NOTE
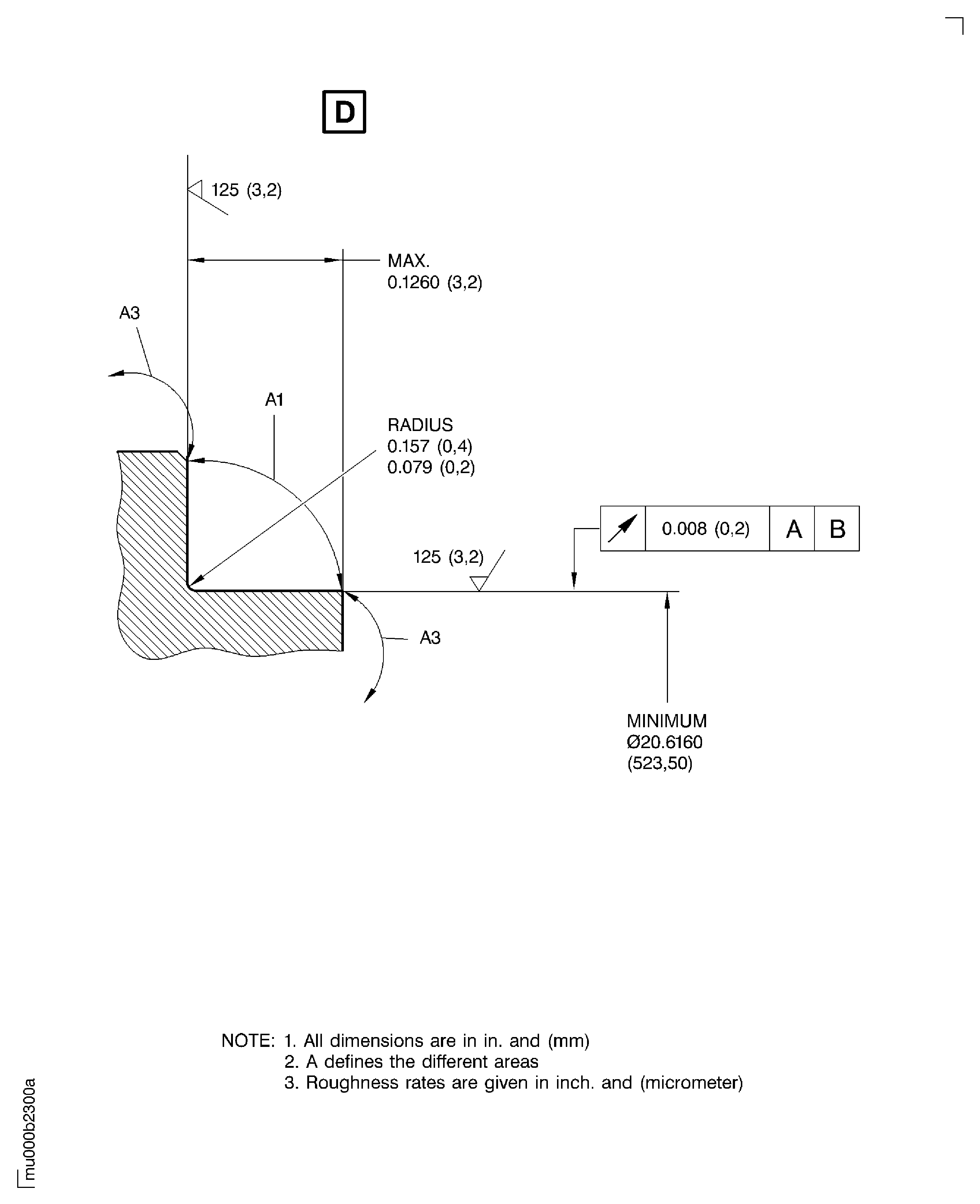
Remove the old coating fully, if the inner duct locating diameter was plasma sprayed before.Refer to Figure for dimensions.
Examine dimensionally.
SUBTASK 72-50-24-220-139 Examine the Machined Surface
Refer to the SPM TASK 70-11-34-300-503.
Aqueous degrease.
SUBTASK 72-50-24-110-103 Clean the Support Diffuser, Inner
Mask the areas A3.
Surface texture must be 120 to 200 microinch RMS (3.0 to 5.0 micrometer Ra).
Blasting in area A2 is permitted.
Refer to Figure and the SPM TASK 70-34-03-340-501.
Grit blast the areas A1.
SUBTASK 72-50-24-340-075 Prepare the Surfaces for the Plasma Spray Procedure
Coating in area A2 is permitted.
Refer to Figure.
Make sure that there is sufficient material to do last machining.
Refer to the SPM TASK 70-34-03-340-501.
Plasma spray the area A1.
Refer to the SPM TASK 70-34-03-340-501-002 for acceptance standards.
Examine the coating.
SUBTASK 72-50-24-340-076 Plasma Spray the Prepared Surfaces
Uniform runout of coating is permitted in area A2.
Refer to Figure and the SPM TASK 70-34-03-340-501.
Use milling machine.
Machine the coated areas.
SUBTASK 72-50-24-325-075 Machine the Coated Areas
Refer to the SPM TASK 70-11-34-300-503.
Aqueous degrease.
SUBTASK 72-50-24-110-105 Clean the Support Diffuser, Inner
Refer to Figure.
Examine the machined areas dimensionally.
Refer to the SPM TASK 70-34-03-340-501.
Examine the coating visually.
SUBTASK 72-50-24-220-140 Do the Post Repair Inspection
Refer to the SPM TASK 70-09-00-400-501.
Vibropeen VRS4321 and applicable beehive symbol adjacent to the part number.
SUBTASK 72-50-24-350-072 Make a Mark to Identify the Repair
Figure: Plasma spray the inner duct locating diameter
Plasma spray the inner duct locating diameter

Figure: Plasma spray the inner duct locating diameter
Sheet 1

Figure: Plasma spray the inner duct locating diameter
Sheet 2

