Export Control
EAR Export Classification: Not subject to the EAR per 15 C.F.R. Chapter 1, Part 734.3(b)(3), except for the following Service Bulletins which are currently published as EAR Export Classification 9E991: SBE70-0992, SBE72-0483, SBE72-0580, SBE72-0588, SBE72-0640, SBE73-0209, SBE80-0024 and SBE80-0025.Copyright
© IAE International Aero Engines AG (2001, 2014 - 2021) The information contained in this document is the property of © IAE International Aero Engines AG and may not be copied or used for any purpose other than that for which it is supplied without the express written authority of © IAE International Aero Engines AG. (This does not preclude use by engine and aircraft operators for normal instructional, maintenance or overhaul purposes.).Applicability
All
Common Information
TASK 72-50-24-300-048 LPT Inner Diffuser Duct Support Ring - Weld Repair Cracks, Repair-048 (VRS4451)
General
Price and availability - none
The practices and processes referred to in the procedure by the TASK number are in the SPM.
NOTE
NOTE
Preliminary Requirements
Pre-Conditions
NONESupport Equipment
NONEConsumables, Materials and Expendables
| Name | Manufacturer | Part Number / Identification | Quantity | Remark |
|---|---|---|---|---|
| CoMat 03-184 WELDING FILLER WIRE, NICKEL | LOCAL | CoMat 03-184 |
Spares
NONESafety Requirements
NONEProcedure
SUBTASK 72-50-24-320-064 Remove the Coating
NOTE
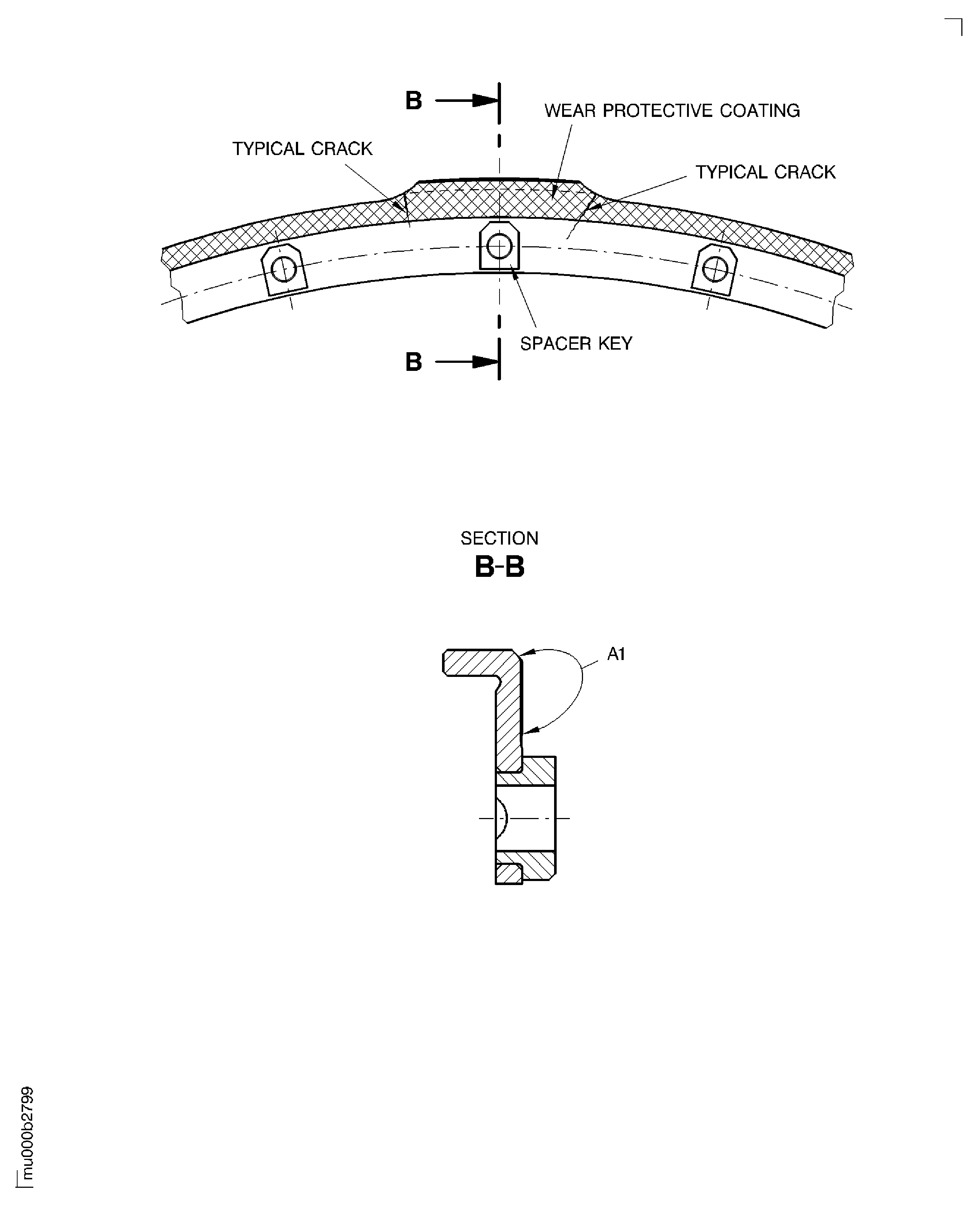
If required remove the locating key before repair and replace after repair. Replace the locating key before heat treatment Step if brazing method is used. Refer to Repair VRS4356, TASK 72-50-24-300-038 (REPAIR-038).Keep material to a minimum to remove cracks.
Refer to the SPM TASK 70-31-13-310-501 and Figure.
If crack goes through, V-groove to half depth and weld up.
After this, V-groove from other surface until weld seam as necessary.
Weld other side as usual.
Completely V-groove full length of crack.
SUBTASK 72-50-24-350-089 Prepare the Cracks Before Welding
Refer to the SPM TASK 70-11-34-300-503.
Aqueous degrease.
SUBTASK 72-50-24-110-154 Clean the Support Ring Assembly
Refer to Figure and the SPM TASK 70-31-13-310-501.
For welding up through cracks refer to SUBTASK 72-50-24-350-001.
Gas tungsten arc weld cracks.
SUBTASK 72-50-24-310-068 Weld Repair the Cracks
Refer to the SPM TASK 70-37-00-370-501.
Put the support ring assembly in an oven for eight hours at 1450 to 1500 deg F (788 to 816 deg C).
Use argon or vacuum.
Cooling rate equivalent to air cooling.
Heat treat support ring assembly.
SUBTASK 72-50-24-370-063 Heat Treatment After Weld Repair
Refer to Figure.
Welded areas must be equal to original contours and must be flush with adjacent surfaces.
Use applicable machining equipment.
Dress the welds.
SUBTASK 72-50-24-320-065 Dress the Welded Areas

CAUTION
DO NOT OVERHEAT THE AREAS THAT ARE DRESSED.Refer to VRS4309 TASK 72-50-24-300-039 (REPAIR-039).
Repair wear protective coating.
SUBTASK 72-50-24-350-090 Do the Post Repair
Figure: Weld Repair Cracks on the Support Ring Assembly
Weld Repair Cracks on the Support Ring Assembly

