Export Control
EAR Export Classification: Not subject to the EAR per 15 C.F.R. Chapter 1, Part 734.3(b)(3), except for the following Service Bulletins which are currently published as EAR Export Classification 9E991: SBE70-0992, SBE72-0483, SBE72-0580, SBE72-0588, SBE72-0640, SBE73-0209, SBE80-0024 and SBE80-0025.Copyright
© IAE International Aero Engines AG (2001, 2014 - 2021) The information contained in this document is the property of © IAE International Aero Engines AG and may not be copied or used for any purpose other than that for which it is supplied without the express written authority of © IAE International Aero Engines AG. (This does not preclude use by engine and aircraft operators for normal instructional, maintenance or overhaul purposes.).Applicability
All
Common Information
TASK 72-50-24-300-059 LPT Inner Diffuser Duct Support Ring - Weld Repair Front Faces, Repair-059 (VRS4454)
General
Price and availability - none
The practices and processes referred to in the procedure by the TASK numbers are in the SPM.
NOTE
Preliminary Requirements
Pre-Conditions
NONESupport Equipment
| Name | Manufacturer | Part Number / Identification | Quantity | Remark |
|---|---|---|---|---|
| Turning lathe | LOCAL | Turning lathe | ||
| Grinding machine | LOCAL | Grinding machine |
Consumables, Materials and Expendables
| Name | Manufacturer | Part Number / Identification | Quantity | Remark |
|---|---|---|---|---|
| CoMat 03-184 WELDING FILLER WIRE, NICKEL | LOCAL | CoMat 03-184 |
Spares
NONESafety Requirements
NONEProcedure
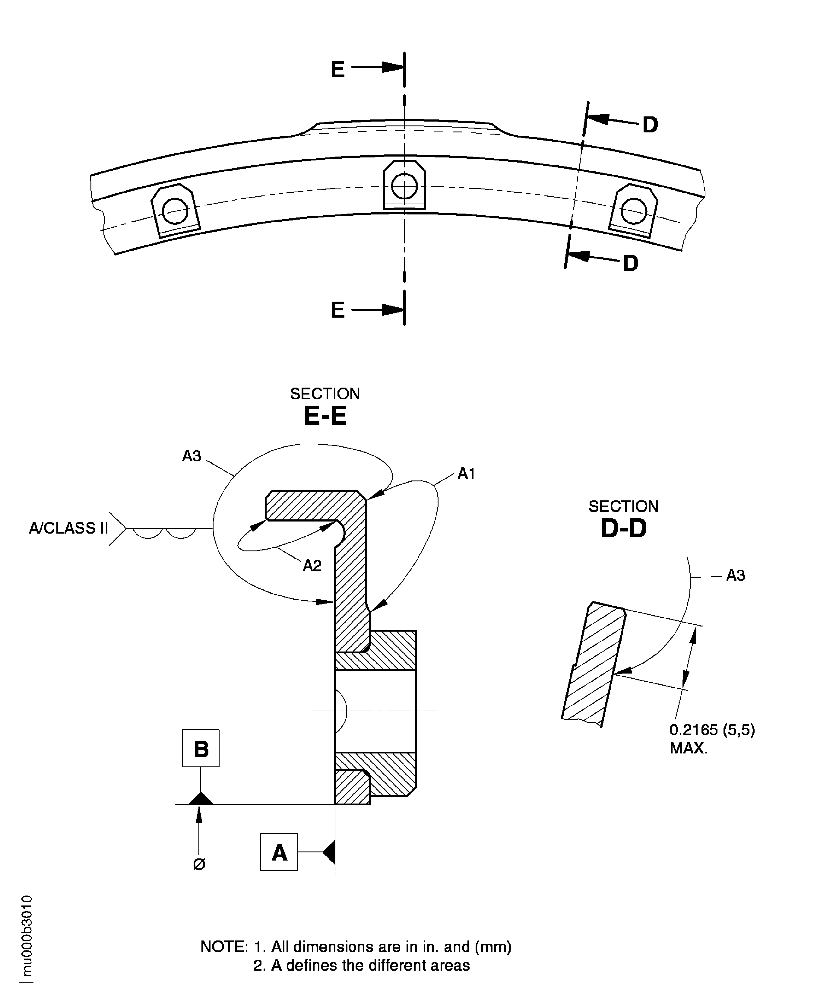
Refer to Figure.
NOTE
If the locating diameter in area A2 was plasma sprayed before, remove the old coating fully. Refer to VRS4128 TASK 72-50-24-300-022 (REPAIR-022).
SUBTASK 72-50-24-320-080 Remove the Coating
Refer to the SPM TASK 70-11-34-300-503.
Aqueous degrease.
SUBTASK 72-50-24-110-168 Clean the Support Ring Assembly
Refer to Figure.
Refer to the SPM TASK 70-31-13-310-501.
Use CoMat 03-184 WELDING FILLER WIRE, NICKEL. Make sure that there is sufficient material to do last machining. To prevent distortion, several weld passes must be made. Prevent too much temperature build-up.
Gas tungsten arc weld the front faces area A3.
SUBTASK 72-50-24-310-076 Weld Repair the Support Ring Assembly
Refer to Figure.
SUBTASK 72-50-24-320-081 Machine the Welded Areas
Refer to the SPM TASK 70-37-00-370-501.
Put the part in an oven for eight hours at 1450 to 1500 deg F (788 to 816 deg C).
Use argon or vacuum.
Cooling rate equivalent to air cooling.
Heat treat the support ring assembly.
SUBTASK 72-50-24-370-071 Heat Treatment after Weld Repair
Refer to Figure.
SUBTASK 72-50-24-220-231 Examine the Machined Areas
Refer to VRS4309, TASK 72-50-24-300-039 (REPAIR-039).
Restore the wear protective coating.
SUBTASK 72-50-24-350-102 Do the Post Repair
Figure: Repair Details and Dimensions
Repair Details and Dimensions

Figure: Repair Details and Dimensions
Repair Details and Dimensions

