Export Control
EAR Export Classification: Not subject to the EAR per 15 C.F.R. Chapter 1, Part 734.3(b)(3), except for the following Service Bulletins which are currently published as EAR Export Classification 9E991: SBE70-0992, SBE72-0483, SBE72-0580, SBE72-0588, SBE72-0640, SBE73-0209, SBE80-0024 and SBE80-0025.Copyright
© IAE International Aero Engines AG (2001, 2014 - 2021) The information contained in this document is the property of © IAE International Aero Engines AG and may not be copied or used for any purpose other than that for which it is supplied without the express written authority of © IAE International Aero Engines AG. (This does not preclude use by engine and aircraft operators for normal instructional, maintenance or overhaul purposes.).Applicability
All
Common Information
TASK 72-50-32-300-033 LPT Stage 3 Blade - Weld Build Up Repair, Repair-033 (VRS4211)
General
Price and availability - none
The practices and processes referred to in this procedure by the TASK number are in the SPM.
NOTE
NOTE
NOTE
NOTE
Do not repair the turbine blades that have cracks extending into the outer shroud.
Before you do the repair, write down the turbine blade length dimension, part number, heat code, blade life figure and serial number.
Preliminary Requirements
Pre-Conditions
NONESupport Equipment
| Name | Manufacturer | Part Number / Identification | Quantity | Remark |
|---|---|---|---|---|
| Dial caliper | LOCAL | Dial caliper | ||
| Gas furnace | LOCAL | Gas furnace | 2400 deg F - box | |
| External grinding machine | LOCAL | External grinding machine | ||
| Radius gage set | LOCAL | Radius gage set | ||
| Roughness microtester | LOCAL | Roughness microtester | ||
| Tridimensional measuring unit | LOCAL | Tridimensional measuring unit | ||
| IAE 2M14181 Inspectionmounting block | 0AM53 | IAE 2M14181 | 1 | |
| IAE 3M14411 Welding fixture | 0AM53 | IAE 3M14411 | 1 | |
| IAE 3M14416 Grinding fixture | 0AM53 | IAE 3M14416 | 1 | |
| IAE 3M14466 Welding mounting block | 0AM53 | IAE 3M14466 | 1 | |
| IAE 3M14524 Grinding mounting block | 0AM53 | IAE 3M14524 | 1 |
Consumables, Materials and Expendables
| Name | Manufacturer | Part Number / Identification | Quantity | Remark |
|---|---|---|---|---|
| CoMat 03-287 WELDING FILLER WIRE | LOCAL | CoMat 03-287 | ||
| CoMat 05-030 CAST STEEL SHOT DELETED | 0AM53 | CoMat 05-030 | ||
| CoMat 05-075 WATERPROOF SILICON CARBIDE | IE241 | CoMat 05-075 |
Spares
NONESafety Requirements
NONEProcedure
Use the IAE 3M14524 Grinding mounting block 1 off, IAE 3M14416 Grinding fixture 1 off and the external grinding machine.
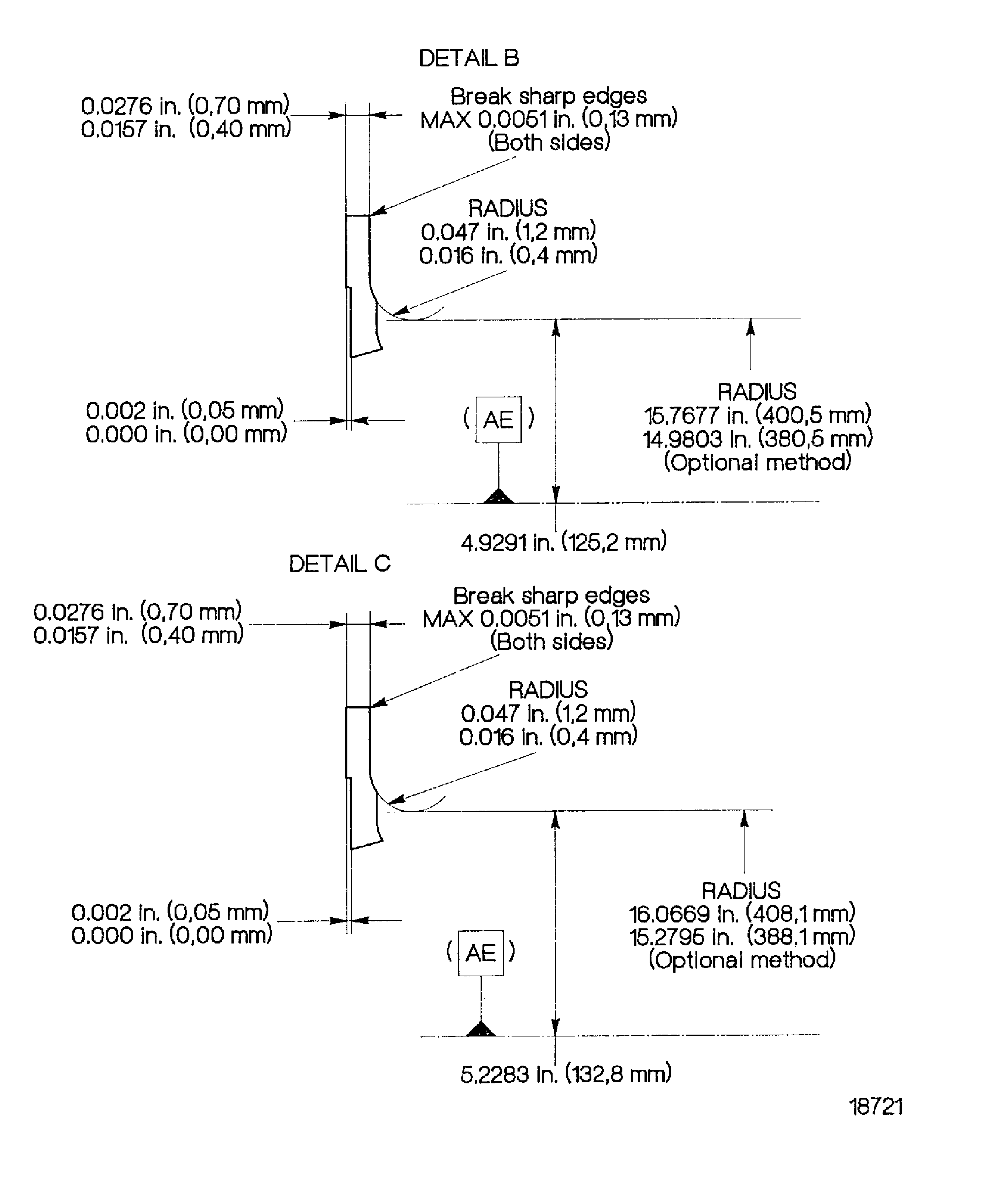
Refer to Figure.
Keep material removal to the minimum to allow subsequent repairs.
Machine the knife edge seals.
SUBTASK 72-50-32-324-051 Machine the Knife Edge Seals
Use the IAE 2M14181 Inspectionmounting block 1 off and the tridimensional measuring unit.
Refer to Figure.
Dimensionally examine.
SUBTASK 72-50-32-220-178 Examine the Machined Edge Seals
Refer to the SPM TASK 70-11-03-300-503.
Degrease.
SUBTASK 72-50-32-110-074-001 Clean the Stage 3 Turbine Blade
Refer to the SPM TASK 70-11-01-300-503.
Vapor degrease.
SUBTASK 72-50-32-110-074-002 Clean the Stage 3 Turbine Blade
Use the IAE 3M14466 Welding mounting block 1 off and IAE 3M14411 Welding fixture 1 off.
Refer to Figure.
Weld build-up sufficient material to do the final machining.
Refer to the SPM TASK 70-31-13-310-501.
Machining or manual tungsten inert gas welding is permitted.
Tungsten inert gas weld build-up the seal fins.
SUBTASK 72-50-32-310-055 Weld-Up Repair the Knife Edge Seals
Refer to the SPM TASK 70-23-04-230-501.
Cracks in the knife edge welds can be repaired if they do not extend into the shroud.
Do the test for cracks.
SUBTASK 72-50-32-230-082 Examine the Welded Areas for Cracks
Use the IAE 3M14524 Grinding mounting block 1 off, the IAE 3M14416 Grinding fixture 1 off and the external grinding machine.
Refer to Figure for finishing dimensions.
Use the IAE 2M14181 Inspectionmounting block 1 off, the tridimensional measuring unit, a dial caliperdial gage set and a roughness microtester.
Grind the seal tip radius, end faces, thickness and fillet radius.
SUBTASK 72-50-32-324-052 Machine the Welded Areas
Refer to the SPM TASK 70-23-05-230-501.
Cracks in the knife edge welds can be repaired.
For limits, refer to Repair VRS4198, TASK 72-50-32-300-020 (REPAIR-020).
Do the test for cracks.
SUBTASK 72-50-32-230-083 Examine the Stage 3 Turbine Blade for Cracks
Refer to: Figure
For masking refer to Figure.
Mask the stage 3 turbine blade.
Refer to the SPM TASK 70-38-04-300-503.
Use CoMat 05-030 CAST STEEL SHOT DELETED to an intensity of 6A.
Shot-peening is permitted in area A2 but must not be complete.
Shot peen area A1.
SUBTASK 72-50-32-350-082 Shot-Peen the Surface A1 of the Stage 3 Turbine Blade
If any of these are unreadable, then make new marks.
Use the roll stamp method.
Refer to the SPM TASK 70-09-00-400-501.
Examine the blade length, part number, heat code and serial number markings.
If this marking is unreadable, then make a new mark.
Use the vibro-peen method.
Refer to the SPM TASK 70-09-00-400-501.
Examine the blade marking.
SUBTASK 72-50-32-220-179 Examine the Stage 3 Turbine Blade Markings
Refer to the SPM TASK 70-09-00-400-501.
Vibro-peen VRS4211 and the applicable beehive symbol adjacent to the part number.
SUBTASK 72-50-32-350-083 Mark the Stage 3 Turbine Blade after Repair
Figure: Weld build-up the knife edge seals of the turbine blade
Weld build-up the knife edge seals of the turbine blade

Figure: Weld build-up the knife edge seals of the turbine blade
Sheet 1

Figure: Weld build-up the knife edge seals of the turbine blade
Sheet 2

Figure: Weld build-up the knife edge seals of the turbine blade
Weld build-up the knife edge seals of the turbine blade

