Export Control
EAR Export Classification: Not subject to the EAR per 15 C.F.R. Chapter 1, Part 734.3(b)(3), except for the following Service Bulletins which are currently published as EAR Export Classification 9E991: SBE70-0992, SBE72-0483, SBE72-0580, SBE72-0588, SBE72-0640, SBE73-0209, SBE80-0024 and SBE80-0025.Copyright
© IAE International Aero Engines AG (2001, 2014 - 2021) The information contained in this document is the property of © IAE International Aero Engines AG and may not be copied or used for any purpose other than that for which it is supplied without the express written authority of © IAE International Aero Engines AG. (This does not preclude use by engine and aircraft operators for normal instructional, maintenance or overhaul purposes.).Applicability
All
Common Information
TASK 72-50-32-300-034 LPT Stage 3 Blade - Weld Build Up Repair Of Outer Shroud Hardfacing, Repair-034 (VRS4324)
General
Price and availability - none
The practices and processes referred to in the procedure by the TASK number are in the SPM
NOTE
NOTE
NOTE
NOTE
If repair of pre-twist is also required, then do VRS4209 TASK 72-50-32-300-031 (REPAIR-031) first, before start of this repair.
Touch-up of aluminide coating in repaired areas is not required.
Before repair, write down turbine blade part number and serial number.
Preliminary Requirements
Pre-Conditions
NONESupport Equipment
| Name | Manufacturer | Part Number / Identification | Quantity | Remark |
|---|---|---|---|---|
| Rockwell hardness tester | LOCAL | Rockwell hardness tester | ||
| 10X Illuminated magnifier | LOCAL | 10X Illuminated magnifier | ||
| Hand held grinder | LOCAL | Hand held grinder | ||
| IAE 2M14166 Inspection gage | 0AM53 | IAE 2M14166 | 1 | |
| IAE 3M14496 Welding mounting block | 0AM53 | IAE 3M14496 | 1 | |
| IAE 3M14498 Welding fixture | 0AM53 | IAE 3M14498 | 1 | |
| IAE 3M14508 Grinding fixture (convex/concave side) | 0AM53 | IAE 3M14508 |
Consumables, Materials and Expendables
| Name | Manufacturer | Part Number / Identification | Quantity | Remark |
|---|---|---|---|---|
| CoMat 03-283 COATING ALLOY | 0CZB2 | CoMat 03-283 | ||
| CoMat 05-029 CAST STEEL SHOT, S110 | LOCAL | CoMat 05-029 | ||
| CoMat 05-030 CAST STEEL SHOT DELETED | 0AM53 | CoMat 05-030 | ||
| CoMat 05-031 CAST STEEL SHOT DELETED | 0AM53 | CoMat 05-031 | ||
| CoMat 05-075 WATERPROOF SILICON CARBIDE | IE241 | CoMat 05-075 | ||
| CoMat 05-138 SHOT, CAST STEEL, S110 | 11851 | CoMat 05-138 | ||
| CoMat 05-177 CUT WIRE SHOT,CW-14 | LOCAL | CoMat 05-177 |
Spares
NONESafety Requirements
NONEProcedure
Use CoMat 05-075 WATERPROOF SILICON CARBIDE or similar.
Remove the aluminide coating locally.
SUBTASK 72-50-32-326-003 Remove the Coating Locally
Refer to the SPM TASK 70-11-03-300-503.
Aqueous cleaning
SUBTASK 72-50-32-110-066 Clean the Stage 3 Turbine Blade
Refer to Figure.
Refer to the SPM TASK 70-31-08-310-501.
Use IAE 3M14498 Welding fixture 1 off and IAE 3M14496 Welding mounting block 1 off.
Make sure that there is sufficient material to do last machining.
Decrease temperature of the turbine blade to reduce heat affected zone to a minimum.
In area A4 electrical contact is permitted.
No burning, pitting or selective attack is permitted.
Gas tungsten arc weld surfaces.
SUBTASK 72-50-32-310-051 Weld Build-Up Repair the Worn Surfaces
Rockwell 40 HRC minimum or equivalent is required. Use Rockwell hardness tester.
Examine the hardness of weld nugget.
SUBTASK 72-50-32-220-158 Examine the Welded Areas
Welded areas must be equal to the original contours and must be flush with the adjacent surfaces. Remove burrs and sharp edges.
Use Hand held grinder.
Dress the welds.
SUBTASK 72-50-32-320-051 Machine the Welded Areas
Use IAE 2M14166 Inspection gage 1 off.
Examine the machined areas dimensionally.
SUBTASK 72-50-32-220-159 Examine the Machined Outer Hardfacing
Do the stress-relief after all weld and coating operations.
This SUBTASK is optional if aluminide coating will be completely removed and re-applied per VRS4208 TASK 72-50-32-300-030 after weld repair.
Refer to the SPM TASK 70-37-10-370-501, Stress-Relief Cycle 5.
Stress-relieve the turbine blade.
SUBTASK 72-50-32-370-053 Heat Treatment after Machining
NOTE
Refer to the SPM TASK 70-23-08-230-501.
The maximum permitted length of discontinuities is 0.016 in. (0.4 mm) in the repaired areas.
Do the test for cracks.
SUBTASK 72-50-32-230-077 Examine the Machined Areas for Cracks
Refer to the SPM TASK 70-11-03-300-503.
Aqueous cleaning
SUBTASK 72-50-32-110-067 Clean the Stage 3 Turbine Blade
Refer to Figure.
Refer to the SPM TASK 70-38-13-380-501.
Use CoMat 05-029 CAST STEEL SHOT, S110 or CoMat 05-030 CAST STEEL SHOT DELETED or CoMat 05-031 CAST STEEL SHOT DELETED or CoMat 05-138 SHOT, CAST STEEL, S110 or CoMat 05-177 CUT WIRE SHOT,CW-14 to an intensity of 6A.
Shotpeen blade root flanks plus corner radii to end faces.
Shotpeening is permitted in area A2.
Shotpeen area A1.
SUBTASK 72-50-32-380-055 Shotpeen the Surface A1 of the Stage 3 Turbine Blade
NOTE
Do the shotpeening after all weld and coating operations.If you cannot read any of these, make new marks.
Use the roll stamp method.
Refer to the SPM TASK 70-09-00-400-501.
Examine the markings of part number and serial number.
SUBTASK 72-50-32-220-160 Examine the Stage 3 Turbine Blade Markings
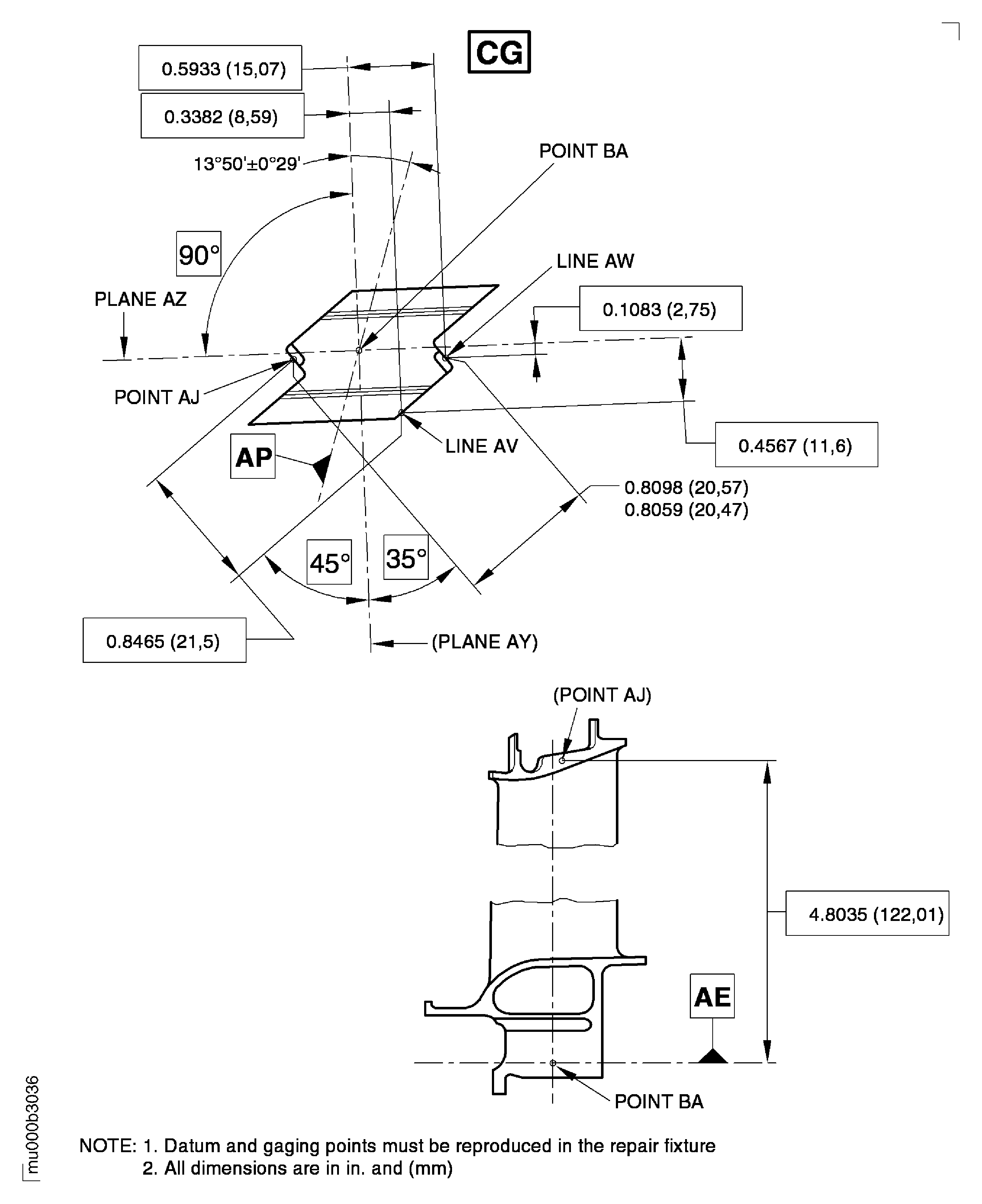
Figure: Repair Details and Dimensions
Repair Details and Dimensions

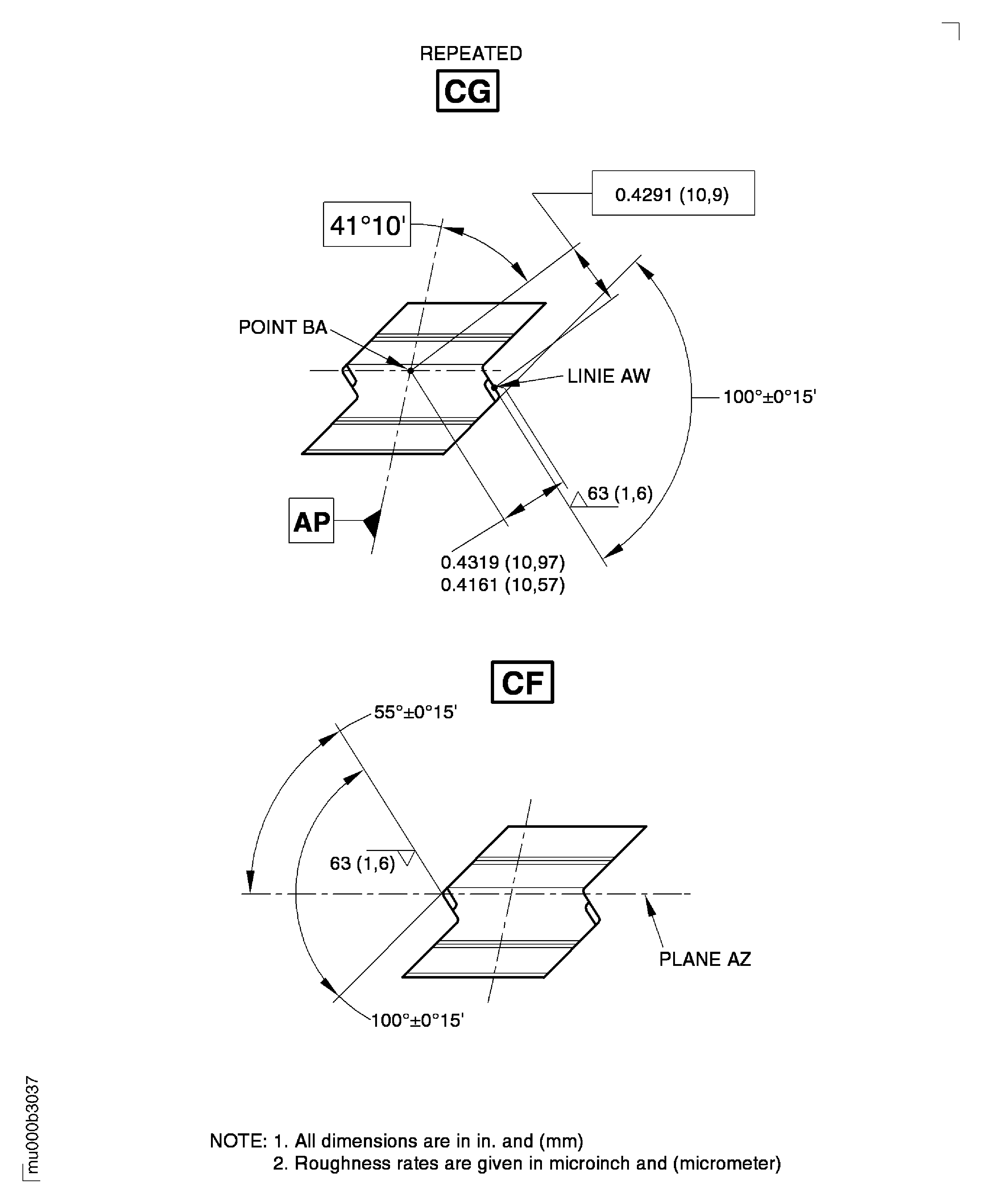
Figure: Repair Details and Dimensions
Repair Details and Dimensions

Figure: Repair Details and Dimensions
Sheet 1

Figure: Repair Details and Dimensions
Sheet 2

Figure: Repair Details and Dimensions
Sheet 3

Figure: Repair Details and Dimensions
Repair Details and Dimensions

