Export Control
EAR Export Classification: Not subject to the EAR per 15 C.F.R. Chapter 1, Part 734.3(b)(3), except for the following Service Bulletins which are currently published as EAR Export Classification 9E991: SBE70-0992, SBE72-0483, SBE72-0580, SBE72-0588, SBE72-0640, SBE73-0209, SBE80-0024 and SBE80-0025.Copyright
© IAE International Aero Engines AG (2001, 2014 - 2021) The information contained in this document is the property of © IAE International Aero Engines AG and may not be copied or used for any purpose other than that for which it is supplied without the express written authority of © IAE International Aero Engines AG. (This does not preclude use by engine and aircraft operators for normal instructional, maintenance or overhaul purposes.).Applicability
All
Common Information
TASK 72-50-32-300-050 LPT Stage 3 Blade - Weld Build Up Repair The Knife Edge Seals, Repair-050 (VRS4297)
General
Price and availability - none
The practices and processes referred to in this procedure by the TASK number are in the SPM.
NOTE
NOTE
NOTE
NOTE
Preliminary Requirements
Pre-Conditions
NONESupport Equipment
| Name | Manufacturer | Part Number / Identification | Quantity | Remark |
|---|---|---|---|---|
| Shot peening equipment | LOCAL | Shot peening equipment | ||
| Dial caliper | LOCAL | Dial caliper | ||
| Gas furnace | LOCAL | Gas furnace | 2400 deg F box | |
| External grinding machine | LOCAL | External grinding machine | ||
| Radius gage set | LOCAL | Radius gage set | ||
| Roughness microtester | LOCAL | Roughness microtester | ||
| Tridimensional measuring unit | LOCAL | Tridimensional measuring unit | ||
| IAE 2M14195 Inspection mounting block | 0AM53 | IAE 2M14195 | 1 | |
| IAE 3M14411 Welding fixture | 0AM53 | IAE 3M14411 | 1 | |
| IAE 3M14466 Welding mounting block | 0AM53 | IAE 3M14466 | 1 | |
| IAE 3M14467 Grinding fixture | 0AM53 | IAE 3M14467 | 1 | |
| IAE 3M14524 Grinding mounting block | 0AM53 | IAE 3M14524 | 1 |
Consumables, Materials and Expendables
| Name | Manufacturer | Part Number / Identification | Quantity | Remark |
|---|---|---|---|---|
| CoMat 03-287 WELDING FILLER WIRE | LOCAL | CoMat 03-287 | ||
| CoMat 05-030 CAST STEEL SHOT DELETED | 0AM53 | CoMat 05-030 | ||
| CoMat 05-075 WATERPROOF SILICON CARBIDE | IE241 | CoMat 05-075 |
Spares
NONESafety Requirements
NONEProcedure
Use the IAE 3M14524 Grinding mounting block 1 off, IAE 3M14467 Grinding fixture 1 off and external grinding machine.
Refer to Figure.
Keep material removal to the minimum to allow subsequent repairs.
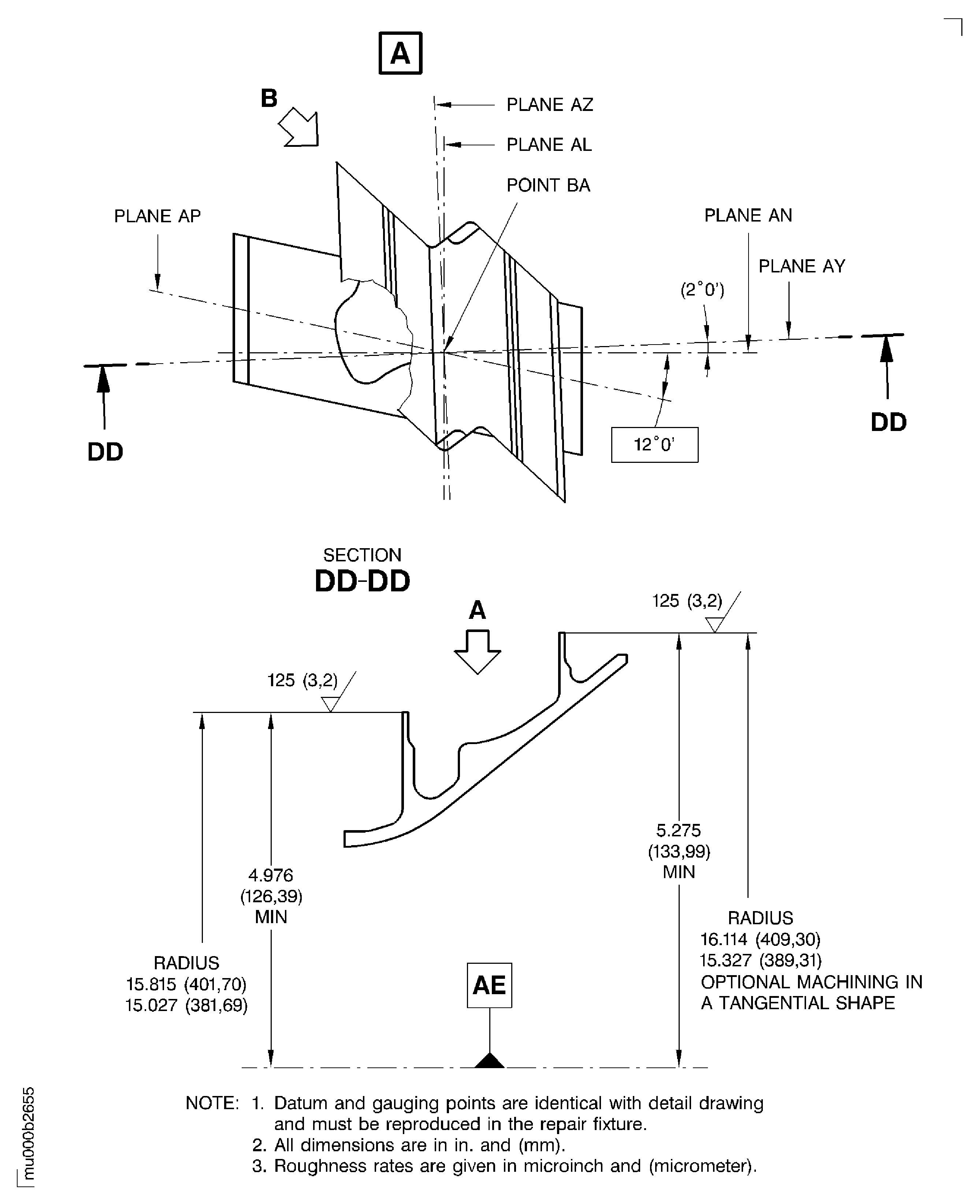
Machine the knife edge seals.
SUBTASK 72-50-32-324-055 Machine the Knife Edge Seals
Use the IAE IAE 2M14195 Inspection mounting block 1 off and the tridimensional measuring unit.
Refer to Figure.
Dimensionally examine.
SUBTASK 72-50-32-220-313 Examine the Machined Edge Seals
Refer to the SPM TASK 70-11-03-300-503.
Degrease.
SUBTASK 72-50-32-110-122 Clean the Stage 3 Turbine Blade
Use the IAE 3M14466 Welding mounting block 1 off and IAE 3M14411 Welding fixture 1 off.
Weld build-up sufficient material to do the final machining.
Refer to the SPM TASK 70-31-13-310-501.
Machining or manual tungsten inert gas welding is permitted.
Tungsten inert gas weld build-up seal fins.
SUBTASK 72-50-32-310-071 Weld-Up Repair the Knife Edge Seals
Refer to the SPM TASK 70-23-04-230-501.
Cracks in the knife edge welds can be repaired if they do not extend into the shroud.
Do the test for cracks.
SUBTASK 72-50-32-230-139 Examine the Welded Areas for Cracks
Use IAE 3M14524 Grinding mounting block 1 off, IAE 3M14467 Grinding fixture 1 off and external grinding fixture.
Use IAE 2M14195 Inspection mounting block 1 off, tridimensional measuring unit, dial caliper, dial gage set and roughness microtester.
Grind the seal tip radius, end faces, thickness and fillet radius.
SUBTASK 72-50-32-324-056 Machine the Welded Areas
Refer to the SPM TASK 70-23-05-230-501.
Cracks in the knife edge welds can be repaired.
For limits, refer to Repair VRS4204, TASK 72-50-32-300-026 (REPAIR-026).
Do the test for cracks.
SUBTASK 72-50-32-230-140 Examine the Stage 3 Turbine Blade for Cracks
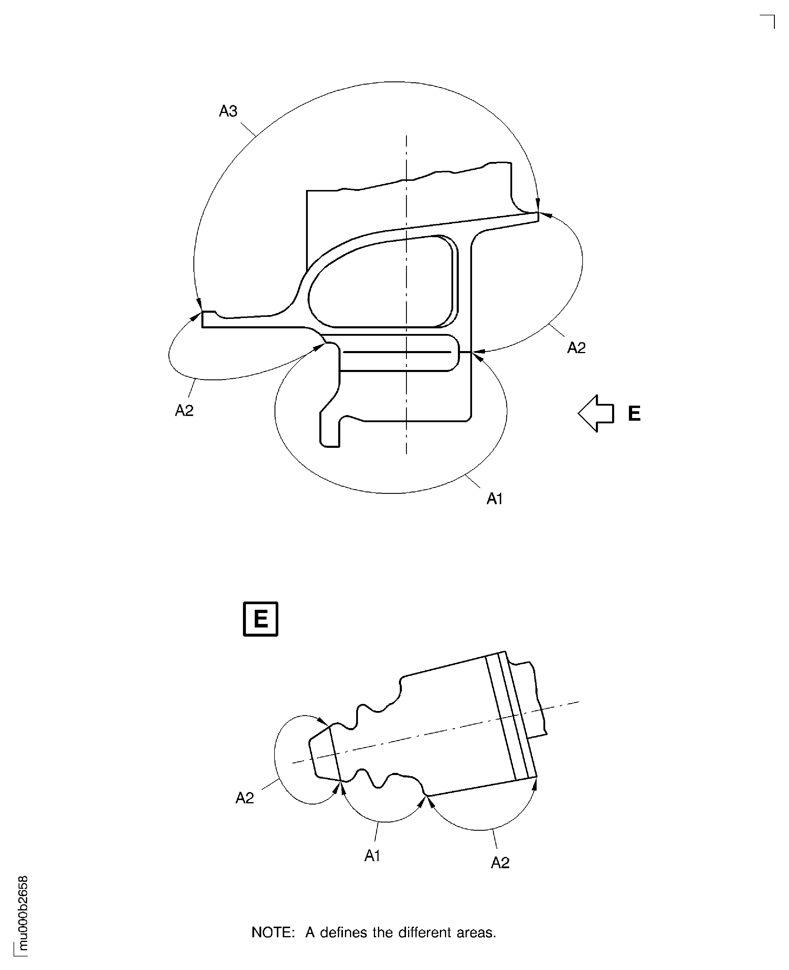
Mask area A3 as shown in Figure.
Mask the stage 3 turbine blade surfaces.
Refer to the SPM TASK 70-38-04-300-503.
Use CoMat 05-030 CAST STEEL SHOT DELETED to an intensity of 6A.
Shot-peening is permitted in area A2 but must not be complete.
Shot peen area A1.
SUBTASK 72-50-32-350-116 Shot-Peen the Surface A1 of the Stage 3 Turbine Blade
If any of these are unreadable, then make new marks.
Use the roll stamp method.
Refer to the SPM TASK 70-09-00-400-501.
Examine the blade length, part number, heat code and serial number markings.
If this marking is unreadable, then make a new mark.
Use the vibro-peen method.
Refer to the SPM TASK 70-09-00-400-501.
Examine the blade marking.
SUBTASK 72-50-32-220-314 Examine the Stage 3 Turbine Blade Markings
Refer to the SPM TASK 70-09-00-400-501.
Vibro-peen VRS4297 and the applicable beehive symbol adjacent to part number.
SUBTASK 72-50-32-320-086 Mark the Stage 3 Turbine Blade after Repair
Figure: Pre-machining the knife edge seals of the turbine blade
Pre-machining the knife edge seals of the turbine blade

Figure: Weld build-up and machining the knife edge seals of the turbine blade
Sheet 1

Figure: Weld build-up and machining the knife edge seals of the turbine blade
Sheet 2

Figure: Shot peening the blade root after weld build-up and machining the knife edge seals of the turbine blade
Shot peening the blade root after weld build-up and machining the knife edge seals of the turbine blade

