Export Control
EAR Export Classification: Not subject to the EAR per 15 C.F.R. Chapter 1, Part 734.3(b)(3), except for the following Service Bulletins which are currently published as EAR Export Classification 9E991: SBE70-0992, SBE72-0483, SBE72-0580, SBE72-0588, SBE72-0640, SBE73-0209, SBE80-0024 and SBE80-0025.Copyright
© IAE International Aero Engines AG (2001, 2014 - 2021) The information contained in this document is the property of © IAE International Aero Engines AG and may not be copied or used for any purpose other than that for which it is supplied without the express written authority of © IAE International Aero Engines AG. (This does not preclude use by engine and aircraft operators for normal instructional, maintenance or overhaul purposes.).Applicability
All
Common Information
TASK 72-50-32-300-018 LPT Stage 5 Blade - Weld Build Up Repair, Repair-018 (VRS4196)
General
Price and availability - none
The practices and processes referred to in the procedure by the TASK numbers are in the SPM.
NOTE
NOTE
NOTE
NOTE
Do not repair turbine blades with cracks extending into the outer shroud.
Before repair, write down turbine blade length dimension, part number, heat code, blade life figure and serial number.
Preliminary Requirements
Pre-Conditions
NONESupport Equipment
| Name | Manufacturer | Part Number / Identification | Quantity | Remark |
|---|---|---|---|---|
| Standard equipment | LOCAL | Standard equipment | ||
| Dial caliper | LOCAL | Dial caliper | ||
| External grinding machine | LOCAL | External grinding machine | ||
| Gas furnace | LOCAL | Gas furnace | 2400 deg F - box | |
| Radius gage set | LOCAL | Radius gage set | ||
| Roughness microtester | LOCAL | Roughness microtester | ||
| Tridimensional measuring unit | LOCAL | Tridimensional measuring unit | ||
| IAE 2M14183 Inspection mounting block | 0AM53 | IAE 2M14183 | 1 | |
| IAE 3M14413 Welding fixture | 0AM53 | IAE 3M14413 | 1 | |
| IAE 3M14418 Grinding fixture | 0AM53 | IAE 3M14418 | 1 | |
| IAE 3M14466 Welding mounting block | 0AM53 | IAE 3M14466 | 1 | |
| IAE 3M14524 Grinding mounting block | 0AM53 | IAE 3M14524 | 1 |
Consumables, Materials and Expendables
| Name | Manufacturer | Part Number / Identification | Quantity | Remark |
|---|---|---|---|---|
| CoMat 02-001 ADHESIVE TAPE (MASKING) | LOCAL | CoMat 02-001 | ||
| CoMat 03-112 WELDING WIRE | 07098 | CoMat 03-112 | ||
| CoMat 03-245 WELDING FILLER WIRE | LOCAL | CoMat 03-245 | ||
| CoMat 05-030 CAST STEEL SHOT DELETED | 0AM53 | CoMat 05-030 | ||
| CoMat 02-002 ADHESIVE TAPE GENERALPURPOSE PAPER | LOCAL | CoMat 02-002 |
Spares
NONESafety Requirements
NONEProcedure
Use IAE 3M14524 Grinding mounting block 1 off, the IAE 3M14418 Grinding fixture 1 off and the external grinding machine.
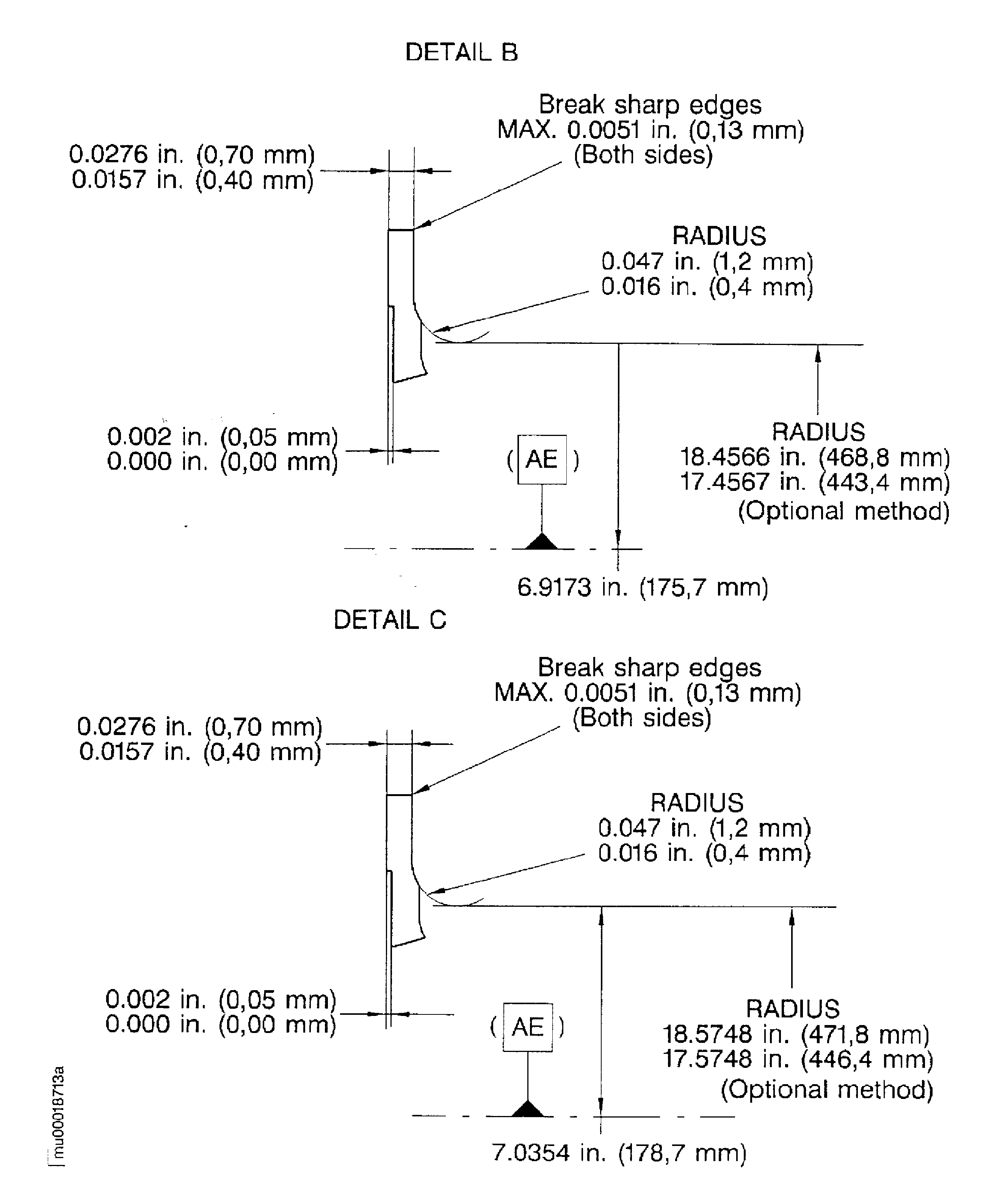
Refer to Figure.
Keep material removal to the minimum to allow subsequent repairs.
Machine the knife edge seals.
SUBTASK 72-50-32-325-053 Machine the Knife Edge Seals
Refer to the SPM TASK 70-11-01-300-503.
Vapor degrease.
SUBTASK 72-50-32-110-089 Clean the Turbine Blade
Refer to the SPM TASK 70-11-03-300-503.
Degrease.
SUBTASK 72-50-32-110-090 Clean the Turbine Blade
Use IAE 3M14466 Welding mounting block 1 off and the IAE 3M14413 Welding fixture 1 off.
Refer to Figure.
Weld build-up sufficient material to do final machining.
Refer to the SPM TASK 70-31-13-310-501.
Machine or manual tungsten inert gas welding is permitted.
Decrease temperature of the turbine blades to reduce heat affected zone to a mimimum.
Tungsten inert gas weld build-up seal fins.
SUBTASK 72-50-32-310-058 Weld-Up Repair the Knife Edge Seals
Refer to the SPM TASK 70-23-04-230-501.
Cracks in knife edge welds may be repaired providing they do not extend into the shroud.
Do the test for cracks.
SUBTASK 72-50-32-230-099 Examine the Welded Areas for Cracks
Use IAE 3M14524 Grinding mounting block 1 off, the IAE 3M14418 Grinding fixture 1 off and the external grinding machine.
Refer to Figure for finishing dimensions.
Use IAE 2M14183 Inspection mounting block 1 off, tridimensional measuring unit, dial caliper, dial gage and roughness microtester.
Grind seal tip radius, end faces, thickness and fillet radius.
SUBTASK 72-50-32-320-061 Machine the Welded Areas
Refer to the SPM TASK 70-23-05-230-501.
Cracks in knife edge welds may be repaired.
For limits refer to VRS4192 TASK 72-50-32-300-014 (REPAIR-014).
Do the test for cracks.
SUBTASK 72-50-32-230-100 Examine the Blade for Cracks
Refer to the SPM TASK 70-38-04-300-503.
Use CoMat 05-030 CAST STEEL SHOT DELETED to an intensity of 6A.
Shot peening is permitted in area A2 but must not be complete.
Shot peen area A1.
SUBTASK 72-50-32-350-096 Shot Peen the Surface A1 of the Turbine Blade
If any of these are unreadable, then make new marks.
Use the rolled stamp method.
Refer to the SPM TASK 70-09-00-400-501.
Examine the markings of the turbine blade length, part number, heat code and serial number.
If this marking is unreadable, then make a new mark.
Use the vibropeen method.
Refer to the SPM TASK 70-09-00-400-501.
Examine the marking of the turbine blade life.
SUBTASK 72-50-32-220-199 Examine the Blade Markings
Refer to the SPM TASK 70-09-00-400-501.
Vibropeen VRS4196 and applicable beehive symbol adjacent to the part number.
SUBTASK 72-50-32-320-062 Mark the Blade after Repair
Figure: Weld build-up the knife edge seals of the stage 5 turbine blade
Weld build-up the knife edge seals of the stage 5 turbine blade

Figure: Weld build-up the knife edge seals of the stage 5 turbine blade
Sheet 1

Figure: Weld build-up the knife edge seals of the stage 5 turbine blade
Sheet 2

Figure: Weld build-up the knife edge seals of the stage 5 turbine blade
Weld build-up the knife edge seals of the stage 5 turbine blade

