Export Control
EAR Export Classification: Not subject to the EAR per 15 C.F.R. Chapter 1, Part 734.3(b)(3), except for the following Service Bulletins which are currently published as EAR Export Classification 9E991: SBE70-0992, SBE72-0483, SBE72-0580, SBE72-0588, SBE72-0640, SBE73-0209, SBE80-0024 and SBE80-0025.Copyright
© IAE International Aero Engines AG (2001, 2014 - 2021) The information contained in this document is the property of © IAE International Aero Engines AG and may not be copied or used for any purpose other than that for which it is supplied without the express written authority of © IAE International Aero Engines AG. (This does not preclude use by engine and aircraft operators for normal instructional, maintenance or overhaul purposes.).Applicability
All
Common Information
TASK 72-50-33-300-018 LPT Stage 5 Rotating Airseal - Plasma Spray The Snap Diameter, Repair-018 (VRS4229)
General
Price and availability - none
The practices and processes referred to in the procedure by the TASK number are in the SPM.
It is not permitted to repair grown snap diameters.
NOTE
NOTE
NOTE
Preliminary Requirements
Pre-Conditions
NONESupport Equipment
| Name | Manufacturer | Part Number / Identification | Quantity | Remark |
|---|---|---|---|---|
| Chemical cleaning facility | LOCAL | Chemical cleaning facility | ||
| Crack inspection equipment | LOCAL | Crack inspection equipment | ||
| Machining facility | LOCAL | Machining facility | ||
| Table inspection facility | LOCAL | Table inspection facility | ||
| Thermal spraying facility | LOCAL | Thermal spraying facility | ||
| Marking equipment | LOCAL | Marking equipment | ||
| IAE 3M14296 Mounting adapter | 0AM53 | IAE 3M14296 | 1 | |
| IAE 3M14397 Turning fixture | 0AM53 | IAE 3M14397 | 1 | |
| IAE 3M14384 Base plate | 0AM53 | IAE 3M14384 |
Consumables, Materials and Expendables
| Name | Manufacturer | Part Number / Identification | Quantity | Remark |
|---|---|---|---|---|
| CoMat 02-047 TAPE, HEAT REFLECTIVE | 52152 | CoMat 02-047 | ||
| CoMat 02-050 HIGH TEMPERATURE GLASS CLOTH TAPE | 76381 | CoMat 02-050 | ||
| CoMat 03-089 METAL SPRAYING POWDER Ni/Al (95/5) | 00741 | CoMat 03-089 | ||
| CoMat 03-090 METAL SPRAYING POWDER Ni/Al (95/5) | 0AM53 | CoMat 03-090 | ||
| CoMat 05-046 ALUMINUM OXIDE GRIT | 62596 | CoMat 05-046 |
Spares
NONESafety Requirements
NONEProcedure
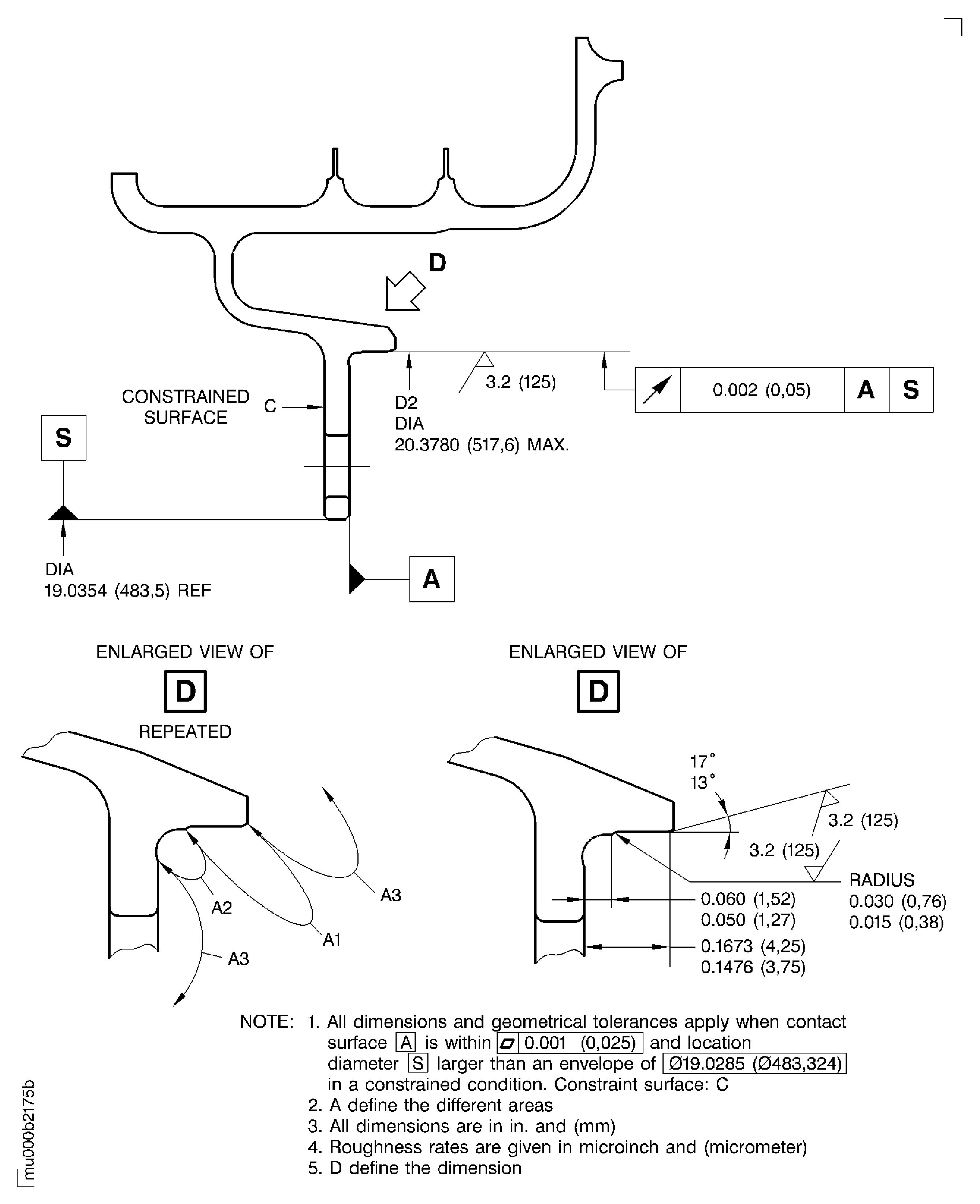
Refer to Figure.
Keep material removal to a minimum.
Remove the coating or damage fully.
Use IAE 3M14397 Turning fixture 1 off.
Machine the diameter D2 and chamfer.
SUBTASK 72-50-33-320-082 Machine the Diameter of the Stage 5 Turbine Airseal
NOTE
Remove the old coating fully, if the airseal diameter was plasma sprayed before.Refer to Figure.
Examine dimensionally the machined surfaces.
SUBTASK 72-50-33-220-136 Examine the Machined Areas
Refer to the SPM TASK 70-11-34-300-503.
Aqueous degrease the stage 5 turbine airseal.
SUBTASK 72-50-33-110-070 Clean the Stage 5 Turbine Airseal
Mask the areas A3.
The surface texture must be 120 to 200 microinch RMS (3.0 to 5.0 micrometer Ra).
Blasting in area A2 is permitted.
Refer to the SPM TASK 70-34-03-340-501 and Figure.
Grit blast the areas A1.
SUBTASK 72-50-33-340-007 Prepare the Surfaces for the Plasma Spray Procedure
Refer to Figure.
Make sure that there is sufficient material to do last machining.
Refer to the SPM TASK 70-34-03-340-501.
Use CoMat 03-089 METAL SPRAYING POWDER Ni/Al (95/5) or CoMat 03-090 METAL SPRAYING POWDER Ni/Al (95/5).
Coating in area A2 is permitted if it was blasted before and must be removed subsequently.
Use IAE 3M14384 Base plate 1 off and IAE 3M14296 Mounting adapter 1 off.
Plasma spray the area A1.
SUBTASK 72-50-33-340-008 Plasma Spray the Prepared Surfaces
For dimensions refer to Figure.
Refer to the SPM TASK 70-34-03-340-501.
Use IAE 3M14397 Turning fixture 1 off.
Machine the coated areas and chamfers.
SUBTASK 72-50-33-320-083 Machine the Coated Area
Refer to the SPM TASK 70-11-34-300-503.
Aqueous degrease the stage 5 turbine airseal.
SUBTASK 72-50-33-110-072 Clean the Stage 5 Turbine Airseal
Refer to Figure.
Examine the machined areas dimensionally.
SUBTASK 72-50-33-220-137 Do the Post Repair Inspection
Refer to the SPM TASK 70-09-00-400-501 for mechanical or manual vibro-peening. Up to 0.002 in. (0.05 mm) maximum depth.
Vibro-peen VRS4229 and applicable beehive symbol adjacent to the part number.
SUBTASK 72-50-33-380-063 Make a Mark to Identify the Repair
Refer to TASK 72-50-33-300-019, (REPAIR-019), VRS4230.
Rebalance the stage 5 turbine seal.
SUBTASK 72-50-33-350-102 Do the Post Repair
Figure: Dimensions and areas before plasma spraying
Dimensions and areas before plasma spraying

Figure: Dimensions and areas after plasma spraying
Dimensions and areas after plasma spraying

