Export Control
EAR Export Classification: Not subject to the EAR per 15 C.F.R. Chapter 1, Part 734.3(b)(3), except for the following Service Bulletins which are currently published as EAR Export Classification 9E991: SBE70-0992, SBE72-0483, SBE72-0580, SBE72-0588, SBE72-0640, SBE73-0209, SBE80-0024 and SBE80-0025.Copyright
© IAE International Aero Engines AG (2001, 2014 - 2021) The information contained in this document is the property of © IAE International Aero Engines AG and may not be copied or used for any purpose other than that for which it is supplied without the express written authority of © IAE International Aero Engines AG. (This does not preclude use by engine and aircraft operators for normal instructional, maintenance or overhaul purposes.).Applicability
All
Common Information
TASK 72-50-53-200-013 No. 5 Bearing Carbon Seal Housing - Examine, Inspection-013
General
This TASK gives the procedure for the inspection of the No. 5 bearing seal housing. For the other parts of the exhaust case and fittings refer to TASK 72-50-53-200-000 (INSPECTION-000).
Fig/item numbers in parentheses in the procedure agree with those used in the IPC.
The policy that is necessary for inspection is given in the SPM TASK 70-20-00-200-501.
All the parts must be cleaned before any part is examined. Refer to TASK 72-50-53-100-000 (CLEANING-000).
All parts must be visually examined for damage, corrosion and wear. Any defects that are not identified in the procedure must be referred to IAE.
Do not discard any part until you are sure there are no repairs available. Refer to the instructions in Repair before a discarded part is used again or oversize parts are installed.
Parts which should be discarded can be held although no repair is available. The repair of a discarded part could be shown to be necessary at a later date.
All parts must be examined to make sure that all the repairs have been completed satisfactorily.
The practices and processes referred to in the procedure by the TASK numbers are in the SPM.
References
Refer to the SPM for data on these items.
Definitions of Damage SPM TASK 70-02-02-350-501
Some data on these items is contained in this TASK. For more data on these items refer to the SPM.
Method of testing for crack indications
Chemical Process
Surface Protection
Inspection of Parts, SPM TASK 70-20-00-200-501
Preliminary Requirements
Pre-Conditions
NONESupport Equipment
NONEConsumables, Materials and Expendables
NONESpares
NONESafety Requirements
NONEProcedure
Clean the part. Refer to TASK 72-50-53-100-000 (CLEANING-000).
Do the test for cracks on the part that is given below. Use the applicable penetrant inspection.
PART IDENT
TASK/SUBTASK
No. 5 bearing seal housing
SPM TASK 70-23-01-230-501 (Dip or spray)
SUBTASK 72-50-53-230-079-001 Examine the No. 5 Bearing Seal Housing (21-020) for Cracks
Clean the part. Refer to TASK 72-50-53-100-000 (CLEANING-000).
Do the test for cracks on the part that is given below. Use the applicable penetrant inspection.
PART IDENT
TASK/SUBTASK
No. 5 bearing seal housing
SPM TASK 70-23-02-230-501 (Dip or spray)
SUBTASK 72-50-53-230-079-002 Examine the No. 5 Bearing Seal Housing (21-020) for Cracks
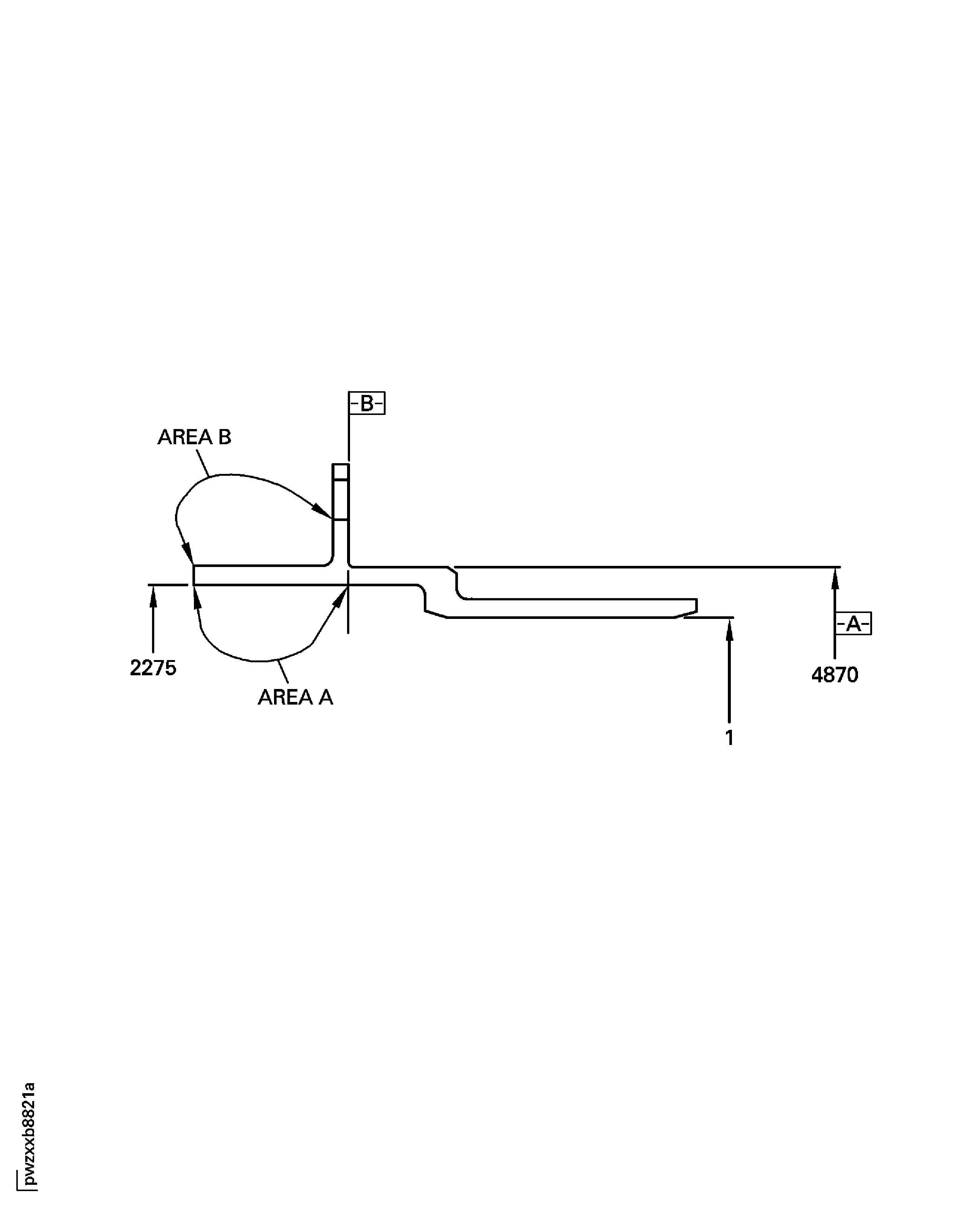
Refer to: Figure
Repair, VRS3121 TASK 72-50-53-300-066 (REPAIR-066)
If less than 5.753 in. (146.127 mm)
Diameter.
Repair, VRS3121 TASK 72-50-53-300-066 (REPAIR-066)
Other than (a)
Perpendicularity.
Examine the housing diameter and perpendicularity.
SUBTASK 72-50-53-220-166 Examine the No. 5 Bearing Seal Housing (21-020) Outer Diameter at Location 4870
Refer to Figure.
Repair, VRS3126 TASK 72-50-53-300-067 (REPAIR-067)
If more than 5.199 in. (132.05 mm).
Diameter.
Repair, VRS3126 TASK 72-50-53-300-067 (REPAIR-067)
Other than (a)
Circular runout.
Examine the seal housing diameter and concentricity.
SUBTASK 72-50-53-220-167 Examine the No. 5 Bearing Seal Housing (21-020) at Location 1
Refer to Figure.
Repair, VRS3127 TASK 72-50-53-300-068 (REPAIR-068)
If more than 5.555 in. (141.10 mm)
Diameter.
Repair, VRS3127 TASK 72-50-53-300-068 (REPAIR-068)
Other than (a)
Circular runout.
Examine the carbon seal housing diameter and concentricity.
Repair, VRS3127 TASK 72-50-53-300-068 (REPAIR-068)
More than (a)
Grooved circumferential at Area A.
Repair, VRS3127 TASK 72-50-53-300-068 (REPAIR-068)
Raised material at Area A
Examine the carbon seal housing for grooves, raised material, nicks, scratches or dents.
SUBTASK 72-50-53-220-168 Examine the No. 5 Bearing Carbon Seal Housing (21-020) at Location 2275
Figure: No. 5 Bearing Carbon Seal Housing Inspection Locations
No. 5 Bearing Carbon Seal Housing Inspection Locations

