Export Control
EAR Export Classification: Not subject to the EAR per 15 C.F.R. Chapter 1, Part 734.3(b)(3), except for the following Service Bulletins which are currently published as EAR Export Classification 9E991: SBE70-0992, SBE72-0483, SBE72-0580, SBE72-0588, SBE72-0640, SBE73-0209, SBE80-0024 and SBE80-0025.Copyright
© IAE International Aero Engines AG (2001, 2014 - 2021) The information contained in this document is the property of © IAE International Aero Engines AG and may not be copied or used for any purpose other than that for which it is supplied without the express written authority of © IAE International Aero Engines AG. (This does not preclude use by engine and aircraft operators for normal instructional, maintenance or overhaul purposes.).Applicability
All
Common Information
TASK 72-60-41-300-009 Angle Gearbox Casing - Nickel Plate The Bearing Mating Surface, Repair-009 (VRS5105)
General
Price and availability - none
The practices and processes referred to in the procedure by the TASK numbers are in the SPM
NOTE
Preliminary Requirements
Pre-Conditions
NONESupport Equipment
| Name | Manufacturer | Part Number / Identification | Quantity | Remark |
|---|---|---|---|---|
| Workshop inspection equipment | LOCAL | Workshop inspection equipment | ||
| Grinding Machine | LOCAL | Grinding Machine | ||
| FPI Inspection station | LOCAL | FPI Inspection station | ||
| Basket | LOCAL | Basket | ||
| Vapor Degreaser | LOCAL | Vapor Degreaser | ||
| Process Plating Tanks | LOCAL | Process Plating Tanks | ||
| Oven | LOCAL | Oven | ||
| Magnifying Glass, 4x | LOCAL | Magnifying Glass, 4x | ||
| Vibrating Marking Pencil | LOCAL | Vibrating Marking Pencil |
Consumables, Materials and Expendables
| Name | Manufacturer | Part Number / Identification | Quantity | Remark |
|---|---|---|---|---|
| CoMat 02-067 STRIPPABLE COATING | 71410 | CoMat 02-067 |
Spares
NONESafety Requirements
NONEProcedure
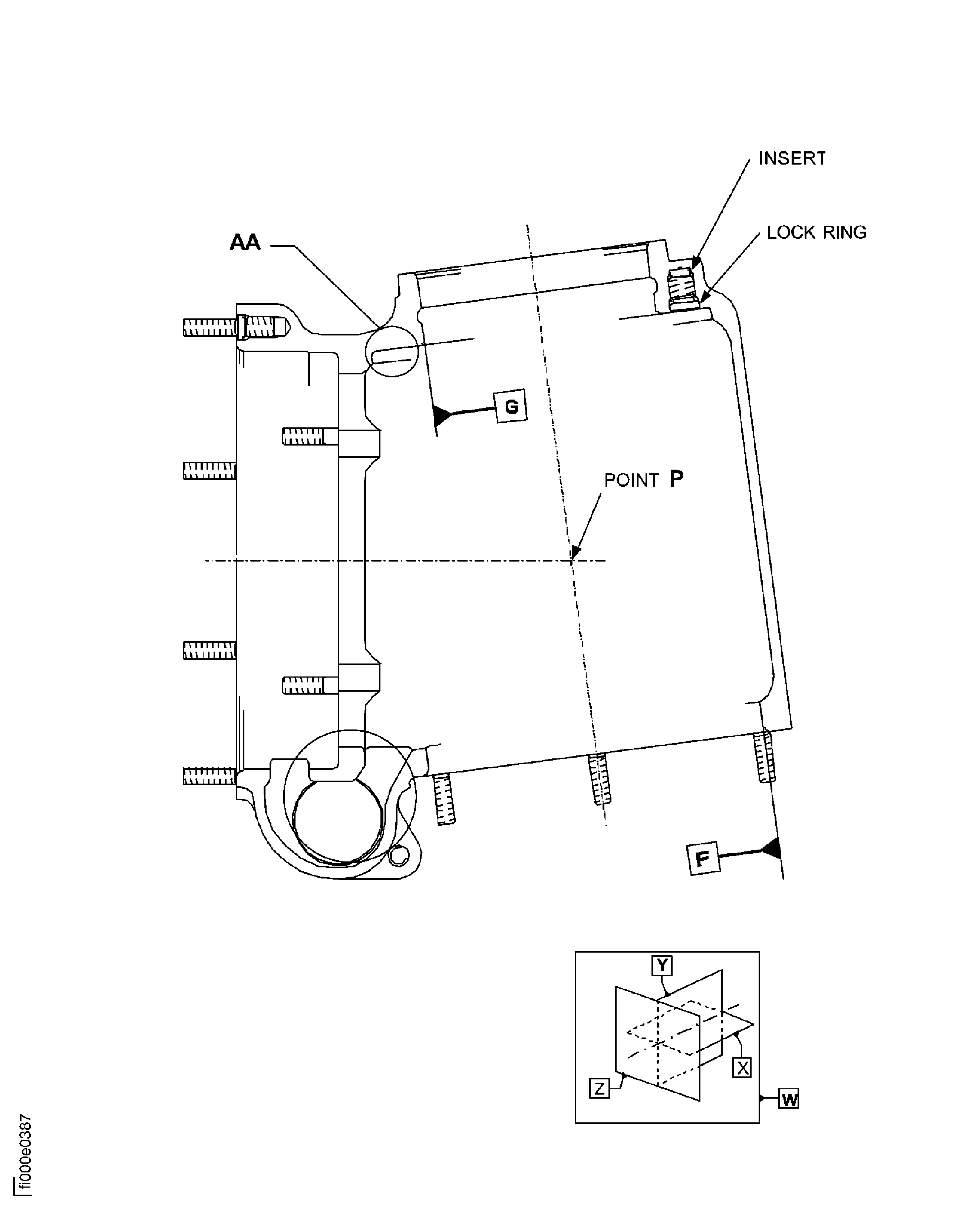
Refer to Figure.
Refer to Repair, VRS5256, TASK 72-60-21-300-005, (REPAIR-005).
Remove the inserts and the lock rings.
SUBTASK 72-60-41-330-068 Remove the Inserts
Refer to SPM TASK 70-23-05-230-501.
No cracks are permitted.
Do the local fluorescent penetrant inspection for cracks.
SUBTASK 72-60-41-220-099 Examine the Angle Gearbox Casing
Refer to SPM TASK 70-33-08-300-503 for final plating thickness up to 0.0039 in. (0.1 mm).
Refer to SPM TASK 70-33-92-300-503 for final plating thickness up to 0.0078 in. (0.2 mm).
Do the nickel plating.
SUBTASK 72-60-41-330-069 Nickel Plate the Bearing Mating Surface of the Angle Gearbox Casing
When you use SPM TASK 70-33-08-300-503, the final plating thickness must be between 0.0002 in. and 0.0039 in. (0.005 mm and 0.100 mm).
When you use SPM TASK 70-33-92-300-503, the final plating thickness must be between 0.0006 in. and 0.0078 in. (0.015 mm and 0.200 mm).
Machine the bearing mating surface.
SUBTASK 72-60-41-320-070 Machine the Bearing Mating Surface of the Angle Gearbox Casing
Use a Magnifying Glass, 4x. The natural network of crack, emphasized by grinding, is permitted.
Do the visual inspection of the plated area for cracks and adhesion.
SUBTASK 72-60-41-220-100 Examine the Nickel Plated Area
Refer to Figure.
Refer to Repair, VRS5256 TASK 72-60-21-300-005 (REPAIR-005).
Install the new inserts and the new lock rings.
SUBTASK 72-60-41-350-077 Install the New Inserts
Refer to SPM TASK 70-09-00-400-501.
Make a mark VRS5105 adjacent to the part number.
SUBTASK 72-60-41-350-078 Record the Repair
Figure: Nickel plate the bearing mating surface of the angle gearbox casing
Nickel plate the bearing mating surface of the angle gearbox casing

Figure: Nickel plate the bearing mating surface of the angle gearbox casing
Nickel plate the bearing mating surface of the angle gearbox casing

