Export Control
EAR Export Classification: Not subject to the EAR per 15 C.F.R. Chapter 1, Part 734.3(b)(3), except for the following Service Bulletins which are currently published as EAR Export Classification 9E991: SBE70-0992, SBE72-0483, SBE72-0580, SBE72-0588, SBE72-0640, SBE73-0209, SBE80-0024 and SBE80-0025.Copyright
© IAE International Aero Engines AG (2001, 2014 - 2021) The information contained in this document is the property of © IAE International Aero Engines AG and may not be copied or used for any purpose other than that for which it is supplied without the express written authority of © IAE International Aero Engines AG. (This does not preclude use by engine and aircraft operators for normal instructional, maintenance or overhaul purposes.).Applicability
All
Common Information
TASK 72-60-42-200-007 Angle Gearbox Oil Duct - Examine, Inspection-007
General
This TASK gives the procedure for the inspection of the oil duct.
Fig/item numbers in parentheses in the procedure agree with those used in the IPC.
The policy that is necessary for inspection is given in the SPM TASK 70-20-01-200-501.
All parts must be cleaned before any part is examined. Refer to the SPM TASK 70-11-03-300-503.
All parts must be visually examined for damage, corrosion and wear. Any defects that are not identified in the procedure must be referred to IAE.
The practices and processes referred to in the procedure by TASK number are in the SPM.
Reference
Refer to the SPM for data on these items:
Definition of damage SPM TASK 70-02-02-350-501.
Record and Control of the Lives of the Parts, SPM TASK 70-05-00-220-501.
Inspection of Parts, SPM TASK 70-20-01-200-501.
Some data on these items are contained in this TASK. For more data on these items refer to the SPM.
Methods of Testing for Crack Indications
Chemical Processes
Surface Protection.
Preliminary Requirements
Pre-Conditions
NONESupport Equipment
NONEConsumables, Materials and Expendables
NONESpares
NONESafety Requirements
NONEProcedure
Clean the parts. Refer to TASK 72-60-42-100-000 (CLEANING-00).
SUBTASK 72-60-42-230-062 Do a Crack test on the Oil Duct (01-130) (Fluorescent Penetrant)
Refer to Figure.
Repair, VRS5662 V2500-A0-72-60-4205-02A-647A-C (REPAIR-036).
Less than 1.9205 in. (48.780 mm)
Diameter.
Repair, VRS5662 V2500-A0-72-60-4205-02A-647A-C (REPAIR-036).
More than in Step
Concentricity.
Repair, VRS5662 V2500-A0-72-60-4205-02A-647A-C (REPAIR-036)
More than in Step
Frettage.
Damage on the surface.
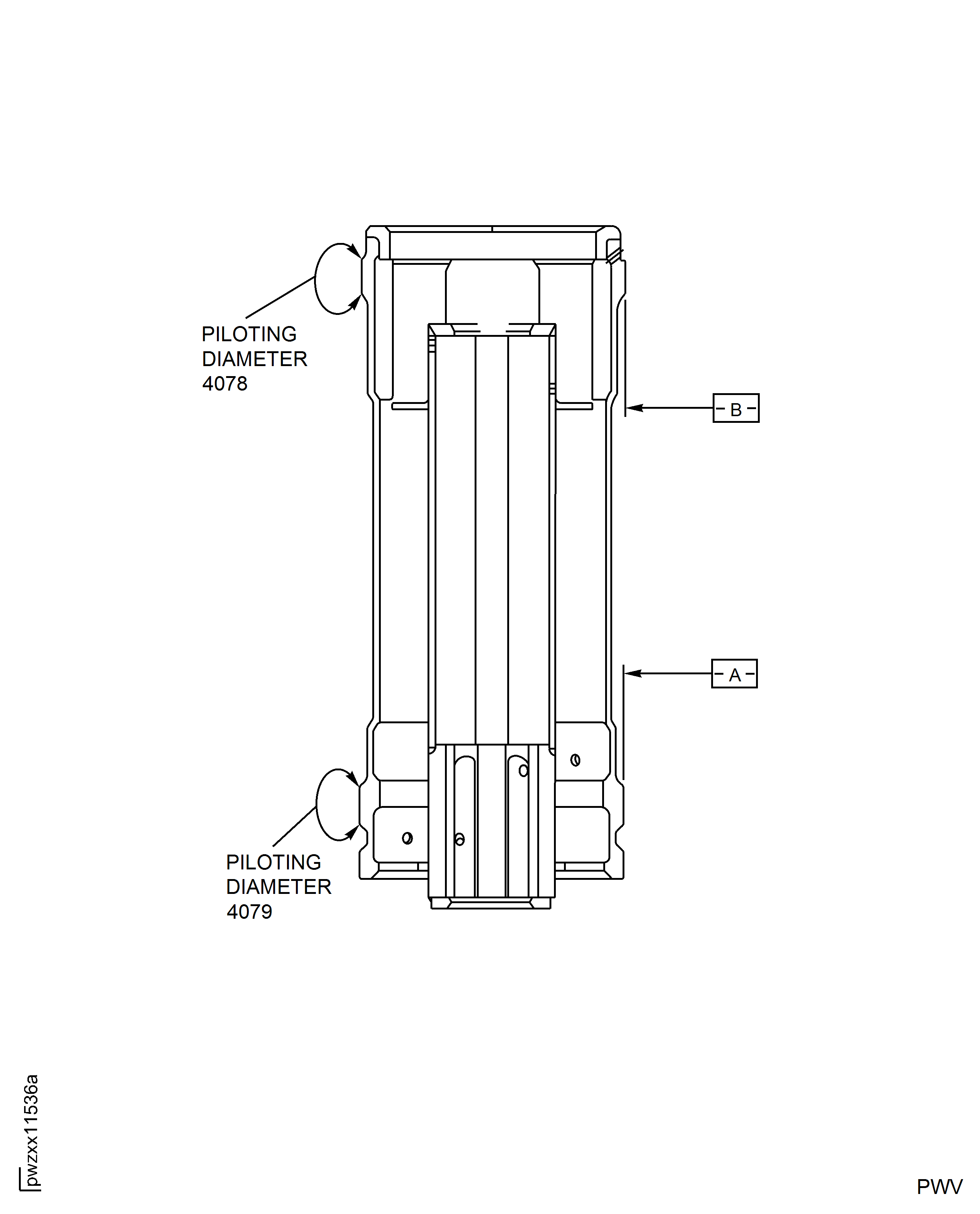
SUBTASK 72-60-42-220-071 Examine the Oil Duct (01-130) Piloting Diameter at Location 4078
Refer to Figure.
Repair, VRS5687 TASK 72-60-42-300-037 (REPAIR-037).
Less than 1.9360 in. (49.175 mm)
Diameter.
Repair, VRS5687 TASK 72-60-42-300-037 (REPAIR-037).
More than in Step
Frettage.
Damage on the surface.
SUBTASK 72-60-42-220-072 Examine the Oil Duct (01-130) Piloting Diameter at Location 4079
Figure: Locations - Oil Duct
Locations - Oil Duct

