Export Control
EAR Export Classification: Not subject to the EAR per 15 C.F.R. Chapter 1, Part 734.3(b)(3), except for the following Service Bulletins which are currently published as EAR Export Classification 9E991: SBE70-0992, SBE72-0483, SBE72-0580, SBE72-0588, SBE72-0640, SBE73-0209, SBE80-0024 and SBE80-0025.Copyright
© IAE International Aero Engines AG (2001, 2014 - 2021) The information contained in this document is the property of © IAE International Aero Engines AG and may not be copied or used for any purpose other than that for which it is supplied without the express written authority of © IAE International Aero Engines AG. (This does not preclude use by engine and aircraft operators for normal instructional, maintenance or overhaul purposes.).Applicability
All
Common Information
TASK 75-24-49-200-106-B00 LPT ACC Cooling Air Ducts - Examine The Upper Duct, Inspection-006
General
This TASK gives the procedure for the inspection of the cooling air duct assembly.
Fig/item numbers in parentheses in the procedure agree with those used in the IPC.
The policy that is necessary for inspection is given in the SPM TASK 70-20-00-200-501.
All the parts must be cleaned before any part is examined. Refer to Cleaning-000 TASK 75-24-49-100-100.
All parts must be visually examined for damage, corrosion and wear. Any defects that are not identified in the procedure must be referred to IAE.
The procedure for those parts which must have a crack test is given in Step and Step Do the test before the part is visually examined. Limits for cracks are given in the SUBTASK for each part.
Do not discard any part until you are sure there are no repairs available. Refer to the instructions in Repair before a discarded part is used again or oversize parts are installed.
Parts which should be discarded can be held although no repair is available. The repair of a discarded part could be shown to be necessary at a later date.
All parts must be examined to make sure that all the repairs have been completed satisfactorily.
The practices and processes referred to in the procedure by the TASK numbers are in the SPM.
References
Refer to the SPM for data on these items.
Definitions of Damage, Refer to SPM TASK 70-02-02-350-501.
Record and Control of the Lives of Parts, Refer to SPM TASK 70-05-00-220-501.
Inspection of Parts, Refer to SPM TASK 70-20-00-200-501.
Some data on these items is contained in this TASK. For more data on these items refer to the SPM.
Method of Testing for Crack Indications.
Chemical Processes.
Surface Protection.
Preliminary Requirements
Pre-Conditions
NONESupport Equipment
NONEConsumables, Materials and Expendables
NONESpares
NONESafety Requirements
NONEProcedure
Fluorescent penetrant examine for cracks. Refer to SPM TASK 70-23-02-230-501.
NOTE
For the method to clean the part, refer to SPM TASK 70-11-03-300-503.Clean as referred to in Cleaning-003 TASK 75-24-49-100-103.
Do the test for cracks.
Repair VRS4398 (Repair-038) TASK 75-24-49-300-038.
Cracked in any area.
SUBTASK 75-24-49-230-094 Examine the Housing of the Cooling Air Duct Assembly (02-010) for cracks
Fluorescent penetrant examine for cracks. Refer to SPM TASK 70-23-02-230-501.
NOTE
For the method to clean the part, refer to SPM TASK 70-11-03-300-503.Clean as referred to in Cleaning-003 TASK 75-24-49-100-103.
Do the test for cracks.
Repair, VRS4398 (Repair-038) TASK 75-24-49-300-038 or Repair, VRS4396 (Repair-036) TASK 75-24-49-300-036.
Cracked in any area.
SUBTASK 75-24-49-230-095 Examine the Tubes of the Cooling Air Duct Assembly (02-010) for Cracks
Refer to Figure.
Accept
Up to 0.005 in. (0.13 mm) depth no raised material.
Repair VRS4397 (Repair-037) TASK 75-24-49-300-037.
Up to 0.006 in. (0.15 mm) depth no raised material.
Repair VRS4398 (Repair-038) TASK 75-24-49-300-038.
More than in Step.
Nicked
Accept
Dented up to 0.015 in. (0.38 mm) depth.
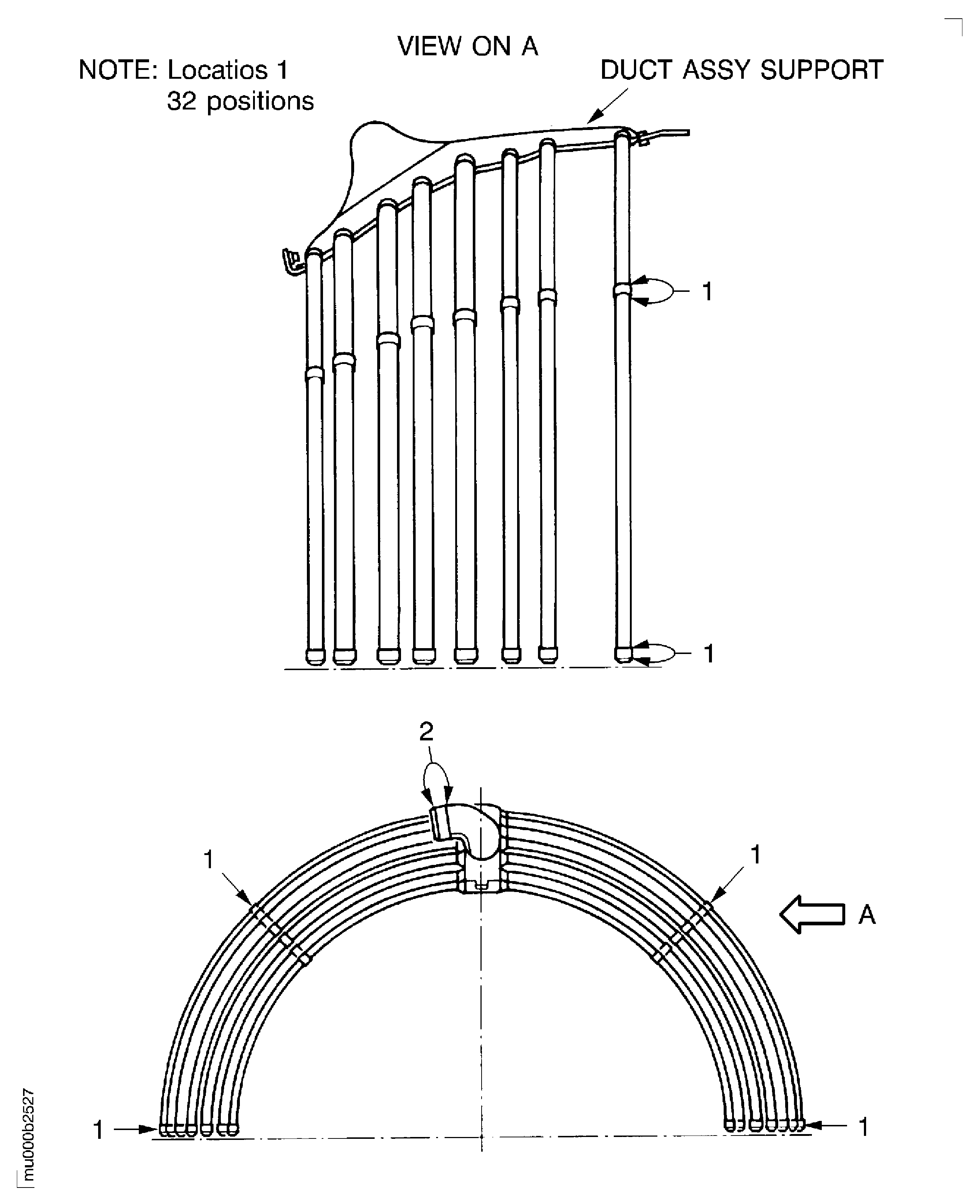
Examine the duct housing complete surface, except area 2.
Repair VRS4397 (Repair-037) TASK 75-24-49-300-037.
With raised material or up to 0.006 in. (0.15 mm).
Repair VRS4396 (Repair-036) TASK 75-24-49-300-036.
Nicked
Repair VRS4396 (Repair-036) TASK 75-24-49-300-036.
Other than in Step.
Dented
Examine the duct tubes complete surface, except area 1.
Accept
Wear, 0.005 in. (0.13 mm) depth no raised material.
Repair VRS4397 (Repair-037) TASK 75-24-49-300-037.
Wear, 0.005 in. (0.13 mm) depth, raised material.
Repair VRS4398 (Repair-038) TASK 75-24-49-300-038.
Wear, 0.015 in. (0.38 mm) depth.
Repair VRS4396 (Repair-036) TASK 75-24-49-300-036.
More than in Step.
Examine the duct at area 1.
Repair VRS4397 (Repair-037) TASK 75-24-49-300-037.
Raised material.
Repair VRS4398 (Repair-038) TASK 75-24-49-300-038.
More than in Step.
Examine the duct at area 2.
SUBTASK 75-24-49-220-116 Examine the Cooling Air Duct Assembly (02-010)
Repair VRS4395 (Repair-035) TASK 75-24-49-300-035.
Loose support rivets.
Repair VRS4395 (Repair-035) TASK 75-24-49-300-035.
Loose anchor nut rivets.
Repair VRS4395 (Repair-035) TASK 75-24-49-300-035.
Worn or damaged anchor nuts.
Repair VRS4395 (Repair-035) TASK 75-24-49-300-035.
Bent or cracked supports.
Examine the complete duct assembly supports.
SUBTASK 75-24-49-220-117 Examine the Duct Assembly Supports
Figure: Inspection of the Cooling Air Duct Assembly
Inspection of the Cooling Air Duct Assembly

