Export Control
EAR Export Classification: Not subject to the EAR per 15 C.F.R. Chapter 1, Part 734.3(b)(3), except for the following Service Bulletins which are currently published as EAR Export Classification 9E991: SBE70-0992, SBE72-0483, SBE72-0580, SBE72-0588, SBE72-0640, SBE73-0209, SBE80-0024 and SBE80-0025.Copyright
© IAE International Aero Engines AG (2001, 2014 - 2021) The information contained in this document is the property of © IAE International Aero Engines AG and may not be copied or used for any purpose other than that for which it is supplied without the express written authority of © IAE International Aero Engines AG. (This does not preclude use by engine and aircraft operators for normal instructional, maintenance or overhaul purposes.).Applicability
All
Common Information
TASK 79-22-41-200-408-A00 Oil Scavenge Pump - Related Parts - Examine The Cover Assembly, Inspection-008
General
This TASK gives the procedure for the inspection of the cover assembly. For the other parts of the oil scavenge pump assembly, refer to Inspection-000 TASK 79-22-41-200-400.
Fig/item numbers in parentheses in the procedure agree with those used in the IPC.
The policy that is necessary for inspection is given in SPM TASK 70-20-01-200-501.
All parts must be visually examined for damage, corrosion and wear. Any defects that are not identified in the procedure must be referred to IAE.
Do not discard any part until you are sure there are no repairs available. Refer to the instructions in repair before a discarded part is used again or oversize parts are installed.
Parts which should be discarded can be held although no repair is available. The repair of a discarded part could be shown to be necessary at a later date.
All parts must be examined to make sure that all the repairs have been completed satisfactorily.
Do dimensional inspections only if the visual inspection or some other condition makes it necessary.
The practices and processes referred to in the procedure by the TASK numbers are in the SPM.
References
Refer to the SPM for data on these items.
Definitions of Damage, SPM TASK 70-02-02-350-501.
Record and Control of the Lives of Parts, SPM TASK 70-05-00-220-501.
Inspection of Parts, SPM TASK 70-20-00-200-501.
Some data on these items is contained in this TASK. For more data on these items refer to the SPM.
Method of Testing for Crack Indications
Chemical Processes
Surface Protection
Preliminary Requirements
Pre-Conditions
NONESupport Equipment
| Name | Manufacturer | Part Number / Identification | Quantity | Remark |
|---|---|---|---|---|
| Workshop inspection equipment | LOCAL | Workshop inspection equipment |
Consumables, Materials and Expendables
NONESpares
NONESafety Requirements
NONEProcedure
Clean the part. Refer to Cleaning-000 TASK 79-22-41-100-400.
Reject
Cracked
Reject
Trough porosity
Cover Assembly. Refer to SPM TASK 70-23-01-230-501.
Do the test for cracks on the part that is given below.
SUBTASK 79-22-41-230-167 Do a Crack Test on the Cover Assembly (Fluorescent Penetrant)
Reject
Evident cracks
SUBTASK 79-22-41-220-199 Examine the Cover Assembly All Areas
Repair, VRS5348 (Repair-013) TASK 79-22-41-300-013.
More than Step.
Nicked, scored, dented or scratched.
SUBTASK 79-22-41-220-200 Examine the Cover Assembly Machined (non seal) Surfaces at Location 1
Repair, VRS5348 (Repair-013) TASK 79-22-41-300-013.
More than Step.
Nicked, scored, dented or scratched.
SUBTASK 79-22-41-220-201 Examine the Cover Assembly Machined Seal Surfaces at Location 2
Repair, VRS5348 (Repair-013) TASK 79-22-41-300-013.
More than Step.
Nicked, scored, dented or scratched.
SUBTASK 79-22-41-220-202 Examine the Cover Assembly Rough Surfaces at Location 3
Repair, VRS5349 (Repair-014) TASK 79-22-41-300-014.
Light corrosion or pitting.
SUBTASK 79-22-41-220-203 Examine the Cover Assembly Protective Finish
Accept
Between 4.998 and 4.9961 in. (126.95 and 126.9 mm).
Repair, VRS5351 (Repair-016) TASK 79-22-41-300-016.
Less than 4.9961 in. (126.9 mm).
Diameter
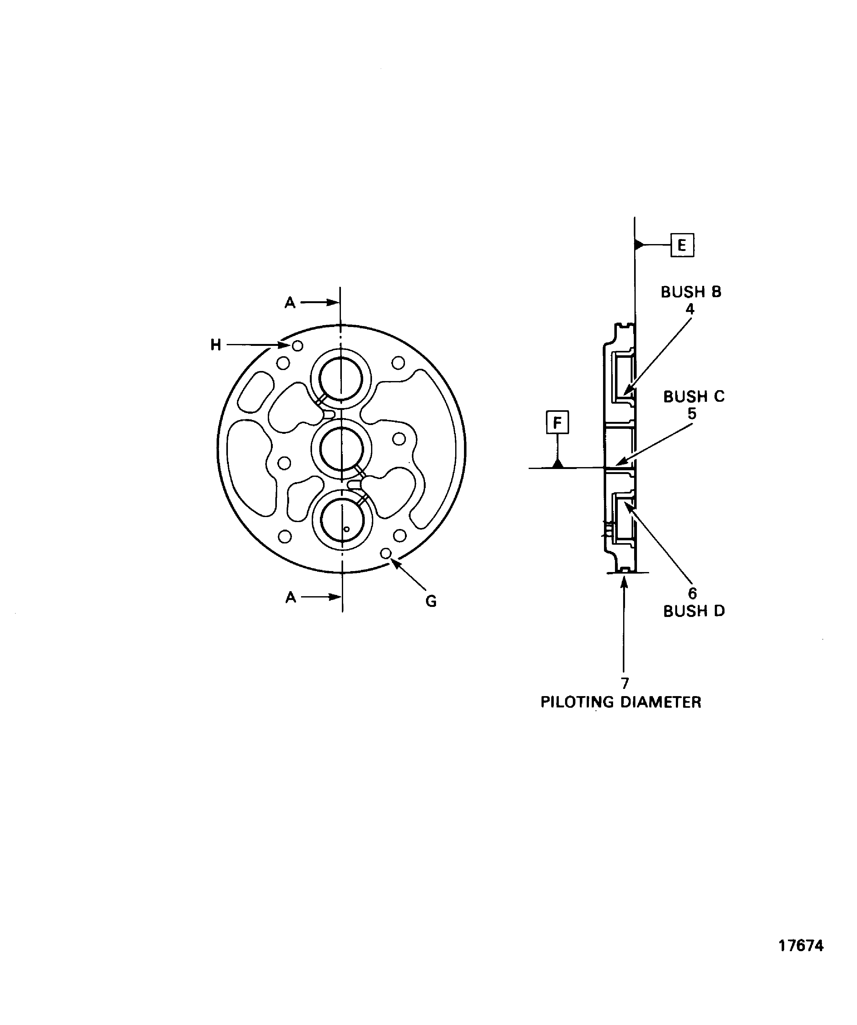
79-22-41-220-207 Examine the Cover Assembly Piloting Diameter at Location 7
Figure: Locations on the Cover Assembly
Locations on the Cover Assembly

Locations on the Cover Assembly

