Export Control
EAR Export Classification: Not subject to the EAR per 15 C.F.R. Chapter 1, Part 734.3(b)(3), except for the following Service Bulletins which are currently published as EAR Export Classification 9E991: SBE70-0992, SBE72-0483, SBE72-0580, SBE72-0588, SBE72-0640, SBE73-0209, SBE80-0024 and SBE80-0025.Copyright
© IAE International Aero Engines AG (2001, 2014 - 2021) The information contained in this document is the property of © IAE International Aero Engines AG and may not be copied or used for any purpose other than that for which it is supplied without the express written authority of © IAE International Aero Engines AG. (This does not preclude use by engine and aircraft operators for normal instructional, maintenance or overhaul purposes.).Applicability
All
Common Information
TASK 79-22-41-200-409 Oil Scavenge Pump - Related Parts - Examine The Drive Gear Assembly, Inspection-009
General
CAUTION
This TASK gives the procedure for the inspection of the drive gear assembly. For the other parts of the oil scavenge pump assembly, refer to Inspection-000 TASK 79-22-41-200-400.
Fig/item numbers in parentheses in the procedure agree with those used in the IPC.
The policy that is necessary for inspection is given in SPM TASK 70-20-01-200-501.
All parts must be visually examined for damage, corrosion and wear. Any defects that are not identified in the procedure must be referred to IAE.
Do not discard any part until you are sure there are no repairs available. Refer to the instructions in repair before a discarded part is used again or oversize parts are installed.
Parts which should be discarded can be held although no repair is available. The repair of a discarded part could be shown to be necessary at a later date.
All parts must be examined to make sure that all the repairs have been completed satisfactorily.
The practices and processes referred to in the procedure by the TASK numbers are in the SPM.
References
Refer to the SPM for data on these items.
Definitions of Damage, SPM TASK 70-02-02-350-501.
Record and Control of the Lives of Parts, SPM TASK 70-05-00-220-501.
Inspection of Parts, SPM TASK 70-20-00-200-501.
Some data on these items is contained in this TASK. For more data on these items refer to the SPM.
Method of Testing for Crack Indications
Chemical Processes
Surface Protection
Preliminary Requirements
Pre-Conditions
NONESupport Equipment
| Name | Manufacturer | Part Number / Identification | Quantity | Remark |
|---|---|---|---|---|
| Workshop Inspection Equipment | LOCAL | Workshop Inspection Equipment | ||
| Magnetizing unit | LOCAL | Magnetizing unit | ||
| Demagnetizing unit | LOCAL | Demagnetizing unit |
Consumables, Materials and Expendables
NONESpares
NONESafety Requirements
NONEProcedure
Clean the part. Refer to Cleaning-000 TASK 79-22-41-100-400.
Reject
Cracked
Do the test for cracks on the part that is given below.
PART IDENT
PROCEDURE
CURRENT/INSPECT
TASK/SUBTASK
Drive Gear Assembly
CF
650A
Refer to SPM TASK 70-24-01-240-501 SUBTASK 70-24-01-240-010
Coil
3500A/T
Refer to SPM TASK 70-24-01-240-501 SUBTASK 70-24-01-240-014
SUBTASK 79-22-41-240-056 Do a Crack Test on the Drive Gear Assembly (Magnetic)
Refer to Figure.
Repair, VRS5352 (Repair-017) TASK 79-22-41-300-017.
Remove the sharp edges or high spots which could damage the mating gear teeth surfaces.
Damage on tip of tooth
Accept
Between 1.7008 and 1.6998 in. (43.2 and 43.175 mm).
Reject
Less than 1.6998 in. (43.175 mm).
Diameter
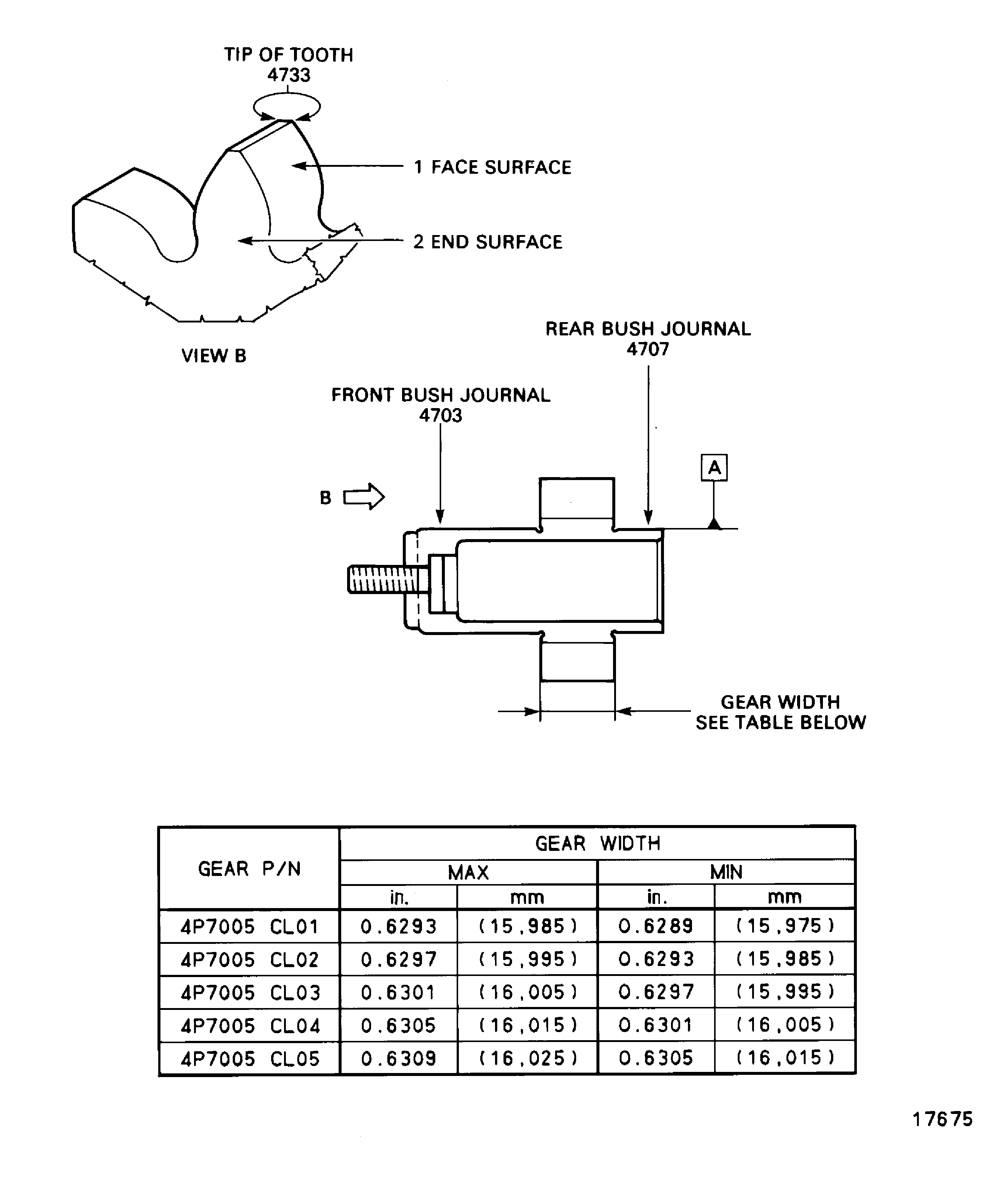
SUBTASK 79-22-41-220-106 Examine the Drive Gear Assembly Tip of Tooth at Location 4733
Refer to Figure.
Repair, VRS5352 (Repair-017) TASK 79-22-41-300-017.
Lightly remove raised material. A 32 micro-inch (0.8 micro-meter) finish is required.
Reject
Chipped, flaking or fretting.
Scored
Accept
Between 1.877 and 1.8679 in. (47.671 and 47.444 mm).
Reject
Less than 1.8679 in (47.444 mm).
Measure the dimension over diametrically opposed 0.315 in. (8 mm) diameter pins.
Damage and obvious signs of wear
SUBTASK 79-22-41-220-107 Examine the Drive Gear Assembly Teeth on the Face Surface at Location 1
Refer to Figure.
Accept
Not discernible with a 0.04 in. (1 mm) radius spherical-end.
Repair, VRS5352 (Repair-017) TASK 79-22-41-300-017.
Remove raised material with a fine stone.
Scored
SUBTASK 79-22-41-220-108 Examine the Drive Gear Assembly Teeth on the End of the Surface at Location 2
Refer to Figure.
Repair, VRS5352 (Repair-017) TASK 79-22-41-300-017.
Between 0.4747 and 0.4776 in. (12.057 and 12.13 mm).
Remove raised metal with a fine stone. Scores must have a circumferential direction. A 10 micro-inches (0.25 micro-meter) finish is required.
Scored
SUBTASK 79-22-41-220-109 Examine the Drive Gear Assembly Rear and Front Journals at Location 4703 and 4707
Refer to Figure.
Accept
Between 0.8661 and 0.8655 in. (22 and 21.985 mm).
Reject
Less than 0.8655 in. (21.985 mm).
Diameter
SUBTASK 79-22-41-220-111 Examine the Drive Gear Assembly Rear Bush Journal at Location 4707
Figure: Locations on the Driven Gear Assembly
Locations on the Driven Gear Assembly

