DMC:V2500-A1-71-13-14-01A-941A-DIssue No:001.00Issue Date:2014-05-01
Export Control
EAR Export Classification: Not subject to the EAR per 15 C.F.R. Chapter 1, Part 734.3(b)(3), except for the following Service Bulletins which are currently published as EAR Export Classification 9E991: SBE70-0992, SBE72-0483, SBE72-0580, SBE72-0588, SBE72-0640, SBE73-0209, SBE80-0024 and SBE80-0025.Copyright
© IAE International Aero Engines AG (2001, 2014 - 2021) The information contained in this document is the property of © IAE International Aero Engines AG and may not be copied or used for any purpose other than that for which it is supplied without the express written authority of © IAE International Aero Engines AG. (This does not preclude use by engine and aircraft operators for normal instructional, maintenance or overhaul purposes.).Applicability
All
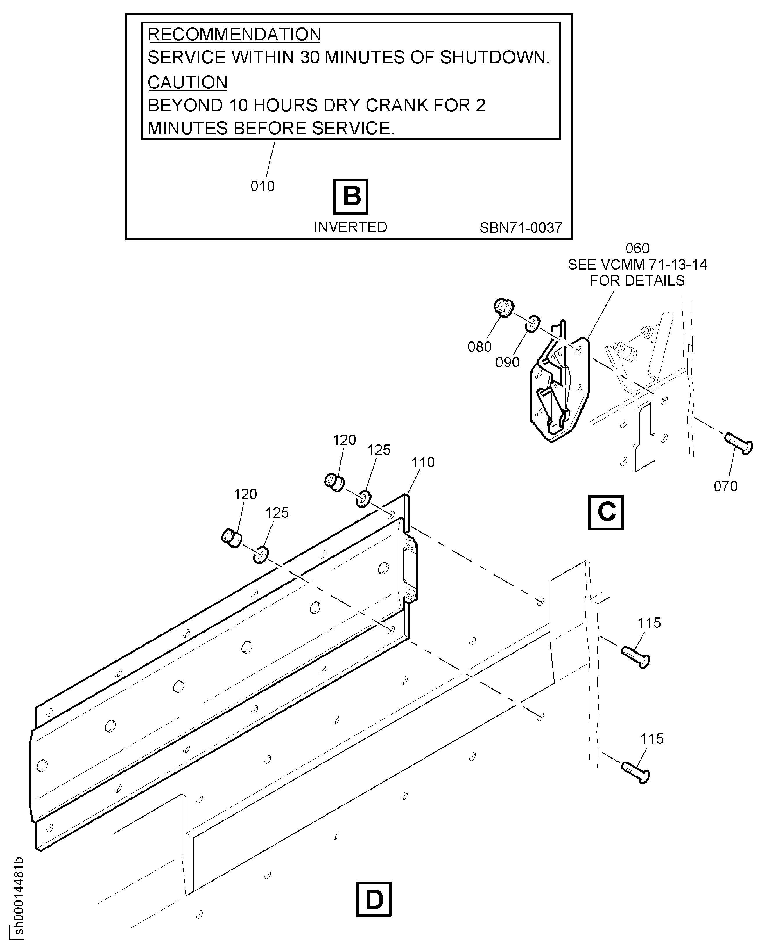
| Fig. Item | Part No. | Description | Effect/Model Applic. | UPA |
|---|---|---|---|---|
| 01 | ||||
| B71131401 | POWER PLANT-LEFT FAN COWL ACCESS PANELS, PRE SBN71-0015 | aa | ||
| SBN0015-01 | POWER PLANT-LEFT FAN COWL ACCESS PANELS, PRE SBN70-0134 | ab | ||
| SBN0134-01 | POWER PLANT-LEFT FAN COWL ACCESS PANELS, PRE SBN71-0037 | ac | ||
| SBN0037-01 | POWER PLANT-LEFT FAN COWL ACCESS PANELS, PRE SBN71-0096 | ad | ||
| SBN0096-01 | POWER PLANT-LEFT FAN COWL ACCESS PANELS, PRE SBN70-0313 | ae | ||
| SBN0313-01 | POWER PLANT-LEFT FAN COWL ACCESS PANELS, PRE SBN70-0621 | af | ||
| SBN0621-01 | POWER PLANT-LEFT FAN COWL ACCESS PANELS, PRE SBN70-0737 | ag | ||
| SBN0737-01 | POWER PLANT-LEFT FAN COWL ACCESS PANELS, PRE SBN70-0751 | ah | ||
| SBN0751-01 | POWER PLANT-LEFT FAN COWL ACCESS PANELS | ai | ||
| -002 | 740-4001-571 | COWL - LEFT FAN 51563 PRE SBN71-0015 | aa-ab | REF |
| -002A | 740-4001-575 | COWL - LEFT FAN 51563 POST SBN71-0015 PRE SBN70-0134 | aa-ac | REF |
| -002B | 740-4001-579 | COWL - LEFT FAN 51563 POST SBN70-0134 PRE SBN71-0037 | aa-ad | REF |
| -002C | 740-4001-583 | COWL - LEFT FAN 51563 POST SBN71-0037 PRE SBN71-0096 | aa-ae | REF |
| -002D | 740-4001-589 | COWL - LEFT FAN 51563 POST SBN71-0096 PRE SBN70-0313 | aa-ae | REF |
| -002E | 740-4001-601 | COWL - LEFT FAN 51563 POST SBN70-0313 | af-ai | REF |
| 005 | 740-4043-503 | • DOOR - ASSY OIL FILLER ACCESS 51563 PRE SBN70-0134 | aa-af | 1 |
| 005A | 740-4043-505 | • DOOR - ASSY OIL FILLER ACCESS 51563 POST SBN70-0134 PRE SBN70-0621 | aa-ag | 1 |
| 005B | 745-4043-501 | • DOOR - ASSY, 51563 POST SBN70-0621 PRE SBN70-0737 | aa-ah | 1 |
| 005C | 745-4043-503 | • DOOR - ASSY, OIL FILLER 51563 POST SBN70-0737 PRE SBN70-0751 | aa-ai | 1 |
| 005D | 745-4043-505 | • DOOR - ASSY, OIL FILLER 51563 POST SBN70-0751 | aa-ai | 1 |
| 010 | 740-4122-501 | • DECAL 51563 POST SBN71-0037 PRE SBN70-0747 | ***** | 1 |
| 060 | H5100-156-250 | • • LATCH 83014 | aa-ai | 4 |
| 070 | MS24693C28 | • • SCREW 96906 | aa-ai | 16 |
| 080 | MS21043-06 | • • NUT 96906 | aa-ai | 16 |
| 080A | U128441 | • • NUT - .138 DIA ALT MS21043-06 | aa-ai | 16 |
| 090 | AN960C6 | • • WASHER 81352 | aa-ai | 16 |
| 110 | 740-4086-503 | • • HINGE - ASSY,(VRS2849) 51563 POST SBN70-0176 PRE SBN70-0737 | ***** | 1 |
| 110A | 740-4086-505 | • • HINGE - ASSY 51563 POST SBN70-0737 | ah-ai | 1 |
| 115 | HL11VF6-6 | • • PIN - ,(VRS2849) 51563 | ***** | 12 |
| 120 | HL97V6 | • • COLLAR - HILOK,(VRS2849) 73197 | ***** | 12 |
| 125 | AN960C10L | • • WASHER - FLAT,(VRS2849) 81352 | ***** | 12 |
| - ITEM NOT ILLUSTRATED, ***** EFFECTIVITY NOT AVAILABLE | ||||
Figure: POWER PLANT-LEFT FAN COWL ACCESS PANELS
PANELS FAN COWL ACCESS LEFT

PANELS FAN COWL ACCESS LEFT

