Export Control
EAR Export Classification: Not subject to the EAR per 15 C.F.R. Chapter 1, Part 734.3(b)(3), except for the following Service Bulletins which are currently published as EAR Export Classification 9E991: SBE70-0992, SBE72-0483, SBE72-0580, SBE72-0588, SBE72-0640, SBE73-0209, SBE80-0024 and SBE80-0025.Copyright
© IAE International Aero Engines AG (2001, 2014 - 2021) The information contained in this document is the property of © IAE International Aero Engines AG and may not be copied or used for any purpose other than that for which it is supplied without the express written authority of © IAE International Aero Engines AG. (This does not preclude use by engine and aircraft operators for normal instructional, maintenance or overhaul purposes.).Applicability
V2500-A1 and Post SBE 72-0190
Common Information
TASK 72-00-45-220-002-B00 HPT Assembly - Examine The HPT Assembly Front Face At Interface M-45, Inspection-002 - SBE 72-0190
General
The word "reject" is used after an interface inspection statement to show that a higher level inspection and possible repair to the damaged part is necessary.
Do the higher level inspection procedure as found in the applicable Chapter/Section/Subject of this manual on the damaged part(s). It is not necessary to do the higher level inspection on parts that are serviceable to the interface inspection standard.
Refer to TASK 72-00-00-200-000 (INSPECTION/CHECK-000) (examine the modular/non-modular interfaces) before you do this TASK.
The policy that is necessary for inspection is given in the SPM TASK 70-20-01-200-001.
Decreased module run time will result if you install modules that are near the maximum interface limits.
Erosion damage - Indications having a weathered, abraded, or corroded appearance.
All parts must be visually examined for damage, corrosion and wear. All defects (distress, missing hardware etc.) that are not identified in the procedure must be documented and referred to IAE Technical Services.
Preliminary Requirements
Pre-Conditions
NONESupport Equipment
| Name | Manufacturer | Part Number / Identification | Quantity | Remark |
|---|---|---|---|---|
| IAE 1P16046 Removal/Installation fixture | 0AM53 | IAE 1P16046 | ||
| IAE 1P16543 Removal/Installation fixture | 0AM53 | IAE 1P16543 |
Consumables, Materials and Expendables
NONESpares
NONESafety Requirements
NONEProcedure
Refer to Figure.
Clean the bolt holes per SPM TASK 70-11-26-300-503 (PW equivalent SPOP 208).
Perform local FPI per SPM TASK 70-23-05-230-501 (high sensitivity) (or equivalent PW SPOP 70).
Examine the flange bolt holes carefully.
Reject.
If you find any indication.
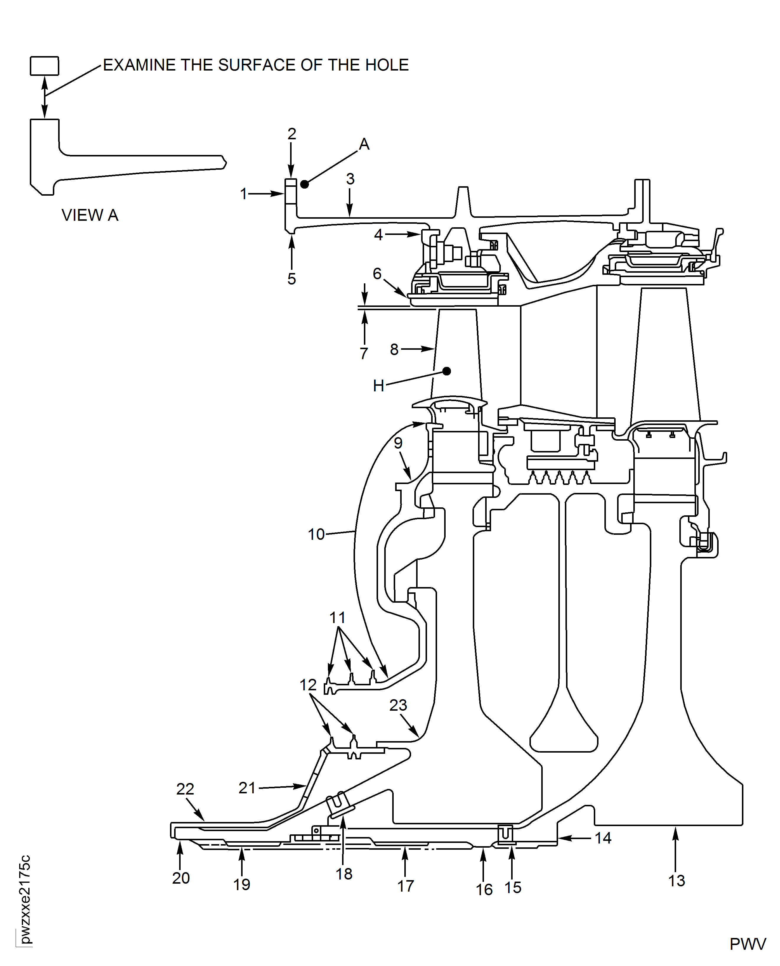
SUBTASK 72-00-45-220-255 Examine the Bolt Holes of the Case Flange at Location 1
Refer to Figure.
SUBTASK 72-00-45-220-131 Visually Examine the Surface of the Case at Location 3
Refer to Figure.
SUBTASK 72-00-45-220-132 Visually Examine the Hardface on the Outer Airseal Supports at Location 4
Refer to Figure.
SUBTASK 72-00-45-220-134 Visually Examine the Stage 1 Ceramic Outer Airseals at Location 6
Refer to Figure.
SUBTASK 72-00-45-220-135 Measure the Stage 1 Turbine Blade Tip Clearance at Location 7
NOTE
The IAE 1P16046 Removal/Installation fixture or IAE 1P16543 Removal/Installation fixture is installed when you remove the HP turbine rotor and stator assembly from the engine. Do not remove this fixture when you do the inspection.Refer to Figure.
SUBTASK 72-00-45-220-136 Visually Examine the Stage 1 Turbine Blades at Location 8
Refer to Figure.
SUBTASK 72-00-45-220-137 Visually Examine the Outer Surface of the Outer Seal at Location 9
Refer to Figure.
If signs of soot and oil are found, inspect the High Pressure Turbine for possible oil ignition event. Refer to TASK 72-45-00-200-801.
Report all findings to IAE Technical Services.
Look for sign of soot and oil.
SUBTASK 72-00-45-220-138 Visually Examine the Outer Seal Surface at Location 10
Refer to Figure.
SUBTASK 72-00-45-220-139 Visually Examine the Knife-Edges of the Outer Seal at Location 11
Refer to Figure.
SUBTASK 72-00-45-220-140 Visually Examine the Knife-Edges of the Inner Seal Location 12
Refer to Figure.
SUBTASK 72-00-45-220-141 Visually Examine the Disk Surface at Location 13
Refer to Figure.
SUBTASK 72-00-45-220-142 Visually Examine the Stage 2 Turbine Disk at the HPT Retaining Nut Mating Face at Location 14
Refer to Figure.
SUBTASK 72-00-45-220-143 Visually Examine the Metering Plugs of the Stage 1 Disk at Location 18
Refer to Figure.
SUBTASK 72-00-45-220-144 Visually Examine the Stage 2 Disk at Location 16
Refer to Figure.
SUBTASK 72-00-45-220-145 Visually Examine the Stage 2 Disk Splines at Location 17
Refer to Figure.
SUBTASK 72-00-45-220-146 Visually Examine the Metering Plugs of the Stage 2 Disk at Location 15
Refer to Figure.
SUBTASK 72-00-45-220-147 Visually Examine the Stage 1 Disk Splines at Location 19
Refer to Figure.
SUBTASK 72-00-45-220-148 Visually Examine the Stage 1 Disk at Location 20
Refer to Figure.
SUBTASK 72-00-45-220-207 Visually Inspect the TOBI Seal Inner Diameter at Location 22
If signs of soot and oil are found, inspect the High Pressure Turbine for possible oil ignition event. Refer to TASK 72-45-00-200-801.
Report all findings to IAE Technical Services.
There are signs of soot and oil.
SUBTASK 72-00-45-220-247 Visually Inspect Area of HPT Stage 1 Hub between Inner and Outer Air Seal at Location 23
Figure: Locations at Interface M-45
Sheet 1

Figure: Locations at Interface M-45
Sheet 2

Figure: Locations at Interface M-45
Sheet 3

