Export Control
EAR Export Classification: Not subject to the EAR per 15 C.F.R. Chapter 1, Part 734.3(b)(3), except for the following Service Bulletins which are currently published as EAR Export Classification 9E991: SBE70-0992, SBE72-0483, SBE72-0580, SBE72-0588, SBE72-0640, SBE73-0209, SBE80-0024 and SBE80-0025.Copyright
© IAE International Aero Engines AG (2001, 2014 - 2021) The information contained in this document is the property of © IAE International Aero Engines AG and may not be copied or used for any purpose other than that for which it is supplied without the express written authority of © IAE International Aero Engines AG. (This does not preclude use by engine and aircraft operators for normal instructional, maintenance or overhaul purposes.).Applicability
V2500-A1
Common Information
TASK 72-32-91-300-016 LPC Inlet Guide Vane (Stator) - Replace The Vane And Seal, Repair-016 (VRS1981)
Material of component
PART IDENT | IAE SYMBOL | MATERIAL |
|---|---|---|
LPC inlet guide vane assembly | Vane: Titanium alloy Inner ring: Aluminum alloy |
General
Price and availability - none
The practices and processes referred to in the procedure by the TASK number are in the SPM.
NOTE
NOTE
Preliminary Requirements
Pre-Conditions
NONESupport Equipment
| Name | Manufacturer | Part Number / Identification | Quantity | Remark |
|---|---|---|---|---|
| Plastic chisel type tool | LOCAL | Plastic chisel type tool | ||
| Dry blast cabinet | LOCAL | Dry blast cabinet | ||
| Vacuum cleaner | LOCAL | Vacuum cleaner | ||
| Spatula | LOCAL | Spatula | ||
| Mass weighing scale | LOCAL | Mass weighing scale | ||
| Vacuum pump | LOCAL | Vacuum pump | ||
| Injector | LOCAL | Injector | (air pressure type) | |
| Hardness tester (durometer) | LOCAL | Hardness tester (durometer) | ||
| IAE 3J12132 Molding fixture | 0AM53 | IAE 3J12132 | 1 | |
| IAE 3J12133 Molding fixture | 0AM53 | IAE 3J12133 | 1 | |
| IAE 3J12775 Bond test fixture | 0AM53 | IAE 3J12775 | 1 | |
| IAE 3J12785 Inspection stand | 0AM53 | IAE 3J12785 | 1 | |
| IAE 3J12137 Molding fixture | 0AM53 | IAE 3J12137 | 1 |
Consumables, Materials and Expendables
| Name | Manufacturer | Part Number / Identification | Quantity | Remark |
|---|---|---|---|---|
| CoMat 01-124 ISOPROPYL ALCOHOL | LOCAL | CoMat 01-124 | ||
| CoMat 01-172 SILICONE RUBBER REMOVER | 71361 | CoMat 01-172 | ||
| CoMat 02-001 ADHESIVE TAPE (MASKING) | LOCAL | CoMat 02-001 | ||
| CoMat 02-005 ADHESIVE TAPE (MASKING) | LOCAL | CoMat 02-005 | ||
| CoMat 02-099 LINT-FREE CLOTH | LOCAL | CoMat 02-099 | ||
| CoMat 05-121 SILICON CARBIDE GRIT | IAE72 | CoMat 05-121 | ||
| CoMat 05-122 SILICON CARBIDE GRIT | IAE72 | CoMat 05-122 | ||
| CoMat 05-123 SILICON CARBIDE GRIT | IAE72 | CoMat 05-123 | ||
| CoMat 05-124 SILICON CARBIDE GRIT | IAE72 | CoMat 05-124 | ||
| CoMat 08-032 PRIMER | LOCAL | CoMat 08-032 | ||
| CoMat 08-036 SILICONE RUBBER COMPOUND | LOCAL | CoMat 08-036 | ||
| CoMat 08-037 DELETED | LOCAL | CoMat 08-037 | ||
| CoMat 08-042 SILICONE RUBBER COMPOUND | IAE55 | CoMat 08-042 | ||
| CoMat 05-050 SILICON CARBIDE GRIT | 1E1X8 | CoMat 05-050 | ||
| CoMat 08-038 SILICONE RUBBER COMPOUND | 64101 | CoMat 08-038 |
Spares
| Name | Manufacturer | Part Number / Identification | Quantity | Remark |
|---|---|---|---|---|
| Inner Ring, STG. 1.0 LPC | 5A0170 | 1 | ||
| Vane, STG. 1.0 LPC Type A | 5A0180 | AR | ||
| Vane, STG. 1.0 LPC Type B | 5A0181 | AR |
Safety Requirements
NONEProcedure
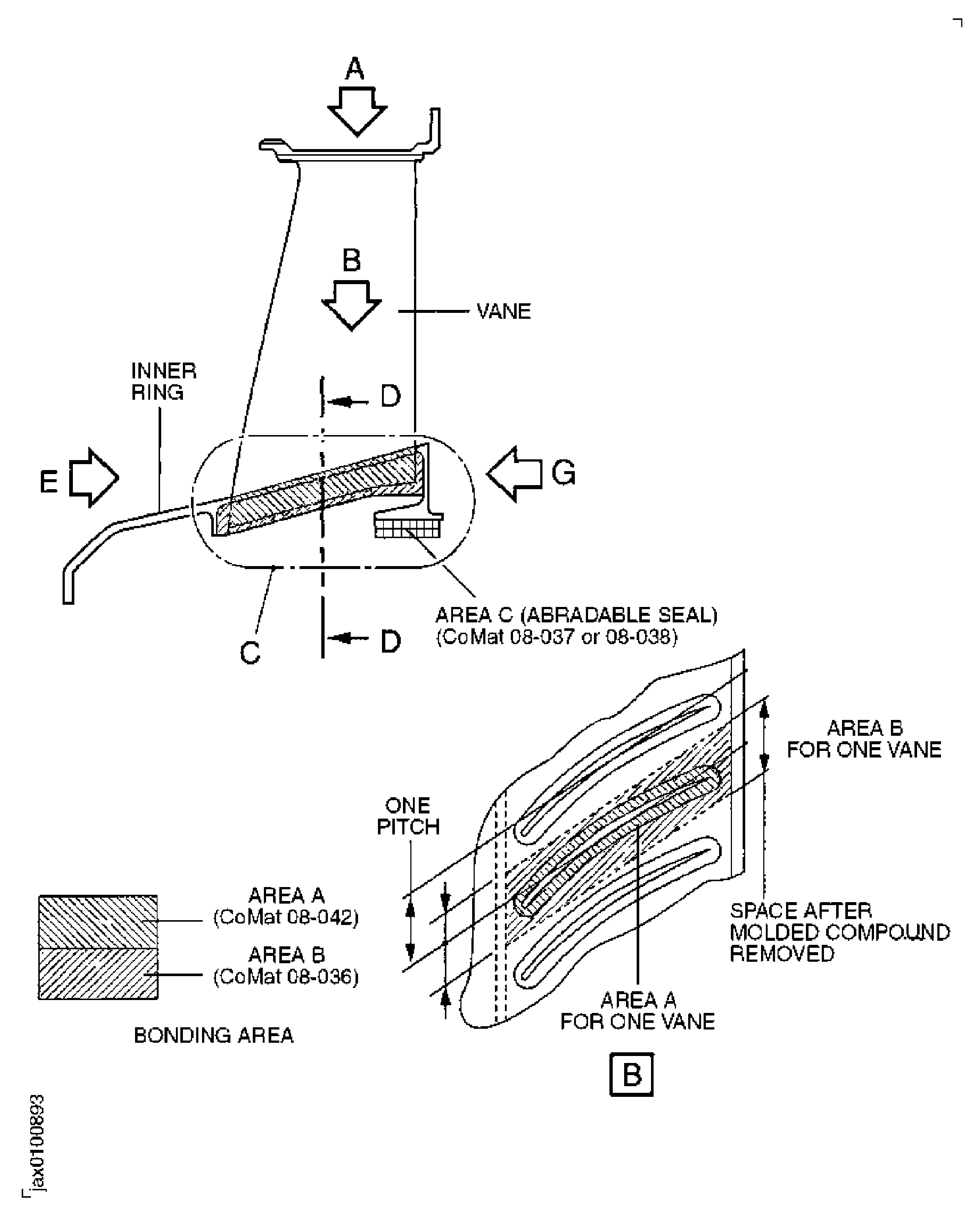
Refer to Figure.
SUBTASK 72-32-91-350-068 Record the Part Number of the LPC Inlet Guide Vane Assembly
Refer to Figure.
Use CoMat 01-172 SILICONE RUBBER REMOVER. When the silicone rubber becomes soft, remove the subject vanes from the silicone rubber with a clean plastic chisel.

CAUTION
DO NOT DAMAGE THE SURFACE OF THE VANE WHEN REMOVING THE MOLDING RUBBER.NOTE
The tank must be kept closed to prevent the release of the remover into the air.Put the component fully into silicone rubber remover for 24 to 48 hours at room temperature.
If silicone rubber remains, soak in CoMat 01-172 SILICONE RUBBER REMOVER for 48 hours again.
Check the vane to make sure that there is no remaining silicone rubber.
SUBTASK 72-32-91-360-107 Remove the Inner Ring and Damaged Vane
The primer must be applied to the metal surface only. Refer to the SPM TASK 70-36-04-360-501.
Use CoMat 08-032 PRIMER.

CAUTION
THE PRIMER MUST NOT BE APPLIED TO THE SILICONE RUBBER.NOTE
Let the primer dry at a room temperature of 77 deg F (25 deg C) for two hours minimum, 24 hours maximum at a moisture level equivalent to 50 percent minimum relative humidity.Parts must have the silicone rubber compound applied in 24 hours or less of completion of primer application.Apply the primer to the bonding area.
SUBTASK 72-32-91-360-110 Apply the Primer to the Bonding Area (Area A and Area B)
Use CoMat 08-042 SILICONE RUBBER COMPOUND, a clean spatula and a mass weighing scale.
Mix 9.5 to 10.5 parts by weight of the base material with 0.8 to 1.2 parts by weight of the curing agent in eight to ten minutes at 70 to 80 deg F (21 to 27 deg C) until the material is a constant color.
SUBTASK 72-32-91-360-111 Make-Up of CoMat 08-042 Silicone Rubber Compound
Use IAE 3J12137 Molding fixture 1 off.
Set up the mold with the molding fixture and install the new or serviceable vane in position.
SUBTASK 72-32-91-360-112 Mold CoMat 08-042 Silicone Rubber Compound for Area A
Refer to the SPM TASK 70-36-04-360-501.
Mix the base material and the curing agent.
Refer to the SPM TASK 70-36-04-360-501.
Remove all the air from the mixture.
SUBTASK 72-32-91-360-113 Make-Up CoMat 08-036 Silicone Rubber Compound
Refer to SPM TASK 70-36-04-360-501.
Cure the silicone rubber compound.
SUBTASK 72-32-91-360-114 Mold CoMat 08-036 Silicone Rubber Compound for Area B
Use CoMat 05-050 SILICON CARBIDE GRIT. Use dry blast system cabinet.
Apply dry abrasive blast to mold area by silicone carbide grit, air pressure 70 psig (483 kPa) at a distance of 6 in. (152 mm) minimum from air nozzle to part.
Use CoMat 02-099 LINT-FREE CLOTH. Refer to the SPM TASK 70-36-06-360-501.
Wipe blasted surface.
SUBTASK 72-32-91-360-115 Clean the Surfaces which are to be Applied the Silicone Rubber Compound (Area C)
Use CoMat 08-032 PRIMER. Refer to the SPM TASK 70-36-06-360-501.
NOTE
The primed surface must have a faintly visible pink coloration. If there is no visible coloration, it is possible the primer film is not continuous. If the color is quite bright, streaky bright or chalky, the primer is too thick.Keep the primer in a small container for single usage only. The remaining primer must not be used.Immediately after air dry, apply a very thin coat of primer to mold surface using unsized cheese cloth.
Refer to the SPM TASK 70-36-06-360-501.
Cure the primed surface.
SUBTASK 72-32-91-360-116 Apply Primer to the Surface after Cleaning
Use CoMat 08-037 DELETED or CoMat 08-038 SILICONE RUBBER COMPOUND. Refer to the SPM TASK 70-36-06-360-501.
NOTE
Silicone rubber compound has a shelf life of six months from date of shipment.Compound as received was kept at temperature not higher than 90 deg F (32 deg C).Shelf life extension is based on both viscosity and storage temperature.NOTE
Resin and catalyst in each kit are chemically matched. Do not mix with components from other kits.Mix silicone rubber compound using the mixer with a drill press between 70 and 80 deg F (21 and 27 deg C) for 20 to 30 minutes.
SUBTASK 72-32-91-360-117 Mix the Silicone Rubber Compound
Use IAE 3J12133 Molding fixture 1 off.
Clean the molding fixture.
SUBTASK 72-32-91-360-118 Mold the Silicone Rubber Compound for Area C
Refer to the SPM TASK 70-36-06-360-501.
Cure the compound.
Refer to the SPM TASK 70-36-06-360-501.
Cure the component.
SUBTASK 72-32-91-360-119 Cure the Silicone Rubber Compound
Refer to Figure.
Use IAE 3J12775 Bond test fixture 1 off and IAE 3J12785 Inspection stand 1 off. No signs of bulging or air leakage are permitted.
NOTE
Bond test must be done after curing of the rubber on the following conditions:Inspection gas: Air or nitrogen gas.Gas pressure: 200 psig (1380 kPa).Inspection position: Vary the pattern as necessary to examine partial repaired area.Probe angle: Approximately 45 degrees.Do a bond test to the seal area.
SUBTASK 72-32-91-220-093 Bond Test of the Abradable Seal Area
Refer to Figure.
Refer to the SPM TASK 70-09-00-400-501, SUBTASK 70-09-00-400-001.
Use vibro-engraving equipment.
Mark the previously recorded assembly part number, serial number and applied VRS1981 number adjacent to the dowel hole position followed by the mark "ASSY".
Refer to the SPM TASK 70-38-02-300-503 (SUBTASK 72-38-02-300-002).
Apply the chromate conversion layer to the identification marking.
SUBTASK 72-32-91-350-069 Mark the Part Number, the Serial Number and the Repair Number on the Inner Ring
Figure: Repair Details and Dimensions
Sheet 1

Figure: Repair Details and Dimensions
Sheet 2

Figure: Repair Details and Dimensions
Sheet 3

Figure: Repair Details and Dimensions
Sheet 4

Figure: Repair Details and Dimensions
Sheet 5

Figure: Repair Details and Dimensions
Repair Details and Dimensions

Figure: Repair Details and Dimensions
Repair Details and Dimensions

Figure: Repair Details and Dimensions
Repair Details and Dimensions

