Export Control
EAR Export Classification: Not subject to the EAR per 15 C.F.R. Chapter 1, Part 734.3(b)(3), except for the following Service Bulletins which are currently published as EAR Export Classification 9E991: SBE70-0992, SBE72-0483, SBE72-0580, SBE72-0588, SBE72-0640, SBE73-0209, SBE80-0024 and SBE80-0025.Copyright
© IAE International Aero Engines AG (2001, 2014 - 2021) The information contained in this document is the property of © IAE International Aero Engines AG and may not be copied or used for any purpose other than that for which it is supplied without the express written authority of © IAE International Aero Engines AG. (This does not preclude use by engine and aircraft operators for normal instructional, maintenance or overhaul purposes.).Applicability
V2500-A1
Common Information
TASK 72-45-23-200-004-F00 HPT Stage 1 Duct Segment - Examine, Inspection-004
General
This TASK gives the procedure for the inspection of the stage 1 HPT duct segment assembly.
Fig/item numbers in parentheses in the procedure agree with those used in the IPC.
The policy that is necessary for inspection is given in the SPM TASK 70-20-00-200-501.
All the parts must be cleaned before any part is examined. Refer to TASK 72-45-23-100-000 (CLEANING-000).
All parts must be visually examined for damage, corrosion and wear. Any defects that are not identified in the procedure must be referred to IAE.
The procedure for those parts which must have a crack test is given in Step. Do the test before the part is visually inspected.
Do not discard any part until you are sure there are no repairs available. Refer to the instructions in Repair before a discarded part is used again or oversize parts are installed.
Parts which should be discarded can be held although no repair is available. The repair of a discarded part could be shown to be necessary at a later date.
All parts must be examined to make sure that all the repairs have been completed satisfactorily.
The practices and processes referred to in the procedure by the TASK numbers are in the SPM.
References
Refer to the SPM for data on these items.
Definitions of Damage, SPM TASK 70-02-02-350-501
Inspection of Parts, SPM TASK 70-20-00-200-501
Some data on these items is contained in this TASK. For more data on these items refer to the SPM:
Methods of Testing for Crack Indications,
Chemical Processes,
Surface Protection.
Preliminary Requirements
Pre-Conditions
NONESupport Equipment
NONEConsumables, Materials and Expendables
NONESpares
NONESafety Requirements
NONEProcedure
Clean the part. Refer to TASK 72-45-23-100-000 (CLEANING-000).
Repair, VRS3772 TASK 72-45-23-300-022 (REPAIR-022).
Base metal cracks, all areas.
Do the test for cracks on the part this is given below. Examine the metal surfaces at location 11. Do not examine the ceramic coated areas at location 14. Look carefully at the metering cover at location 2 and the hooks, attachment slot and shiplap surfaces at locations 1, 4, 12 and 18. Use the applicable penetrant procedure.
PART IDENT TASK/SUBTASK
Stage 1 HPT duct segment
SUBTASK 72-45-23-230-074 Examine the Stage 1 HPT Duct Segments (01-060) for Cracks
Repair, VRS3772 TASK 72-45-23-300-022 (REPAIR-022)
Other than Step.
Wear.
Repair, VRS3772 TASK 72-45-23-300-022 (REPAIR-022)
Bent or part missing at locations 1, 4, 12 and 18.
Repair, VRS3772 TASK 72-45-23-300-022 (REPAIR-022).
Other than Step.
Examine the duct segment assembly for bends, part missing, wear and unwanted material on the attachment and shiplap surfaces.
SUBTASK 72-45-23-220-129 Examine the Stage 1 HPT Duct Segments (01-060) for Bent, Part Missing, Wear and Unwanted Material on the Attachment and Shiplap Surfaces
Repair, VRS3772 TASK 72-45-23-300-022 (REPAIR-022).
Other than Step.
Refer to Figure.
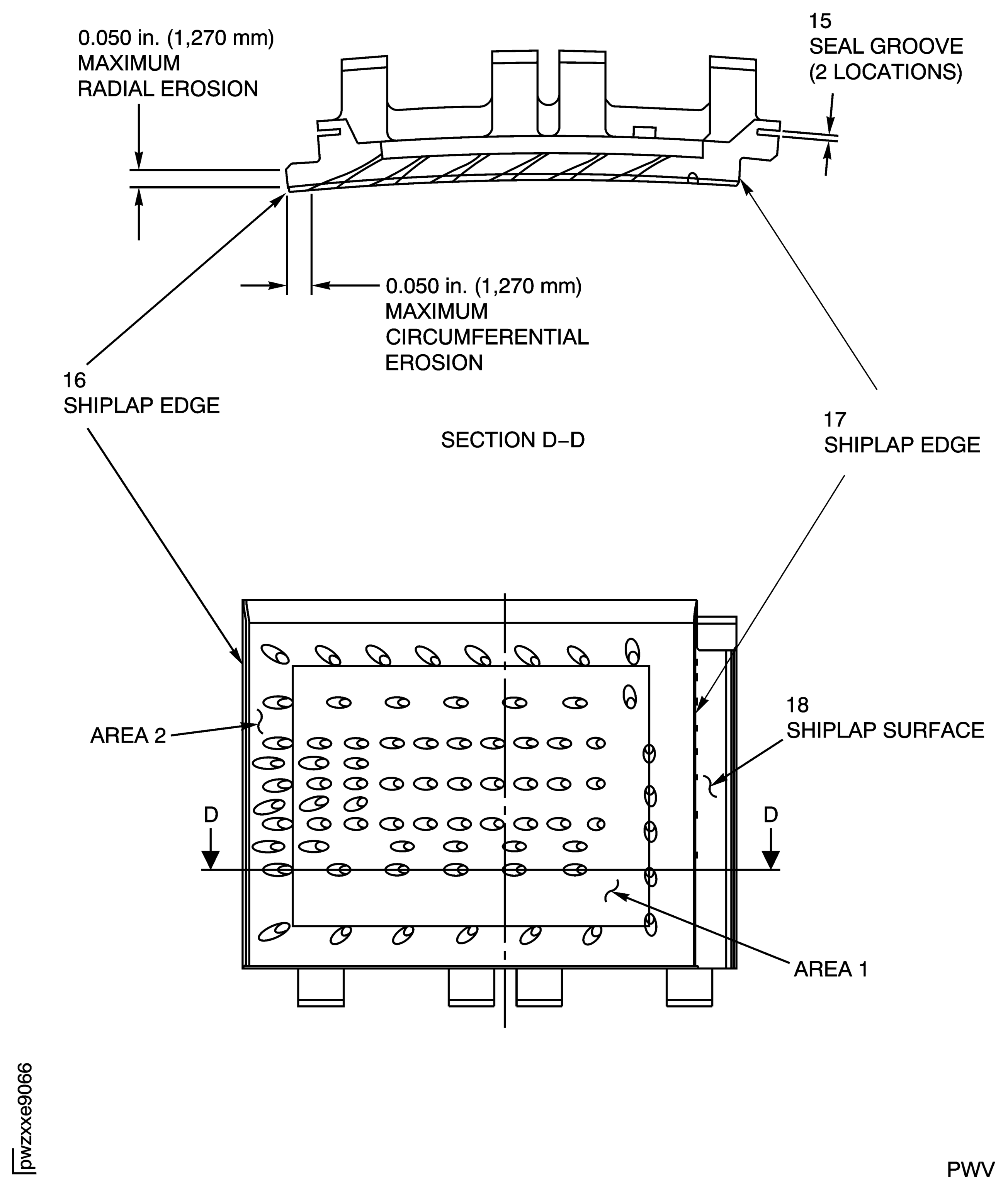
Examine the duct segments at location 15, both ends, for the width of the seal groove.
SUBTASK 72-45-23-220-130 Examine the Stage 1 HPT Duct Segments (01-060) for the Seal Groove Width
Hooks (location 1), nicks, dents, gouges and similar surface imperfections are permitted to 0.005 in. (0.13 mm) depth, if they are smooth bottomed and not in the fillet radii under the hooks. Outside of the fillet radii and ID surfaces, isolated surface imperfections are permitted to 0.040 in. (1.02 mm) depth, if they are smooth bottomed and no two adjacent hooks are affected. The total affected area on each hook is less than 0.016 sq in. (10.32 sq mm) and no imperfection spans more than 0.100 in. (2.54 mm) circumferentially. For hooks with multiple surface imperfections only one can be more than 0.005 in. (0.13 mm) depth.
Shiplap surfaces (location 4 and 18), nicks, dents, gouges and similar surface imperfections are permitted to 0.005 in. (0.13 mm) depth, if they are smooth bottomed and not in the fillet radii, isolated surface imperfections are permitted to 0.040 in. (1.02 mm) depth, if they are smooth bottomed, the total affected area is less than 0.016 sq in. (10.32 sq mm) and no imperfection spans more than 0.100 in. (2.54 mm) axially. For multiple surface imperfections, only one can be more than 0.005 in. (0.13 mm) deep.
All other surfaces, nicks, dents, gouges and similar surface imperfections are permitted to 0.005 in. (0.13 mm) depth, if they are smooth bottomed. Isolated surface imperfections are permitted to 0.040 in. (1.02 mm) depth, if fillet radii, metering cover, cooling holes and hook web are not affected, the imperfection is smooth bottomed and total affected area is less than 0.050 sq in. (32.26 sq mm). All imperfections more than 0.005 in. (0.13 mm) in depth must be separated by 0.010 in. (0.25 mm) minimum. Imperfections on axial and circumferential faces spanning more than half of the face width are not permitted.
Repair, VRS3721 TASK 72-45-23-300-017 (REPAIR-017) or Repair, VRS3772 TASK 72-45-23-300-022 (REPAIR-022).
Corrosion, dents, erosion, nicks and pits.
Examine the duct segment assembly at location 1, 4, 7, 11 and 18 for corrosion, dents, nicks and pits on all the base metal surfaces.
Repair, VRS3721 TASK 72-45-23-300-017 (REPAIR-017) or Repair, VRS3772 TASK 72-45-23-300-022 (REPAIR-022).
Erosion on the edges not more than 0.050 in. (1.27 mm) measured radially and circumferentially from the shiplap edge, along the entire axial length.
Repair, VRS3772 TASK 72-45-23-300-022 (REPAIR-022).
More than in Step.
Erosion on the shiplap edges.
Examine the duct segment at locations 16 and 17 for erosion on the shiplap edges.
SUBTASK 72-45-23-220-131 Examine the Stage 1 HPT Duct Segment Assembly (01-060) for Corrosion, Dents, Erosion, Nicks and Pits on the Base Metal Surfaces
Repair, VRS3772 TASK 72-45-23-300-022 (REPAIR-022).
Other than Step.
Chips and spalls in Area 2.
Repair, VRS3772 TASK 72-45-23-300-022 (REPAIR-022).
Chips and spalls in Area 1.
Examine the duct segment assembly at location 14 for chips and spalls on the ceramic coating in Areas 1 and 2.
SUBTASK 72-45-23-220-132 Examine the Stage 1 HPT Duct Segment Assembly (01-060) for Chips and Spalls on the Ceramic Coating
Refer to Figure.
Repair, VRS3772 TASK 72-45-23-300-022 (REPAIR-022).
Other than Step.
Examine the anti-rotation feature on the duct segment assembly at location 3 for wear.
SUBTASK 72-45-23-220-133 Examine the Stage 1 HPT Duct Segment Assembly (01-060) for Wear on the Integral Anti-Rotation Feature
Refer to Figure.
Repair, VRS3543 TASK 72-45-23-300-010 (REPAIR-010).
Metal transfer at location 5.
Examine the duct segment assembly for metal transfer and cracks.
Repair, VRS3772 TASK 72-45-23-300-022 (REPAIR-022).
Other than Step.
Erosion and rub.
Examine the duct segment assembly for erosion and rub at location 5.
SUBTASK 72-45-23-220-134 Examine the Stage 1 HPT Duct Segment Assembly (01-060) for Metal Transfer, Cracks, Erosion and Rub on the Ceramic Coating
Do the airflow procedure for the Stage 1 HPT duct segment assembly by Repair, VRS3738 TASK 72-45-23-300-019 (REPAIR-019).
NOTE
If you did or will do an airflow check as a requirement of Repair 022 (Refer to Repair, VRS3772 TASK 72-45-23-300-022 (REPAIR-022)) then this SUBTASK is not necessary.If the airflow is more than the maximum, it is permissible to remove debris or blockage by method that is not detrimental to the part or do Repair-022 (Refer to Repair, VRS3772 TASK 72-45-23-300-022 (REPAIR-022)).
If the airflow is less than than the minimum, do Repair-022 (Refer to Repair, VRS3772 TASK 72-45-23-300-022 (REPAIR-022)).
If the airflow is not satisfactory, do one of the steps that follow:
SUBTASK 72-45-23-720-052 Examine the Stage 1 HPT Duct Segment Assembly (01-060) by the Airflow Check
Figure: Stage 1 HPT Duct Segment Inspection Locations
Sheet 1

Figure: Stage 1 HPT Duct Segment Inspection Locations
Sheet 2

Figure: Stage 1 HPT Duct Segment Inspection Locations
Sheet 3

