DMC:V2500-A1-75-24-49-02A-941A-DIssue No:003.00Issue Date:2016-08-01
Export Control
EAR Export Classification: Not subject to the EAR per 15 C.F.R. Chapter 1, Part 734.3(b)(3), except for the following Service Bulletins which are currently published as EAR Export Classification 9E991: SBE70-0992, SBE72-0483, SBE72-0580, SBE72-0588, SBE72-0640, SBE73-0209, SBE80-0024 and SBE80-0025.Copyright
© IAE International Aero Engines AG (2001, 2014 - 2021) The information contained in this document is the property of © IAE International Aero Engines AG and may not be copied or used for any purpose other than that for which it is supplied without the express written authority of © IAE International Aero Engines AG. (This does not preclude use by engine and aircraft operators for normal instructional, maintenance or overhaul purposes.).Applicability
All
| Fig. Item | Part No. | Description | Effect/Model Applic. | UPA |
|---|---|---|---|---|
| 02 | ||||
| B75244902 | AIR-LP ACTIVE CLEARANCE CONTROL MANIFOLD, PRE SBE75-0001 | aa | ||
| SBE0001-01 | AIR-LP ACTIVE CLEARANCE CONTROL MANIFOLD, PRE SBE75-0002 | ab | ||
| SBE0002-01 | AIR-LP ACTIVE CLEARANCE CONTROL MANIFOLD, PRE SBE70-0030 | ac | ||
| SBE0030-01 | AIR-LP ACTIVE CLEARANCE CONTROL MANIFOLD, PRE SBE70-0053 | ad | ||
| SBE0053-01 | AIR-LP ACTIVE CLEARANCE CONTROL MANIFOLD, PRE SBE70-0105 | ae | ||
| SBE0105-01 | AIR-LP ACTIVE CLEARANCE CONTROL MANIFOLD, PRE SBE70-0243 | af | ||
| SBE0243-01 | AIR-LP ACTIVE CLEARANCE CONTROL MANIFOLD, PRE SBE70-0569 | ag | ||
| SBE0569-01 | AIR-LP ACTIVE CLEARANCE CONTROL MANIFOLD, PRE SBE70-0563 | ah | ||
| SBE0563-01 | AIR-LP ACTIVE CLEARANCE CONTROL MANIFOLD, PRE SBE75-0084 | ai | ||
| SBE0084-01 | AIR-LP ACTIVE CLEARANCE CONTROL MANIFOLD, PRE SBE70-0338 | aj | ||
| SBE0338-01 | AIR-LP ACTIVE CLEARANCE CONTROL MANIFOLD, PRE SBE75-0095 | ak | ||
| SBE0095-01 | AIR-LP ACTIVE CLEARANCE CONTROL MANIFOLD, PRE SBE70-0938 | al | ||
| SBE0938-01 | AIR-LP ACTIVE CLEARANCE CONTROL MANIFOLD, PRE SBE70-0946 | am | ||
| SBE0946-01 | AIR-LP ACTIVE CLEARANCE CONTROL MANIFOLD | an | ||
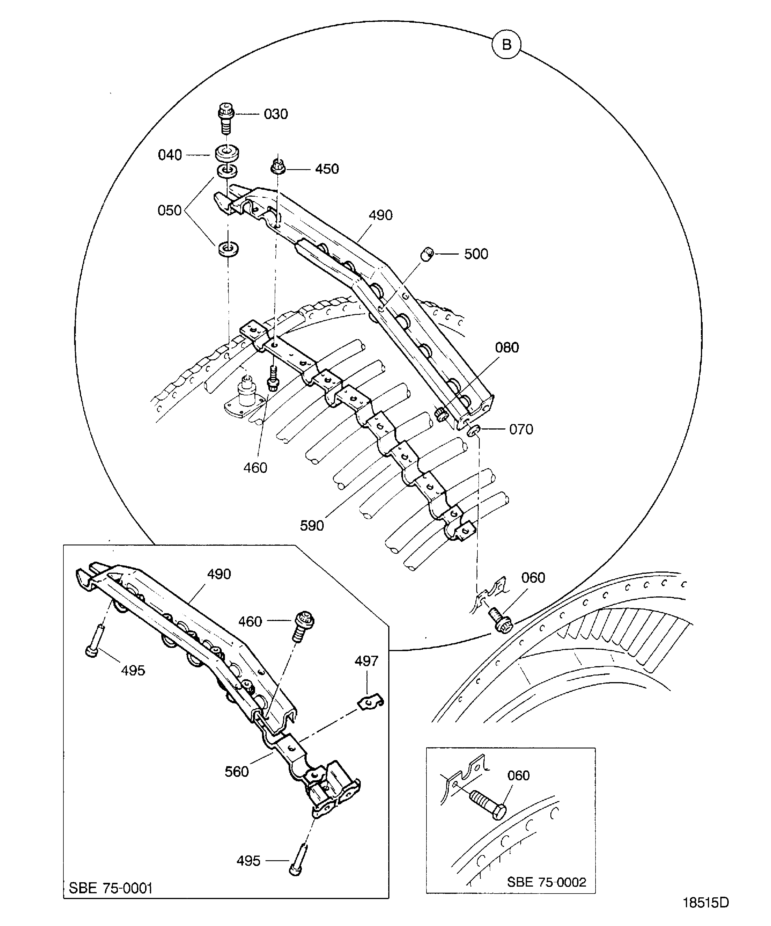
| 010 | 3A0678 | • DUCT - ASSY,COOLING AIR,LPT PRE SBE70-0030 | aa-ac | 1 |
| 010A | 3A1662 | • DUCT - ASSY POST SBE70-0030 PRE SBE70-0569 | ad-an | 1 |
| 010B | 3A2380 | • DUCT - ASSY POST SBE70-0569 | ad-an | 1 |
| -010C | 3A2656 | • DUCT - ASSY,COOLING AIR,LPT POST SBE75-0084 | aj-an | REF |
| -010D | 3A2658 | • DUCT - ASSY POST SBE75-0084 | aj-an | REF |
| 010E | 3A1501 | • DUCT - ASSY COOLING AIR LPT POST SBE70-0338 | ak-an | 1 |
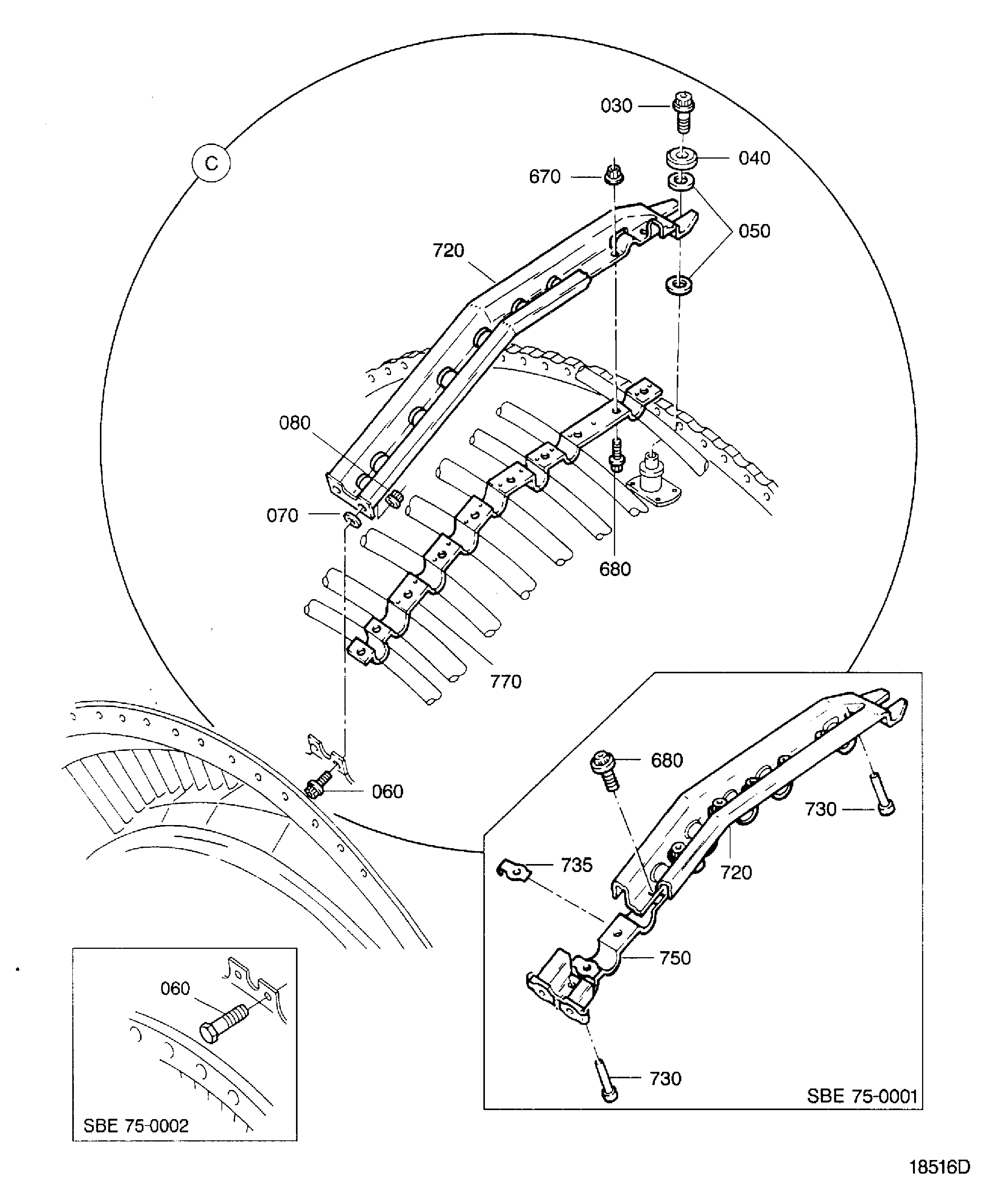
| 030 | MS9697-06 | • BOLT 96906 PRE SBE70-0053 | aa-an | 3 |
| 030A | 4W0582 | • BOLT - .250 DIA X .500 POST SBE70-0053 | aa-an | 3 |
| 040 | 3A0166 | • WASHER PRE SBE70-0938 | aa-an | 3 |
| 040A | 3A2987 | • WASHER POST SBE70-0938 | aa-an | 3 |
| 050 | 3A0167 | • SPACER PRE SBE75-0095 | aa-ak | 1 |
| 050A | 3A2827 | • SPACER POST SBE75-0095 PRE SBE70-0946 | al-am | 12 |
| 050B | 3A3048 | • SPACER POST SBE70-0946 | an | 12 |
| 060 | MS9696-08 | • BOLT 96906 PRE SBE75-0002 | aa-ab | 6 |
| 060A | AS3303-08 | • BOLT U1653 POST SBE75-0002 | ac-an | 6 |
| 070 | 3A0168 | • SPACER PRE SBE70-0946 | aa-am | A/R |
| 070A | 3A3046 | • SPACER POST SBE70-0946 | an | A/R |
| 080 | 776440 | • NUT 77445 PRE SBE75-0001 | aa | 4 |
| 080A | 4W0001 | • NUT - .190 DIA POST SBE70-0053 | ae-an | 4 |
| 200 | 4032806 | • • NUT - ANCHOR 77445 PRE SBE70-0569 | aa-ag | 2 |
| 200A | 4W0043 | • • NUT - .190 DIA Optional Part 4W0043 POST SBE70-0569 | ah-an | 2 |
| 205 | 3A0622 | • • RIVET - SOLID CSK HD PRE SBE70-0569 | aa-ag | 4 |
| 210 | AN123292 | • • RIVET - SOLID UNIVERSAL 81352 PRE SBE70-0243 | aa-af | 8 |
| 210A | AN123291 | • • RIVET - SOLID UNIVERSAL HD 81352 POST SBE70-0243 | ag-an | 8 |
| 215 | 3A0165 | • • SUPPORT - FRONT | aa-an | 1 |
| 220 | 3A0164 | • • SUPPORT - REAR | aa-an | 1 |
| 450 | 776440 | • NUT - OPTION 77445 PRE SBE75-0001 | aa | 10 |
| 450A | 4W0001 | • NUT - .190 DIA Optional Part 4W0001 POST SBE70-0053 | ae-an | 10 |
| 460 | MS9696-06 | • BOLT - DOUBLE HEXAGON 96906 PRE SBE75-0001 | aa | 10 |
| 460A | 4W0101 | • BOLT - .190 DIA X .375 Optional Part 4W0101 POST SBE75-0001 | ab-an | 8 |
| 490 | 3A0564 | • SUPPORT - ASSY PRE SBE75-0001 | aa | 1 |
| 490A | 3A1749 | • SUPPORT POST SBE75-0001 PRE SBE70-0563 | ab-an | 1 |
| 490B | 3A2350 | • SUPPORT POST SBE70-0563 | ab-an | 1 |
| 495 | ST1300-14 | • • RIVET - BLIND 77445 POST SBE75-0001 | ab-an | 2 |
| 497 | 4W0043 | • • NUT - .190 DIA Optional Part 4W0043 POST SBE75-0001 | ab-an | 10 |
| 500 | MS21209F1-10 | • • INSERT - SCREW THREAD 96906 | aa-an | 2 |
| 560 | 3A1742 | • CLAMP POST SBE75-0001 PRE SBE70-0563 | ab-an | 1 |
| 560A | 3A2343 | • • CLAMP POST SBE70-0563 | ab-an | 1 |
| 590 | 3A0948 | • CLAMP - A/O HALF LOOP PRE SBE75-0001 | aa | 1 |
| -592 | 3A0949 | • • CLAMP - HALF LOOP PRE SBE75-0001 | aa | REF |
| -594 | 3A0950 | • • PLATE - STIFFENING PRE SBE75-0001 | aa | REF |
| -596 | 3A0951 | • • PLATE - STIFFENING PRE SBE75-0001 | aa | REF |
| -598 | 3A0952 | • • PLATE - STIFFENING PRE SBE75-0001 | aa | REF |
| -600 | 3A0953 | • • PLATE - STIFFENING PRE SBE75-0001 | aa | REF |
| -602 | 3A0954 | • • PLATE - STIFFENING PRE SBE75-0001 | aa | REF |
| -604 | 3A0955 | • • PLATE - STIFFENING PRE SBE75-0001 | aa | REF |
| -606 | 3A0956 | • • PLATE - STIFFENING PRE SBE75-0001 | aa | REF |
| -608 | 3A0957 | • • PLATE - STIFFENING PRE SBE75-0001 | aa | REF |
| 670 | 776440 | • NUT - OPTION 77445 PRE SBE75-0001 | aa | 10 |
| 670A | 4W0001 | • NUT - .190 DIA Optional Part 4W0001 POST SBE70-0053 | ae-an | 10 |
| 680 | MS9696-06 | • BOLT - DOUBLE HEXAGON 96906 PRE SBE75-0001 | aa | 10 |
| 680A | 4W0101 | • BOLT - .190 DIA X .375 Optional Part 4W0101 POST SBE75-0001 | ab-an | 8 |
| 720 | 3A0580 | • SUPPORT - A/O PRE SBE75-0001 | aa | 1 |
| 720A | 3A1752 | • SUPPORT POST SBE75-0001 PRE SBE70-0563 | ab-an | 1 |
| 720B | 3A2355 | • SUPPORT POST SBE70-0563 | ab-an | 1 |
| 730 | ST1300-14 | • • RIVET - BLIND 77445 POST SBE75-0001 | ab-an | 2 |
| 735 | 4W0043 | • • NUT - .190 DIA Optional Part 4W0043 POST SBE75-0001 | ab-an | 10 |
| 750 | 3A1742 | • • CLAMP POST SBE75-0001 PRE SBE70-0563 | ab-an | 1 |
| 750A | 3A2343 | • • CLAMP POST SBE70-0563 | ab-an | 1 |
| 770 | 3A0948 | • CLAMP - A/O HALF LOOP PRE SBE75-0001 | aa | 1 |
| -772 | 3A0949 | • • CLAMP - HALF LOOP PRE SBE75-0001 | aa | REF |
| -774 | 3A0950 | • • PLATE - STIFFENING PRE SBE75-0001 | aa | REF |
| -776 | 3A0951 | • • PLATE - STIFFENING PRE SBE75-0001 | aa | REF |
| -778 | 3A0952 | • • PLATE - STIFFENING PRE SBE75-0001 | aa | REF |
| -780 | 3A0953 | • • PLATE - STIFFENING PRE SBE75-0001 | aa | REF |
| -782 | 3A0954 | • • PLATE - STIFFENING PRE SBE75-0001 | aa | REF |
| -784 | 3A0955 | • • PLATE - STIFFENING PRE SBE75-0001 | aa | REF |
| -786 | 3A0956 | • • PLATE - STIFFENING PRE SBE75-0001 | aa | REF |
| -790 | 3A0957 | • • PLATE - STIFFENING PRE SBE75-0001 | aa | REF |
| 800 | 3A1866 | • • TUBE - A/O,(VRS4253) POST SBE70-0104 PRE SBE75-0084 | ***** | 1 |
| 800A | 3A2668 | • • TUBE - A/O ALT 3A2681 POST SBE75-0084 | ***** | 1 |
| 800B | 3A2681 | • • TUBE - A/O ALT 3A2668 POST SBE75-0084 | ***** | 1 |
| 810 | 3A1867 | • • TUBE - A/O,(VRS4253) PRE SBE75-0084 | ***** | 1 |
| 810A | 3A2640 | • • TUBE - A/O ALT 3A2648 POST SBE75-0084 | ***** | 1 |
| 810B | 3A2648 | • • TUBE - A/O ALT 3A2640 POST SBE75-0084 | ***** | 1 |
| 820 | 3A1868 | • • TUBE - A/O,(VRS4253) PRE SBE75-0084 | ***** | 1 |
| 820A | 3A2669 | • • TUBE - A/O ALT 3A2682 POST SBE75-0084 | ***** | 1 |
| 820B | 3A2682 | • • TUBE - A/O ALT 3A2669 POST SBE75-0084 | ***** | 1 |
| 830 | 3A1869 | • • TUBE - A/O,(VRS4253) PRE SBE75-0084 | ***** | 1 |
| 830A | 3A2670 | • • TUBE - A/O ALT 3A2683 POST SBE75-0084 | ***** | 1 |
| 830B | 3A2683 | • • TUBE - A/O ALT 3A2670 POST SBE75-0084 | ***** | 1 |
| 840 | 3A1870 | • • TUBE - A/O,(VRS4253) PRE SBE75-0084 | ***** | 1 |
| 840A | 3A2671 | • • TUBE - A/O ALT 3A2684 POST SBE75-0084 | ***** | 1 |
| 840B | 3A2684 | • • TUBE - A/O ALT 3A2671 POST SBE75-0084 | ***** | 1 |
| 850 | 3A1871 | • • TUBE - A/O,(VRS4253) PRE SBE75-0084 | ***** | 1 |
| 850A | 3A2672 | • • TUBE - A/O ALT 3A2685 POST SBE75-0084 | ***** | 1 |
| 850B | 3A2685 | • • TUBE - A/O ALT 3A2672 POST SBE75-0084 | ***** | 1 |
| 860 | 3A1872 | • • TUBE - A/O,(VRS4253) PRE SBE75-0084 | ***** | 1 |
| 860A | 3A2673 | • • TUBE - A/O ALT 3A2686 POST SBE75-0084 | ***** | 1 |
| 860B | 3A2686 | • • TUBE - A/O ALT 3A2673 POST SBE75-0084 | ***** | 1 |
| 870 | 3A1873 | • • TUBE - A/O,(VRS4253) PRE SBE75-0084 | ***** | 1 |
| 870A | 3A2674 | • • TUBE - A/O ALT 3A2687 POST SBE75-0084 | ***** | 1 |
| 870B | 3A2687 | • • TUBE - A/O ALT 3A2674 POST SBE75-0084 | ***** | 1 |
| 880 | 3A1858 | • • TUBE - A/O,(VRS4253) PRE SBE75-0084 | ***** | 1 |
| 880A | 3A2664 | • • TUBE - A/O ALT 3A2676 POST SBE75-0084 | ***** | 1 |
| 880B | 3A2676 | • • TUBE - A/O ALT 3A2664 POST SBE75-0084 | ***** | 1 |
| 890 | 3A1859 | • • TUBE - A/O,(VRS4253) PRE SBE75-0084 | ***** | 1 |
| 890A | 3A2642 | • • TUBE - A/O ALT 3A2650 POST SBE75-0084 | ***** | 1 |
| 890B | 3A2650 | • • TUBE - A/O ALT 3A2642 POST SBE75-0084 | ***** | 1 |
| 900 | 3A1860 | • • TUBE - A/O,(VRS4253) PRE SBE75-0084 | ***** | 1 |
| 900A | 3A2665 | • • TUBE - A/O ALT 3A2677 POST SBE75-0084 | ***** | 1 |
| 900B | 3A2677 | • • TUBE - A/O ALT 3A2665 POST SBE75-0084 | ***** | 1 |
| 910 | 3A1861 | • • TUBE - A/O,(VRS4253) PRE SBE75-0084 | ***** | 1 |
| 910A | 3A2666 | • • TUBE - A/O ALT 3A2678 POST SBE75-0084 | ***** | 1 |
| 910B | 3A2678 | • • TUBE - A/O ALT 3A2666 POST SBE75-0084 | ***** | 1 |
| 920 | 3A1862 | • • TUBE - A/O,(VRS4253) PRE SBE75-0084 | ***** | 1 |
| 920A | 3A2644 | • • TUBE - A/O ALT 3A2652 POST SBE75-0084 | ***** | 1 |
| 920B | 3A2652 | • • TUBE - A/O ALT 3A2644 POST SBE75-0084 | ***** | 1 |
| 930 | 3A1863 | • • TUBE - A/O,(VRS4253) PRE SBE75-0084 | ***** | 1 |
| 930A | 3A2646 | • • TUBE - A/O ALT 3A2654 POST SBE75-0084 | ***** | 1 |
| 930B | 3A2654 | • • TUBE - A/O ALT 3A2646 POST SBE75-0084 | ***** | 1 |
| 940 | 3A1864 | • • TUBE - A/O,(VRS4253) PRE SBE75-0084 | ***** | 1 |
| 940A | 3A2667 | • • TUBE - A/O ALT 3A2679 POST SBE75-0084 | ***** | 1 |
| 940B | 3A2679 | • • TUBE - A/O ALT 3A2667 POST SBE75-0084 | ***** | 1 |
| 950 | 3A1865 | • • TUBE - A/O,(VRS4253) PRE SBE75-0084 | ***** | 1 |
| 950A | 3A2573 | • • TUBE - A/O ALT 3A2680 POST SBE75-0084 | ***** | 1 |
| 950B | 3A2680 | • • TUBE - A/O ALT 3A2573 POST SBE75-0084 | ***** | 1 |
| - ITEM NOT ILLUSTRATED, ***** EFFECTIVITY NOT AVAILABLE | ||||
Figure: AIR-LP ACTIVE CLEARANCE CONTROL MANIFOLD
DUCT ASSY COOLING AIR LPT

DUCT ASSY COOLING AIR LPT

DUCT ASSY COOLING AIR LPT

DUCT ASSY COOLING AIR LPT

