DMC:V2500-A1-78-11-11-01A-941A-DIssue No:002.00Issue Date:2018-08-01
Export Control
EAR Export Classification: Not subject to the EAR per 15 C.F.R. Chapter 1, Part 734.3(b)(3), except for the following Service Bulletins which are currently published as EAR Export Classification 9E991: SBE70-0992, SBE72-0483, SBE72-0580, SBE72-0588, SBE72-0640, SBE73-0209, SBE80-0024 and SBE80-0025.Copyright
© IAE International Aero Engines AG (2001, 2014 - 2021) The information contained in this document is the property of © IAE International Aero Engines AG and may not be copied or used for any purpose other than that for which it is supplied without the express written authority of © IAE International Aero Engines AG. (This does not preclude use by engine and aircraft operators for normal instructional, maintenance or overhaul purposes.).Applicability
All
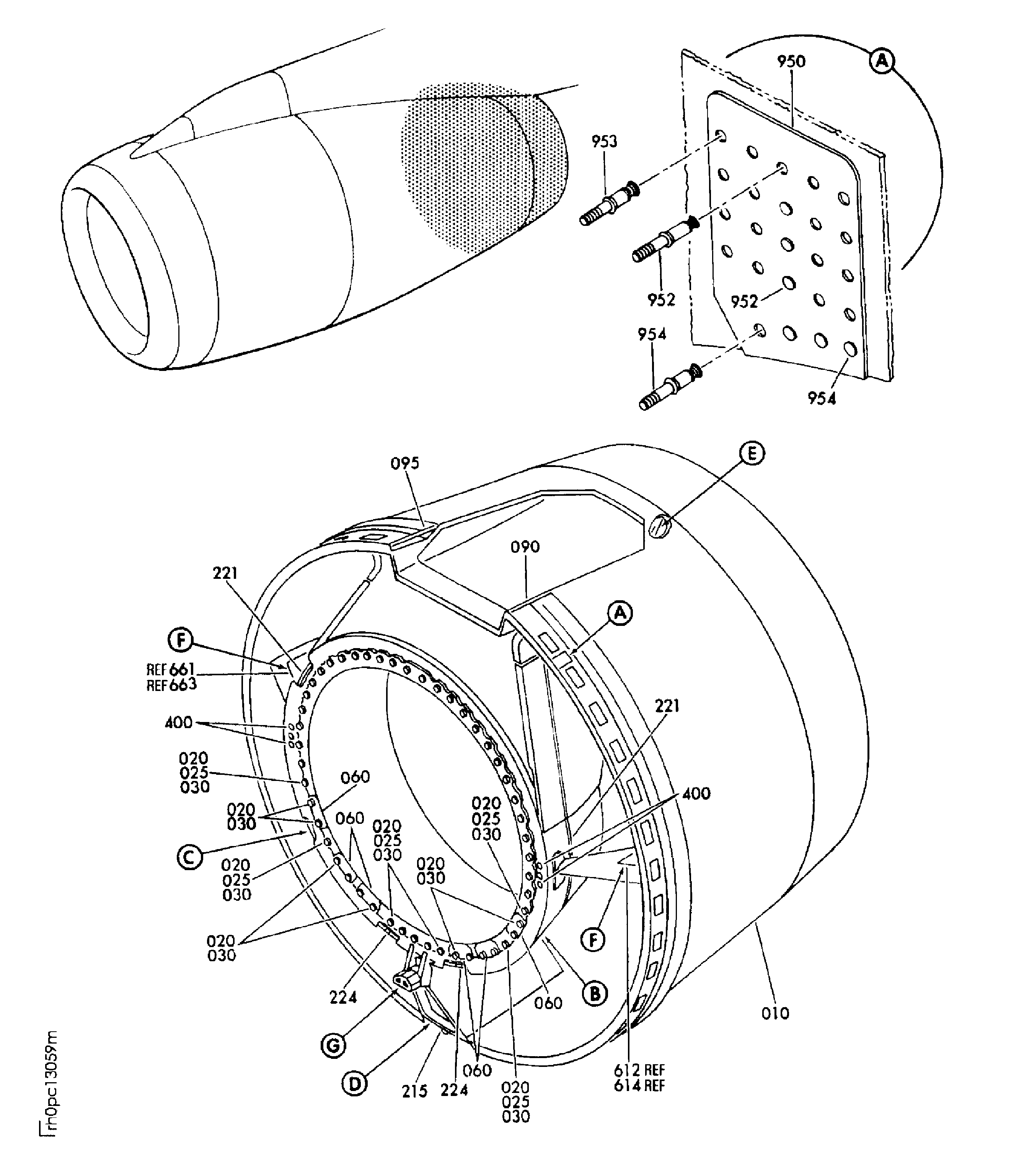
| Fig. Item | Part No. | Description | Effect/Model Applic. | UPA |
|---|---|---|---|---|
| 01 | ||||
| B78111101 | EXHAUST - COMMON NOZZLE EXHAUST COLLECTOR, PRE SBN78-0047 | aa | ||
| SBN0047-01 | EXHAUST - COMMON NOZZLE EXHAUST COLLECTOR, PRE SBN70-0119 | ab | ||
| SBN0119-01 | EXHAUST - COMMON NOZZLE EXHAUST COLLECTOR, PRE SBN78-0006 | ac | ||
| SBN0006-01 | EXHAUST - COMMON NOZZLE EXHAUST COLLECTOR, PRE SBN70-0167 | ad | ||
| SBN0167-01 | EXHAUST - COMMON NOZZLE EXHAUST COLLECTOR, PRE SBN70-0265 | ae | ||
| SBN0265-01 | EXHAUST - COMMON NOZZLE EXHAUST COLLECTOR, PRE SBN70-0173 | af | ||
| SBN0173-01 | EXHAUST - COMMON NOZZLE EXHAUST COLLECTOR, PRE SBN78-0070 | ag | ||
| SBN0070-01 | EXHAUST - COMMON NOZZLE EXHAUST COLLECTOR, PRE SBN70-0424 | ah | ||
| SBN0424-01 | EXHAUST - COMMON NOZZLE EXHAUST COLLECTOR, PRE SBN70-0540 | ai | ||
| SBN0540-01 | EXHAUST - COMMON NOZZLE EXHAUST COLLECTOR, PRE SBN70-0515 | aj | ||
| SBN0515-01 | EXHAUST - COMMON NOZZLE EXHAUST COLLECTOR, PRE SBN70-0763 | ak | ||
| SBN0763-01 | EXHAUST - COMMON NOZZLE EXHAUST COLLECTOR, PRE SBN70-0796 | al | ||
| SBN0796-01 | EXHAUST - COMMON NOZZLE EXHAUST COLLECTOR, PRE SBN70-0610 | am | ||
| SBN0610-01 | EXHAUST - COMMON NOZZLE EXHAUST COLLECTOR, PRE SBN70-0843 | an | ||
| SBN0843-01 | EXHAUST - COMMON NOZZLE EXHAUST COLLECTOR, PRE SBN70-0880 | ao | ||
| SBN0880-01 | EXHAUST - COMMON NOZZLE EXHAUST COLLECTOR, PRE SBN78-0208 | ap | ||
| SBN0208-01 | EXHAUST - COMMON NOZZLE EXHAUST COLLECTOR | aq | ||
| -001 | 740-1093-505 | COMMON - NOZZLE, INSTALL 51563 | aa-aq | REF |
| -001A | 740-1093-507 | COMMON - NOZZLE, INSTALL 51563 PRE SBN70-0173 | aa-af | REF |
| -001B | 740-1093-513 | COMMON - NOZZLE, INSTALL 51563 POST SBN78-0047 PRE SBN70-0265 | ab-ae | REF |
| -001C | 740-1093-515 | NOZZLE - COMMON, INSTALL 51563 POST SBN70-0265 PRE SBN70-0540 | af-ai | REF |
| -001D | 740-1093-509 | COMMON - NOZZLE, INSTALL 51563 POST SBN70-0173 | ag-aq | REF |
| -001E | 740-1093-517 | NOZZLE - COMMON, INSTALL 51563 POST SBN70-0540 PRE SBN70-0763 | aj-ak | REF |
| -001F | 740-1093-519 | NOZZLE - COMMON, INSTALL 51563 POST SBN70-0540 PRE SBN70-0763 | aj-ak | REF |
| -001G | 740-1093-507 | COMMON - NOZZLE, INSTALL 51563 ALT 745-1100-505 POST SBN70-0763 PRE SBN78-0208 | al-aq | REF |
| -001H | 745-1100-505 | NOZZLE - COMMON, INSTALL 51563 ALT 745-1100-503 POST SBN70-0763 PRE SBN70-0763 | aj-ak | REF |
| -001J | 745-1100-503 | NOZZLE - COMMON, INSTALL 51563 ALT 740-1093-501 POST SBN70-0763 PRE SBN70-0763 | aj-ak | REF |
| -001K | 740-1093-501 | COMMON - NOZZLE, INSTALL 51563 ALT 740-1093-507 POST SBN70-0763 PRE SBN70-0763 | aj-ak | REF |
| -001L | 740-1093-511 | COMMON - NOZZLE, INSTALL 51563 ALT 745-1100-505 POST SBN70-0763 PRE SBN70-0763 | aj-ak | REF |
| -001M | 745-1100-505 | NOZZLE - COMMON, INSTALL 51563 ALT 745-1100-503 POST SBN70-0763 PRE SBN70-0763 | aj-ak | REF |
| -001N | 745-1100-503 | NOZZLE - COMMON, INSTALL 51563 ALT 745-1100-501 POST SBN70-0763 PRE SBN70-0763 | aj-ak | REF |
| -001P | 745-1100-501 | NOZZLE - COMMON, INSTALL 51563 ALT 740-1093-511 POST SBN70-0763 PRE SBN70-0763 | aj-ak | REF |
| -001Q | 740-1093-513 | COMMON - NOZZLE, INSTALL 51563 ALT 745-1100-505 POST SBN70-0763 PRE SBN78-0208 | aj-ak | REF |
| -001R | 745-1100-505 | NOZZLE - COMMON, INSTALL 51563 ALT 745-1100-503 POST SBN70-0763 PRE SBN70-0763 | aj-ak | REF |
| -001S | 745-1100-503 | NOZZLE - COMMON, INSTALL 51563 ALT 745-1100-501 POST SBN70-0763 PRE SBN70-0763 | aj-ak | REF |
| -001T | 745-1100-501 | NOZZLE - COMMON, INSTALL 51563 ALT 740-1093-513 POST SBN70-0763 PRE SBN70-0763 | aj-ak | REF |
| -001U | 740-1093-519 | NOZZLE - COMMON, INSTALL 51563 ALT 745-1100-505 POST SBN70-0763 PRE SBN70-0763 | aj-ak | REF |
| -001V | 745-1100-505 | NOZZLE - COMMON, INSTALL 51563 ALT 745-1100-503 POST SBN70-0763 PRE SBN70-0763 | aj-ak | REF |
| -001W | 745-1100-503 | NOZZLE - COMMON, INSTALL 51563 ALT 745-1100-501 POST SBN70-0763 PRE SBN70-0763 | aj-ak | REF |
| -001X | 745-1100-501 | NOZZLE - COMMON, INSTALL 51563 ALT 740-1093-519 POST SBN70-0763 PRE SBN70-0763 | aj-ak | REF |
| -001Y | 740-1093-517 | NOZZLE - COMMON, INSTALL 51563 ALT 745-1100-505 POST SBN70-0763 PRE SBN70-0763 | aj-ak | REF |
| -001Z | 745-1100-505 | NOZZLE - COMMON, INSTALL 51563 ALT 745-1100-503 POST SBN70-0763 PRE SBN70-0763 | aj-ak | REF |
| -001AA | 745-1100-503 | NOZZLE - COMMON, INSTALL 51563 ALT 745-1100-501 POST SBN70-0763 PRE SBN70-0763 | aj-ak | REF |
| -001AB | 745-1100-501 | NOZZLE - COMMON, INSTALL 51563 ALT 740-1093-517 POST SBN70-0763 PRE SBN70-0763 | aj-ak | REF |
| -001AC | 740M0009-501 | NOZZLE - COMMON, INSTALL 51563 POST SBN78-0208 | al-aq | REF |
| -001AD | 740M0009-503 | NOZZLE - COMMON, INSTALL 51563 POST SBN78-0208 | aj-ak | REF |
| 005 | NAS1081C4A4 | • SET SCREW - BLANKING 80205 POST SBN78-0006 | ad-aq | 4 |
| -006 | 740-0394-505 | • MARKING - INSTALL V2500 51563 POST SBN70-0119 | ac-aq | REF |
| 008 | 740-0394-43 | • • DECAL - HOIST POINT CNA 51563 POST SBN70-0119 | ac-aq | 2 |
| 010 | 740-1094-501 | • COMMON - NOZZLE, ASSEMBLY OF 51563 | aa-aq | 1 |
| 010A | 740-1094-503 | • NOZZLE - COMMON, ASSEMBLY OF 51563 PRE SBN70-0173 | aa-af | 1 |
| 010B | 740-1094-509 | • COMMON - NOZZLE, ASSEMBLY OF 51563 POST SBN78-0047 PRE SBN70-0167 | ab-ae | 1 |
| 010C | 740-1094-513 | • COMMON - NOZZLE, ASSEMBLY OF 51563 POST SBN70-0167 PRE SBN70-0265 | ab-ae | 1 |
| 010D | 740-1094-515 | • NOZZLE - COMMON, ASSEMBLY OF 51563 POST SBN70-0265 PRE SBN78-0070 | af-ag | 1 |
| 010E | 740-1094-505 | • COMMON - NOZZLE, ASSEMBLY OF 51563 POST SBN70-0173 | ag-aq | 1 |
| 010F | 740-1094-519 | • NOZZLE - COMMON, ASSEMBLY OF 51563 POST SBN78-0070 PRE SBN70-0424 | af-aq | 1 |
| 010G | 740-1094-517 | • NOZZLE - COMMON, ASSEMBLY OF 51563 POST SBN70-0424 | af-aq | 1 |
| 010H | 740-1094-517 | • NOZZLE - COMMON, ASSEMBLY OF 51563 POST SBN70-0540 | aj-aq | 1 |
| 010J | 740-1094-519 | • NOZZLE - COMMON, ASSEMBLY OF 51563 POST SBN70-0540 PRE SBN70-0540 | ***** | 1 |
| 010K | 745-1101-507 | • NOZZLE - COMMON, ASSEMBLY OF 51563 POST SBN70-0880 | ap-aq | 1 |
| 020 | 77711-4-6 | • BOLT 56878 | aa-aq | 56 |
| 020A | 84828-4-7 | • BOLT 56878 | aa-aq | 49 |
| 020B | 275B0304-8 | • BOLT 51563 ALT 77711-4-8 POST SBN78-0208 | aq | 49 |
| -020C | 77711-4-8 | • BOLT 56878 ALT 275B0304-8 POST SBN78-0208 | aq | REF |
| 025 | NAS1587-4C | • WASHER 80205 | aa-aq | 49 |
| 030 | 80562CT428 | • NUT 56878 PRE SBN70-0173 | aa-af | 49 |
| 030A | 80562CT428 | • NUT 56878 PRE SBN70-0173 | aa-af | 49 |
| 030B | 80562AT428 | • NUT 56878 PRE SBN70-0173 | aa-af | 49 |
| 040 | NS202941-4 | • NUT - ANCHOR 56878 POST SBN70-0173 PRE SBN78-0208 | ag-aq | 49 |
| 040A | MS21060-4 | • NUT - ANCHOR 96906 ALT S700N1362-4 POST SBN78-0208 | ag-aq | 49 |
| -040B | S700N1362-4 | • NUT - ANCHOR 51563 ALT MS21060-4 POST SBN78-0208 | ag-aq | REF |
| 050 | MS20427M3 | • RIVET 96906 POST SBN70-0173 PRE SBN70-0610 | ag-aq | 98 |
| 050A | MS20427M3-7 | • RIVET 96906 POST SBN70-0610 | ag-aq | 98 |
| 050B | NAS1200-3-7 | • RIVET 80205 POST SBN78-0208 | aq | 98 |
| -070 | 714845 | • • NUT OPTION 77445 | aa-aq | REF |
| -085 | 740-1118-507 | • • SEAL - ASSEMBLY OF 51563 POST SBN70-0515 | ak-aq | REF |
| 260 | 740-1007-43 | • • • PIECE - TAIL 51563 POST SBN70-0880 | ap-aq | 1 |
| 431 | S700S0497-90 | • • • SHIM - LAMINATED 51563 POST SBN70-0796 | am-aq | 4 |
| -710 | 745-1102-505 | • • • STRUT - ASSEMBLY OF 51563 POST SBN70-0843 PRE SBN70-0880 | ao | REF |
| 750 | NAS7503U4 | • • • SCREW 80205 POST SBN70-0540 | aj-aq | 8 |
| - ITEM NOT ILLUSTRATED, ***** EFFECTIVITY NOT AVAILABLE | ||||
Figure: EXHAUST-COMMON NOZZLE EXHAUST COLLECTOR
Common Nozzle Installation

