DMC:V2500-A5-72-41-21-04A-941A-DIssue No:003.00Issue Date:2017-05-01
Export Control
EAR Export Classification: Not subject to the EAR per 15 C.F.R. Chapter 1, Part 734.3(b)(3), except for the following Service Bulletins which are currently published as EAR Export Classification 9E991: SBE70-0992, SBE72-0483, SBE72-0580, SBE72-0588, SBE72-0640, SBE73-0209, SBE80-0024 and SBE80-0025.Copyright
© IAE International Aero Engines AG (2001, 2014 - 2021) The information contained in this document is the property of © IAE International Aero Engines AG and may not be copied or used for any purpose other than that for which it is supplied without the express written authority of © IAE International Aero Engines AG. (This does not preclude use by engine and aircraft operators for normal instructional, maintenance or overhaul purposes.).Applicability
V2500-A5
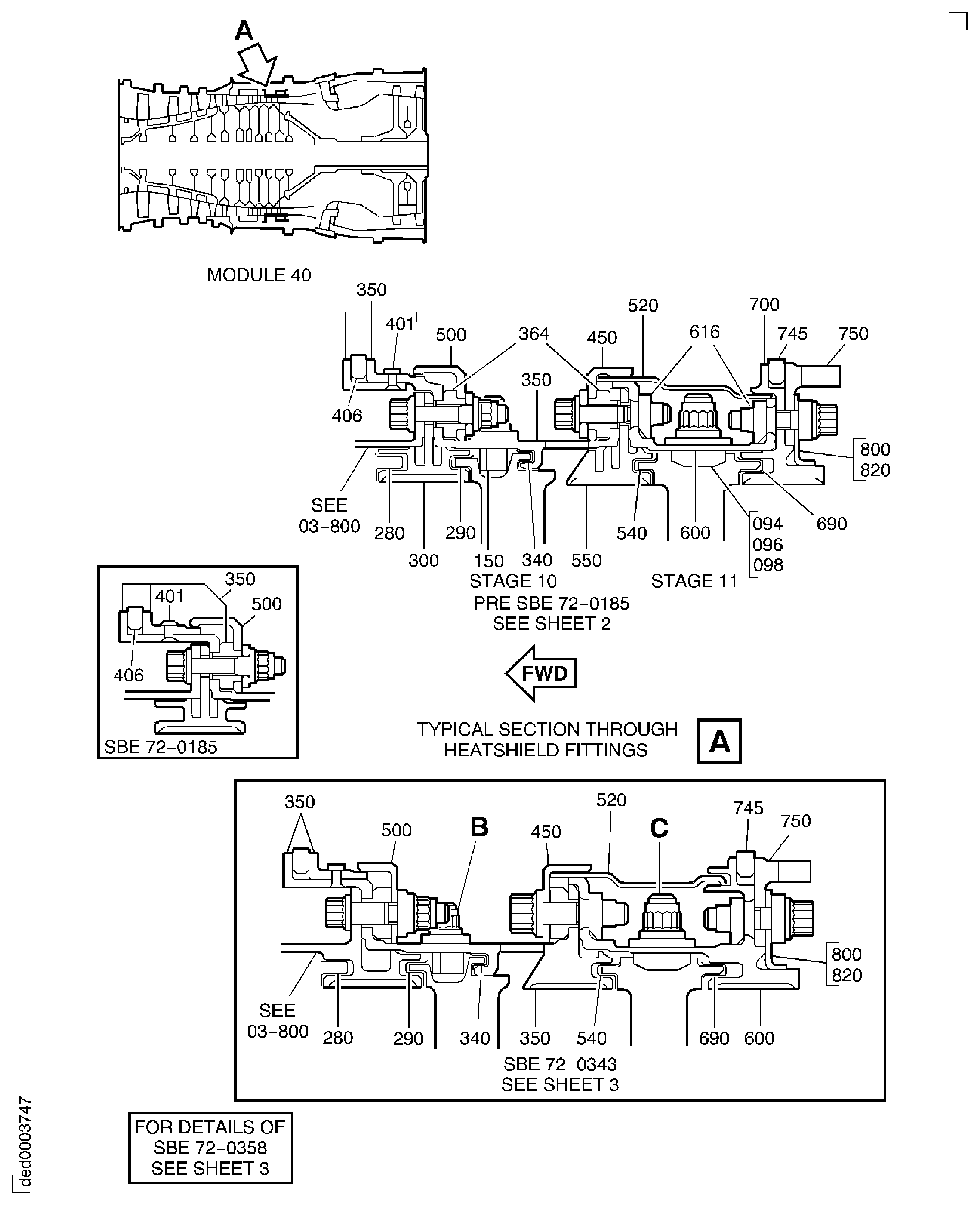
| Fig. Item | Part No. | Description | Effect/Model Applic. | UPA |
|---|---|---|---|---|
| 04 | ||||
| - | B72412104 | ENGINE-HP COMPRESSOR RING CASES, PRE SBE72-0154 | aa | |
| - | SBE0154-01 | ENGINE-HP COMPRESSOR RING CASES, PRE SBE70-0331 | ab | |
| - | SBE0331-01 | ENGINE-HP COMPRESSOR RING CASES, PRE SBE70-0353 | ac | |
| - | SBE0353-01 | ENGINE-HP COMPRESSOR RING CASES, PRE SBE72-0185 | ad | |
| - | SBE0185-01 | ENGINE-HP COMPRESSOR RING CASES, PRE SBE72-0263 | ae | |
| - | SBE0263-01 | ENGINE-HP COMPRESSOR RING CASES, PRE SBE70-0502 | af | |
| - | SBE0502-01 | ENGINE-HP COMPRESSOR RING CASES, PRE SBE72-0292 | ag | |
| - | SBE0292-01 | ENGINE-HP COMPRESSOR RING CASES, PRE SBE72-0296 | ah | |
| - | SBE0296-01 | ENGINE-HP COMPRESSOR RING CASES, PRE SBE72-0283 | ai | |
| - | SBE0283-01 | ENGINE-HP COMPRESSOR RING CASES, PRE SBE70-0645 | aj | |
| - | SBE0645-01 | ENGINE-HP COMPRESSOR RING CASES, PRE SBE70-0709 | ak | |
| - | SBE0709-01 | ENGINE-HP COMPRESSOR RING CASES, PRE SBE72-0343 | al | |
| - | SBE0343-01 | ENGINE-HP COMPRESSOR RING CASES, PRE SBE72-0358 | am | |
| - | SBE0358-01 | ENGINE-HP COMPRESSOR RING CASES, PRE SBE70-0947 | an | |
| - | SBE0947-01 | ENGINE-HP COMPRESSOR RING CASES, PRE SBE72-0612 | ao | |
| - | SBE0612-01 | ENGINE-HP COMPRESSOR RING CASES, PRE SBE72-0627 | ap | |
| - | SBE0627-01 | ENGINE-HP COMPRESSOR RING CASES | aq | |
| 094 | 6A4286 | • STRIP, INSULATION STAGE 11 PRE SBE72-0612 | aa-aq/01 | 3 |
| 094A | 6B1373 | • STRIP, INSULATION, STAGE 11 POST SBE72-0612 | ap-aq/01 | 3 |
| 096 | 6A4284 | • STRIP, INSULATION INTROSCOPE SEG, LONG, STAGE 11 PRE SBE72-0612 | aa-aq/01 | 1 |
| 096A | 6B1371 | • STRIP, INSULATION, STAGE 11 POST SBE72-0612 | ap-aq/01 | 1 |
| 098 | 6A4285 | • STRIP, INSULATION INTROSCOPE SEG, SHORT, STAGE 11 PRE SBE72-0612 | aa-aq/01 | 1 |
| 098A | 6B1372 | • STRIP, INSULATION, STAGE 11 POST SBE72-0612 | ap-aq/01 | 1 |
| 150 | 6A4287 | • STRIP, INSULATION PRE SBE72-0612 | aa-aq/01 | 4 |
| 150A | 6B1370 | • STRIP, INSULATION STAGE 10 POST SBE72-0612 | ap-aq/01 | 4 |
| 280 | 6A4272 | • LINER, STAGE 9, REAR | aa-aq/01 | 1 |
| 290 | 6A4273 | • LINER, STAGE 10, FRONT | aa-aq/01 | 1 |
| 300 | 6A4164 | • RING, STAGE 10 HP.COMPRESSOR PRE SBE72-0343 | aa-al/02 | 1 |
| 328 | 4W0001 | • NUT - .190 DIA (SEE APPENDIX 5) | aa-aq/01 | 4 |
| 329 | 4W2621 | • WASHER (SEE APPENDIX 5) | aa-aq/01 | 4 |
| 330 | UP60480 | • STOP, ANTI-ROT. STAGE 10 VANES PRE SBE70-0947 | aa-aq/01 | 4 |
| 330A | UP60480 | • STOP, ANTI-ROT. STAGE 10 VANES ALT 6A8852 POST SBE70-0947 | ao-aq/01 | 4 |
| 330B | 6A8852 | • STOP, ANTI-ROT. ALT UP60480 POST SBE70-0947 | ao-aq/01 | 4 |
| 340 | 6A4274 | • LINER, STAGE 10, REAR | aa-aq/01 | 1 |
| 350 | 6A5438 | • CASE, ASSY STG 10-HP COMPR PRE SBE72-0185 | aa-ad/03 | 1 |
| 350A | 6A5624 | • CASE, ASSY POST SBE72-0185 PRE SBE72-0296 | aa-ah/02 | 1 |
| 350B | 6A6512 | • CASE, ASSY, STAGE 10 POST SBE72-0296 PRE SBE72-0343 | ai-al/02 | 1 |
| 350C | 6A6551 | • CASE, ASSY, ROTOR PATH ST.11 POST SBE72-0343 PRE SBE72-0358 | am/02 | 1 |
| 350D | 6A7531 | • CASE, ASSY, ROTOR PATH ST.11 POST SBE72-0358 PRE SBE72-0627 | an-ap/01 | 1 |
| 350E | 6B1435 | • CASE, ASSY, ROTOR PATH ST.11 POST SBE72-0627 | aq/08 | 1 |
| 364 | UP60477 | • • SPACER (VRS6253) POST SBE70-0353 | *****/02 | 1 |
| 364A | UP11948 | • • SPACER POST SBE2-0296 | ai-aq/01 | 20 |
| 364B | UP11948 | • • SPACER (VRS6253) POST SBE72-0296 | *****/01 | 20 |
| -370 | 6A5625 | • • CASE, ASSY OF POST SBE72-0185 | ae-aq/03 | REF |
| -370A | 6A5625 | • • CASE, ASSY OF | aa-aq/05 | REF |
| -380 | AS44803 | • • PIN, SHOULDER,HEADLESS U1653 POST SBE72-0627 | aq/08 | 1 |
| 401 | AS16247 | • • • RIVET, SOLID UNIVERSAL HD, .094 DIA U1653 POST SBE72-0154 | ab-aq/06 | 48 |
| -402 | AS16647 | • • • RIVET - SOLID CSK HEAD U1653 POST SBE72-0185 | ae-aq/06 | REF |
| -402A | AS16647 | • • • RIVET - SOLID CSK HEAD U1653 | aa-aq/07 | REF |
| 402B | AS16647 | • • • RIVET - SOLID CSK HEAD U1653 POST SBE70-0709 | al-aq/03 | 1 |
| -403 | AS16688 | • • • RIVET, SOLID CSK HEAD U1653 POST SBE70-0709 | al-aq/06 | 1 |
| -404 | NND5474 | • • • RETAINER POST SBE72-0185 | ae-aq/03 | REF |
| -404A | NND5474 | • • • RETAINER | aa-aq/05 | REF |
| -404B | 6A7416 | • • • RETAINER POST SBE70-0709 | al-aq/03 | 1 |
| -404C | 6A7417 | • • • RETAINER POST SBE70-0709 | al-aq/02 | 1 |
| 406 | 6A5703 | • • • RING POST SBE70-0502 | ag-aq/01 | 1 |
| -410 | NND5475 | • • • CASE | aa-aq/02 | REF |
| -420 | 6A5703 | • RING POST SBE72-0627 | aq/08 | 1 |
| 450 | 6A4262 | • RETAINER, A/O STAGE 10, REAR PRE SBE72-0296 | aa-ah/02 | 2 |
| 450A | 6A6508 | • RETAINER, ASSY, STAGE 10 POST SBE72-0296 | ai-aq/02 | 2 |
| -456 | AS16246 | • • RIVET, SOLID UNIVERSAL HD U1653 POST SBE70-0645 | ak-aq/01 | 1 |
| -457 | AS16287 | • • RIVET - SOLID UNIVERSAL HD, .126 DIA X .276 U1653 POST SBE70-0645 | ak-aq/01 | 1 |
| -460 | 6A6518 | • • PLATE POST SBE70-0645 | ak-aq/01 | 1 |
| 500 | 6A4263 | • HEATSHLD, ASSY OF STAGE 10 FRONT PRE SBE72-0296 | aa-ah/02 | 2 |
| 500A | 6A6509 | • SHIELD, ASSY, HEAT-STAGE 10 POST SBE72-0296 PRE SBE72-0343 | ai-al/02 | 2 |
| 500B | 6A7568 | • SHIELD, ASSY, HEAT-STAGE 10 POST SBE72-0343 | am-aq/02 | 2 |
| 508 | AS16246 | • • RIVET, SOLID UNIVERSAL HD U1653 POST SBE70-0353 | ad-aq/01 | 1 |
| 509 | AS16287 | • • RIVET - SOLID UNIVERSAL HD, .126 DIA X .276 U1653 POST SBE70-0353 | ad-aq/06 | 1 |
| 512 | 6A5672 | • • PLATE POST SBE70-0353 | ad-aq/06 | 1 |
| 520 | 6A4264 | • HEATSHLD, ASSY OF STAGE 11 PRE SBE72-0283 | aa-ai/02 | 1 |
| 520A | 6A5979 | • SHIELD, HEAT-ASSY OF POST SBE72-0283 PRE SBE72-0343 | aj-al/02 | 1 |
| 520B | 6A6555 | • SHIELD, ASSY,HEAT-STAGE 11 POST SBE72-0343 | am-aq/02 | 1 |
| 540 | 6A4275 | • LINER, STAGE 11-FRONT | aa-aq/01 | 1 |
| 550 | 6A4297 | • RING, STAGE 11 HP. COMPRESSOR PRE SBE72-0343 | aa-al/02 | 1 |
| 588 | 4W0002 | • NUT - .250 DIA (SEE APPENDIX 5) | aa-aq/01 | 4 |
| 589 | 4W2622 | • WASHER (SEE APPENDIX 5) | aa-aq/01 | 4 |
| 590 | UP60479 | • STOP, ANTI-ROT. STAGE 7 VANES PRE SBE70-0947 | aa-an/06 | 4 |
| 590A | UP60479 | • STOP, ANTI-ROT. STAGE 7 VANES ALT 6A8851 POST SBE70-0947 | ao-aq/07 | 4 |
| 590B | 6A8851 | • STOP, ANTI-ROT. ALT UP60479 POST SBE70-0947 | ao-aq/01 | 4 |
| 600 | 6A4328 | • CASE, ASSY, STAGE 11 HP. COMPRESSOR PRE SBE72-0343 | aa-al/02 | 1 |
| 600A | 6A6552 | • CASE, ASSY, ROTOR PATH ST.12 POST SBE72-0343 PRE SBE72-0627 | am-ap/01 | 1 |
| 600B | 6B1436 | • CASE, ASSY, ROTOR PATH ST.12 PRE SBE72-0627 | aq/08 | 1 |
| 616 | AS44750 | • • NUT, SELF LOCKING SHANK U1653 (VRS6219) POST SBE70-0353 | *****/06 | 1 |
| 616A | AS44750 | • • NUT, SELF LOCKING SHANK U1653 | aa-aq/01 | 57 |
| 690 | 6A4276 | • LINER, STAGE 11, REAR | aa-aq/01 | 1 |
| 700 | 6A4166 | • RING, STAGE 12 HP. COMPRESSOR PRE SBE72-0343 | aa-al/02 | 1 |
| 745 | 6A2506 | • RING PRE SBE70-0331 | aa-ab/06 | 1 |
| 745A | 6A5757 | • RING, SEALING POST SBE70-0331 | ac-aq/06 | 1 |
| 745B | 6A5757 | • RING, SEALING | aa-aq/07 | 1 |
| 750 | 6A4179 | • RING PRE SBE72-0263 | aa-ae/01 | 1 |
| 750A | 6A5738 | • RING POST SBE72-0263 | af-aq/01 | 1 |
| 800 | 6A4265 | • HEATSHLD, ASSY OF STAGE 12, LH PRE SBE72-0292 | aa-ag/01 | 1 |
| 800A | 6A6560 | • SHIELD, ASSY HEAT, STAGE 12, LH POST SBE72-0292 PRE SBE72-0280 | *****/01 | 1 |
| 820 | 6A4266 | • HEATSHLD, ASSY OF STAGE 12-RH PRE SBE72-0292 | aa-ag/01 | 1 |
| 820A | 6A6561 | • SHIELD, ASSY HEAT, STAGE 12, RH POST SBE72-0292 PRE SBE72-0280 | *****/01 | 1 |
| - ITEM NOT ILLUSTRATED, ***** EFFECTIVITY NOT AVAILABLE | ||||
Figure: HPC Ring Cases And Related Parts
HPC Ring Cases And Related Parts

HPC Ring Cases And Related Parts

HPC Ring Cases And Related Parts

