Export Control
EAR Export Classification: Not subject to the EAR per 15 C.F.R. Chapter 1, Part 734.3(b)(3), except for the following Service Bulletins which are currently published as EAR Export Classification 9E991: SBE70-0992, SBE72-0483, SBE72-0580, SBE72-0588, SBE72-0640, SBE73-0209, SBE80-0024 and SBE80-0025.Copyright
© IAE International Aero Engines AG (2001, 2014 - 2021) The information contained in this document is the property of © IAE International Aero Engines AG and may not be copied or used for any purpose other than that for which it is supplied without the express written authority of © IAE International Aero Engines AG. (This does not preclude use by engine and aircraft operators for normal instructional, maintenance or overhaul purposes.).Applicability
V2500-A5
Common Information
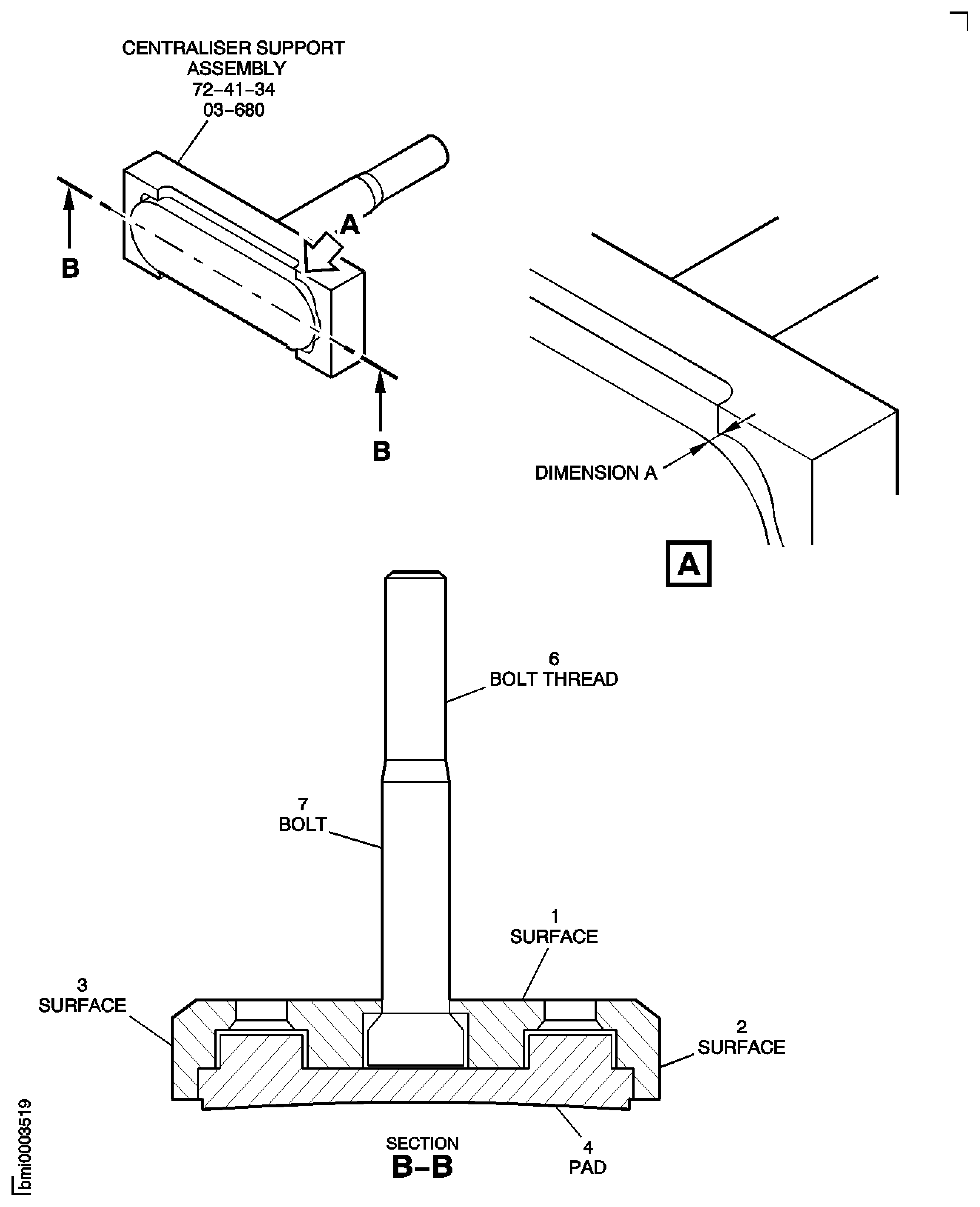
TASK 72-41-34-200-016-B00 HPC Stage 3 Vane Ring Centralizing Pad And Housing - Examine, Inspection-016
General
This TASK gives the procedure for the inspection of the Stage 3 centraliser support assembly.
Fig/item numbers in parentheses in the procedure agree with those used in the EIPC. Only the primary Fig/item numbers are used. For the service bulletin alpha variants refer to the EIPC.
The policy that is necessary for inspection is given in the SPM TASK 70-20-01-200-501.
All the parts must be cleaned before any part is examined.
All the parts must be visually examined for damage, corrosion and wear. Any defects that are not identified in the procedure must be referred to IAE.
The procedure for those parts which must have a crack test is given in Step. Do the crack test before the part is visually examined.
Do not discard any part until you are sure there are no repairs available. Refer to the instructions in repair before a discarded part is used again or oversize parts are installed.
Parts which should be discarded can be held although no repair is available. The repair of a discarded part could be shown to be necessary at a subsequent date.
All the parts must be examined to make sure that all the repairs have been completed satisfactorily.
The practices and processes referred to in the procedure by the TASK/SUBTASK numbers are in the SPM.
References
Refer to the SPM for data on these items:
Definition of Damage, SPM TASK 70-02-02-350-501.
Record and Control of the Lives of Parts, SPM TASK 70-05-00-220-501.
Inspection of Parts, SPM TASK 70-20-01-200-501.
Some data on these items is contained in this TASK. For more data on these item refer to the SPM:
Method of Testing for Crack Indications.
Chemical Processes.
Surface Protection.
Preliminary Requirements
Pre-Conditions
NONESupport Equipment
NONEConsumables, Materials and Expendables
NONESpares
NONESafety Requirements
NONEProcedure
Clean the parts. Refer to TASK 72-41-34-100-000 (CLEANING-000).
SUBTASK 72-41-34-230-179 Examine the Stage 3 Centraliser Support Assembly for Cracks
Repair, VRS9539 TASK 72-41-34-300-065 (REPAIR-065).
Loose.
Repair, VRS9539 TASK 72-41-34-300-065 (REPAIR-065).
More than in Step.
Scored.
Repair, VRS9539 TASK 72-41-34-300-065 (REPAIR-065).
More than in Step.
Nicks.
Repair, VRS9539 TASK 72-41-34-300-065 (REPAIR-065).
Less than in Step.
Chipped.
Repair, VRS9539 TASK 72-41-34-300-065 (REPAIR-065).
Less than in Step.
Wear.
Bearing surface.
SUBTASK 72-41-34-220-636 Examine the Stage 3 Centraliser Support Assembly Pads at Locations 4 and 5
Figure: Stage 3 Centaliser Support Assembly - Inspection Locations
Stage 3 Centaliser Support Assembly - Inspection Locations

Figure: Stage 3 Centaliser Support Assembly - Inspection Locations
Stage 3 Centaliser Support Assembly - Inspection Locations

