DMC:V2500-A5-79-21-42-01A-941A-DIssue No:005.00Issue Date:2018-11-01
Export Control
EAR Export Classification: Not subject to the EAR per 15 C.F.R. Chapter 1, Part 734.3(b)(3), except for the following Service Bulletins which are currently published as EAR Export Classification 9E991: SBE70-0992, SBE72-0483, SBE72-0580, SBE72-0588, SBE72-0640, SBE73-0209, SBE80-0024 and SBE80-0025.Copyright
© IAE International Aero Engines AG (2001, 2014 - 2021) The information contained in this document is the property of © IAE International Aero Engines AG and may not be copied or used for any purpose other than that for which it is supplied without the express written authority of © IAE International Aero Engines AG. (This does not preclude use by engine and aircraft operators for normal instructional, maintenance or overhaul purposes.).Applicability
V2500-A5
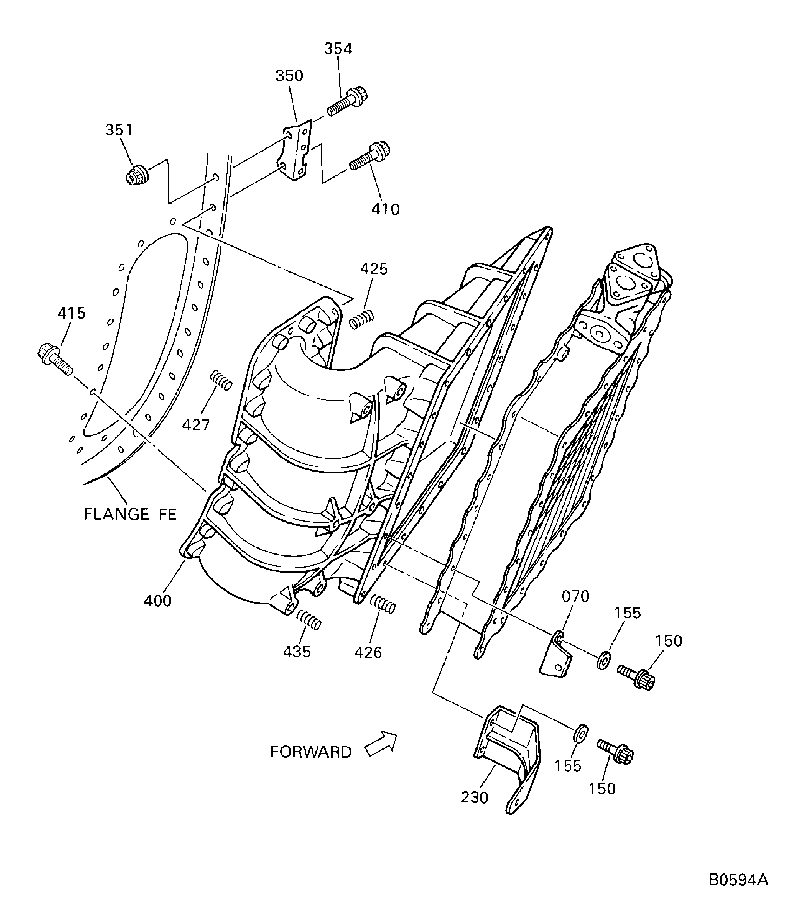
| Fig. Item | Part No. | Description | Effect/Model Applic. | UPA |
|---|---|---|---|---|
| 01 | ||||
| - | B79214201 | OIL - AIR COOLED OIL COOLER, PRE SBE79-0038 | aa | |
| - | SBE0038-01 | OIL - AIR COOLED OIL COOLER, PRE SBE79-0045 | ab | |
| - | SBE0045-01 | OIL - AIR COOLED OIL COOLER, PRE SBE79-0050 | ac | |
| - | SBE0050-01 | OIL - AIR COOLED OIL COOLER, PRE SBE70-0568 | ad | |
| - | SBE0568-01 | OIL - AIR COOLED OIL COOLER, PRE SBE70-0274 | ae | |
| - | SBE0274-01 | OIL - AIR COOLED OIL COOLER, PRE SBE79-0094 | af | |
| - | SBE0094-01 | OIL - AIR COOLED OIL COOLER, PRE SBE70-0988 | ag | |
| - | SBE0988-01 | OIL - AIR COOLED OIL COOLER | ah | |
| - | SBE0109-01 | OIL-AIR COOLED OIL COOLER | ai | |
| 070 | 5W0091 | • BRACKET - ASSEMBLY OF | aa-ah/01 | 1 |
| 084 | 6A4682 | • BRACKET ALT 5W8327 POST SBE70-0568 | ae-ah/02 | 1 |
| 084A | 6A4682 | • BRACKET | aa-ah/03 | 1 |
| 084B | 5W8327 | • BRACKET ALT 6A4682 POST SBE70-0568 | ae-ah/01 | 1 |
| 084C | 6A4682 | • BRACKET POST SBE70-0568 | ae-ah/01 | 1 |
| 088 | 6A4683 | • BRACKET PRE SBE70-0568 | aa-ad/02 | 1 |
| 088A | 6A4683 | • BRACKET | aa-ah/03 | 1 |
| 088B | 5W8377 | • BRACKET ALT 6A4683 POST SBE70-0568 | ae-ah/01 | 1 |
| 090 | 6A4684 | • BRACKET - ASSEMBLY OF PRE SBE70-0568 | aa-ad/02 | 1 |
| 090A | 6A4684 | • BRACKET - ASSEMBLY OF | aa-ah/03 | 1 |
| 090B | 6A4684 | • BRACKET - ASSEMBLY OF ALT 5W8537 POST SBE70-0568 | ae-ah/01 | 1 |
| 090C | 5W8537 | • BRACKET ALT 6A4684 POST SBE70-0568 | ae-ah/01 | 1 |
| 100 | 0A2730-001 | • COOLER - OIL, AIR, COOLED SG215 PRE SBE79-0050 | aa-ac/02 | 1 |
| 100A | 50026001-1 | • COOLER - OIL SG215 PRE SBE79-0094 PRE SBE79-0109 | aa-af/04 | 1 |
| 100B | 50026001-1 | • COOLER - OIL SG215 POST SBE79-0050 PRE SBE79-0094 PRE SBE79-0109 | ad-af/03 | 1 |
| 100C | 50069001-1 | • COOLER - OIL, AIR, COOLED SG215 POST SBE79-0094 PRE SBE79-0109 | ag-ah/01 | 1 |
| 100D | 50102001-1 | • COOLER - OIL AIR COOLED SG215 POST SBE79-0109 | ae/01 | 1 |
| 135 | 4W0169 | • BOLT, MACHINE DOUBLE HEX - .250 DIA X .938 | aa-ah/01 | 2 |
| 140 | MS9321-10 | • WASHER - FLAT, 0.500 X 0.276 X 0.062 96906 | aa-ah/01 | 2 |
| 150 | 4W0169 | • BOLT, MACHINE DOUBLE HEX - .250 DIA X .938 | aa-ah/01 | 22 |
| 155 | MS9321-10 | • WASHER - FLAT, 0.500 X 0.276 X 0.062 96906 | aa-ah/01 | 22 |
| 170 | MS9954-03 | • • PLUG - OIL, FILLER 96906 | aa-ah/01 | 1 |
| 175 | MS9387-03 | • • PACKING - PREFORMED 96906 PRE SBE70-0988 | aa-ag/02 | 1 |
| 175A | MS9387-03 | • • PACKING - PREFORMED 96906 | aa-ah/03 | 1 |
| 175B | AS3208-03 | • • PACKING - PREFORMED U1653 ALT M83248-1-903 POST SBE70-0988 | ah/02 | 1 |
| 175C | M83248-1-903 | • • PACKING - PERFORMED 81349 ALT AS3208-03 POST SBE70-0988 | ah/02 | REF |
| 220 | 740-5450-503 | • SUPPORT - CABLE 51563 | aa-ah/01 | 1 |
| 230 | 740-5951-505 | • BRACKET 51563 PRE SBE79-0038 | aa/02 | 1 |
| 230A | 745-5951-501 | • BRACKET - IDG CABLE 51563 POST SBE79-0038 PRE SBE79-0045 | ab/02 | 1 |
| 230B | 745-5951-503 | • BRACKET - IDG CABLE 51563 POST SBE79-0045 | ac-ah/01 | 1 |
| 235 | 740-5926-505 | • BRACKET 51563 | aa-ah/01 | 1 |
| 350 | 6A4685 | • BRACKET PRE SBE70-0568 | aa-ad/02 | 1 |
| 350A | 6A4685 | • BRACKET | aa-ah/03 | 1 |
| 350B | 6A4685 | • BRACKET ALT 5W8257 POST SBE70-0568 | ae-ah/01 | 1 |
| 350C | 5W8257 | • BRACKET ALT 6A4685 POST SBE70-0568 | ae-ah/01 | 1 |
| 351 | 4W0002 | • NUT, SELF LOCKING DBL HEX - .250 DIA | aa-ah/01 | 1 |
| 354 | 4W0165 | • BOLT, MACHINE DOUBLE HEX - .250 DIA X .688 | aa-ah/01 | 1 |
| 400 | 5T0067 | • DUCT - INLET ACOC, ASSEMBLY OF PRE SBE70-0274 | aa-ae/02 | 1 |
| 400A | 5T0067 | • DUCT - INLET ACOC, ASSEMBLY OF ALT 5T0170 POST SBE70-0274 | af-ah/03 | 1 |
| 400B | 5T0170 | • DUCT - INLET ACOC, ASSEMBLY OF ALT 5T0067 POST SBE70-0274 | af-ah/01 | 1 |
| 410 | 4W0168 | • BOLT, MACHINE DOUBLE HEX - .250 DIA X .875 | aa-ah/01 | 10 |
| 415 | 4W1250 | • BOLT - 0.250 DIA X 1.000 | aa-ai/01 | 12 |
| 425 | AGS3782 | • • INSERT, SCREW THREAD | aa-ah/01 | 10 |
| 426 | AGS3782 | • • INSERT, SCREW THREAD | aa-ah/01 | 22 |
| 427 | AGS3782 | • • INSERT, SCREW THREAD | aa-ah/01 | 12 |
| 435 | AGS3781 | • • INSERT, SCREW THREAD | aa-ah/01 | 6 |
| -700 | AS43013-118 | • RING - SEALING, TOROIDAL U1653 (SEE 79-21-49-01-498 ) | aa-ah/01 | REF |
| -700A | MS9966-13 | • PACKING - PREFORMED 96906 (SEE 79-21-49-01- 096 ) | aa-ah/01 | REF |
| -710 | AS43013-118 | • RING - SEALING, TOROIDAL U1653 (SEE 79-21-49-02-096 ) | aa-ah/01 | REF |
| -720 | AS43013-112 | • RING - 12.37 MM ID X 2.62 MM U1653 (SEE 79-32-15-01-220) | aa-ah/01 | REF |
| - ITEM NOT ILLUSTRATED, ***** EFFECTIVITY NOT AVAILABLE | ||||
Figure: Air Cooled Oil Cooler (ACOC) And Inlet Duct
Air Cooled Oil Cooler (ACOC) And Inlet Duct

Air Cooled Oil Cooler (ACOC) And Inlet Duct

