Export Control
EAR Export Classification: Not subject to the EAR per 15 C.F.R. Chapter 1, Part 734.3(b)(3), except for the following Service Bulletins which are currently published as EAR Export Classification 9E991: SBE70-0992, SBE72-0483, SBE72-0580, SBE72-0588, SBE72-0640, SBE73-0209, SBE80-0024 and SBE80-0025.Copyright
© IAE International Aero Engines AG (2001, 2014 - 2021) The information contained in this document is the property of © IAE International Aero Engines AG and may not be copied or used for any purpose other than that for which it is supplied without the express written authority of © IAE International Aero Engines AG. (This does not preclude use by engine and aircraft operators for normal instructional, maintenance or overhaul purposes.).Applicability
All
Common Information
TASK 71-71-49-200-101 Fuel Drain Tubes - Examine, Inspection-001
Effectivity
FIG/ITEM | PART NO. |
01-100 | 740-5276-503 |
01-100 | 745-5276-501 |
01-500 | 740-5277-503 |
01-500 | 740-5277-505 |
01-500 | 740-5277-507 |
01-500 | 740-5277-509 |
02-100 | 740-5279-505 |
02-100 | 740-5279-507 |
02-100 | 740-5279-509 |
02-100 | 745-5279-501 |
02-100 | 745-5279-503 |
02-500 | 740-5278-505 |
02-500 | 740-5278-503 |
02-500 | 740-5278-505 |
02-500 | 740-5278-507 |
02-500 | 740-5278-509 |
02-500 | 740-5278-511 |
General
This TASK gives the procedure for the inspection of the fuel drain tubes.
Fig/item numbers in parentheses in the procedure agree with those used in the IPC.
The policy that is necessary for inspection is given in SPM TASK 70-20-00-200-501.
All the parts must be cleaned before any part is examined. Refer to Cleaning-000 TASK 71-71-49-100-100.
All parts must be visually examined for damage, corrosion and wear. Any defects that are not identified in the procedure must be referred to IAE.
The procedure for those parts which must have a crack test is given in SUBTASK 71-71-49-230-051. Do the test before the part is visually examined.
Do not discard any part until you are sure there are no repairs available. Refer to the instructions in Repair before a discarded part is used again or oversize parts are installed.
Parts which should be discarded can be held although no repair is available. The repair of a discarded part could be shown to be necessary at a later date.
All parts must be examined to make sure that all the repairs have been completed satisfactorily.
The practices and processes referred to in the procedure by the TASK numbers are in the SPM.
References
Refer to the SPM for data on these items.
Definitions of Damage, SPM TASK 70-02-02-350-501.
Record and Control of the Lives of Parts, SPM TASK 70-05-00-220-501.
Inspection of Parts, SPM TASK 70-20-00-200-501 .
Some data on these items is contained in this TASK. For more data on these items refer to the SPM.
Method of testing for crack indications
Chemical processes
Surface protection
Preliminary Requirements
Pre-Conditions
NONESupport Equipment
NONEConsumables, Materials and Expendables
NONESpares
NONESafety Requirements
NONEProcedure
Clean the tube. Refer to Cleaning-000 TASK 71-71-49-100-100.
Repair, VRS7001 ( Repair-001) SPM TASK 70-35-24-300-501
Cracked
Fluorescent penetrant examine the tube for cracks. Use the applicable penetrant procedure. SPM TASK 70-23-01-230-501.
SUBTASK 71-71-49-230-052 Examine the Fuel Drain Tube (01-100, 01-500, 02-100, 02-500) and All Welds for Cracks
Repair, VRS2885 (Repair-002) TASK 71-71-49-300-002 or Repair, VRS7001 (Repair-001) SPM TASK 70-35-24-300-501 .
Other than in Step.
Pitted
Repair, VRS2885 (Repair-002) TASK 71-71-49-300-002.
Up to 0.014 in. (0.36 mm).
Repair, VRS7001 (Repair-001) SPM TASK 70-35-24-300-501.
More than in Step.
Nicked
Repair, VRS2885 (Repair-002) TASK 71-71-49-300-002.
Up to 0.014 in. (0.36 mm) deep.
Repair, VRS7001 (Repair-001) SPM TASK 70-35-24-300-501.
More than in Step.
Scratched
Repair, VRS7001 (Repair-001) SPM TASK 70-35-24-300-501.
Other than in Step.
One or more dents, with more than 1.00 in. (25.40 mm) between the edges of each of the dents.
Repair, VRS7001 (Repair-001) SPM TASK 70-35-24-300-501.
More than one dent, with less than 1.00 in. (25.4 mm) between the edges of each of the dents.
Dented
Repair, VRS2885 (Repair-002) TASK 71-71-49-300-002.
Up to 0.014 in. (0.36 mm) deep.
Repair, VRS7001 (Repair-001) SPM TASK 70-35-24-300-501.
More than in Step.
Rubbed
SUBTASK 71-71-49-220-051 Examine the Fuel Drain Tube (01-100, 01-500, 02-100, 02-500) at Locations R
Repair, VRS2885 (Repair-002) TASK 71-71-49-300-002 or SPM (Repair-001) TASK 70-35-24-300-501.
Other than in Step.
Pitted
Repair, VRS2885 (Repair-002) TASK 71-71-49-300-002 .
Up to 0.014 in. (0.36 mm).
Repair, VRS7001 (Repair-001) SPM TASK 70-35-24-300-501.
More than in Step.
Nicked
Repair, VRS2885 (Repair-002) TASK 71-71-49-300-002.
Up to 0.014 in. (0.36 mm) deep.
Repair, VRS7001 (Repair-001) SPM TASK 70-35-24-300-501.
More than in Step.
Scratched
Repair, VRS7001 (Repair-001) SPM TASK 70-35-24-300-501.
Other than in Step.
One or more dents, with more than 1.00 in. (25.4 mm) between the edges of each of the dents.
Repair, VRS7001 (Repair-001) SPM TASK 70-35-24-300-501.
More than one dent, with less than 1.00 in. (25.4 mm) between the edges of each of the dents.
Dented
Repair, VRS2885 (Repair-002) TASK 71-71-49-300-002.
Up to 0.014 in. (0.36 mm) deep.
Repair, VRS7001 (Repair-001) SPM TASK 70-35-24-300-501.
More than in Step.
Rubbed
SUBTASK 71-71-49-220-052 Examine the Fuel Drain Tube (01-100, 01-500, 02-100, 02-500) at Locations S
Repair, VRS2885 (Repair-002) TASK 71-71-49-300-002 or Repair, VRS7001 (Repair-001) SPM TASK 70-35-24-300-501.
More than in Step.
Nicked
Repair, VRS2885 (Repair-002) TASK 71-71-49-300-002 or Repair, VRS7001 (Repair-001) SPM TASK 70-35-24-300-501.
Burred
Repair, VRS2938 (Repair-005) TASK 71-71-49-300-005 or Repair, VRS7001 (Repair-001) SPM TASK 70-35-24-300-501 .
Damage to the lock-wire holes.
Repair, VRS7001 (Repair-001) SPM TASK 70-35-24-300-501.
Damage to threads.
Damaged
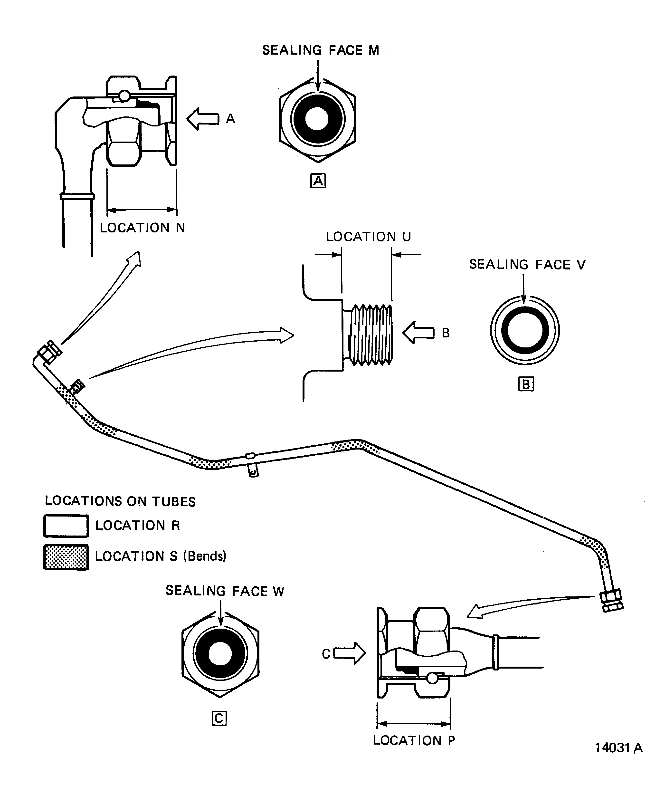
SUBTASK 71-71-49-220-053 Examine the Fuel Drain Tube (01-100, 01-500, 02-100, 02-500) End Connectors at Locations N and P
Repair, VRS2885 (Repair-002) TASK 71-71-49-300-002.
Circumferential scratches up to 0.010 in. (0.25 mm) deep.
Repair, VRS7001 (Repair-001) SPM TASK 70-35-24-300-501.
More than in Step.
Scratched
SUBTASK 71-71-49-220-054 Examine the Fuel Drain Tube (01-100, 02-100) Sealing - Faces V and W
Repair, VRS2885 (Repair-002) TASK 71-71-49-300-002.
Circumferential scratches up to 0.010 in. (0.25 mm) deep.
Repair, VRS7001 (Repair-001) SPM TASK 70-35-24-300-501.
More than in Step.
Scratched
SUBTASK 71-71-49-220-055 Examine the Fuel Drain Tube (01-500, 02-500) Sealing - Faces V, W and M
Repair, VRS2944 (Repair-001) TASK 71-71-49-300-001 or Repair, VRS7001 (Repair-001) SPM TASK 70-35-24-300-501
Distorted
SUBTASK 71-71-49-220-056 Examine the Fuel Drain Tube (01-500, 02-100, 02-500) Support Clips
Figure: Locations on the Fuel Drain Tube (01-100)
Locations on the Fuel Drain Tube (01-100)

Figure: Locations on the Fuel Drain Tube (01-500)
Locations on the Fuel Drain Tube (01-500)

Figure: Locations on the Fuel Drain Tube (02-500)
Locations on the Fuel Drain Tube (02-500)

Figure: Locations on the Fuel Drain Tube (02-100)
Locations on the Fuel Drain Tube (02-100)

