Export Control
EAR Export Classification: Not subject to the EAR per 15 C.F.R. Chapter 1, Part 734.3(b)(3), except for the following Service Bulletins which are currently published as EAR Export Classification 9E991: SBE70-0992, SBE72-0483, SBE72-0580, SBE72-0588, SBE72-0640, SBE73-0209, SBE80-0024 and SBE80-0025.Copyright
© IAE International Aero Engines AG (2001, 2014 - 2021) The information contained in this document is the property of © IAE International Aero Engines AG and may not be copied or used for any purpose other than that for which it is supplied without the express written authority of © IAE International Aero Engines AG. (This does not preclude use by engine and aircraft operators for normal instructional, maintenance or overhaul purposes.).Applicability
All
Common Information
TASK 72-31-11-300-001 Annulus Filler - Repair The Surface Damage, Repair 001(VRS1004)
Effectivity
FIG/ITEM PART NO. | |
|---|---|
01-100 | 5A0353 Assembly A |
01-100 | 5A1638 Assembly B |
01-100 | 5A6533 Assembly A |
01-100 | 5A1854 Assembly B |
General
Price and availability - none
The practices and processes referred to in the procedure by the TASK numbers are in the SPM.
NOTE
Preliminary Requirements
Pre-Conditions
NONESupport Equipment
| Name | Manufacturer | Part Number / Identification | Quantity | Remark |
|---|---|---|---|---|
| Weighing equipment | LOCAL | Weighing equipment |
Consumables, Materials and Expendables
| Name | Manufacturer | Part Number / Identification | Quantity | Remark |
|---|---|---|---|---|
| CoMat 05-020 WATERPROOF SILICON CARBIDE | LOCAL | CoMat 05-020 | ||
| CoMat 05-021 WATERPROOF SILICON CARBIDE | 44197 | CoMat 05-021 | ||
| CoMat 01-275 CHROMATE CONVERSION COATING FOR ALUMINIUM | LOCAL | CoMat 01-275 | ||
| CoMat 10-004 DRY FILM LUBRICANT | LOCAL | CoMat 10-004 |
Spares
NONESafety Requirements
NONEProcedure
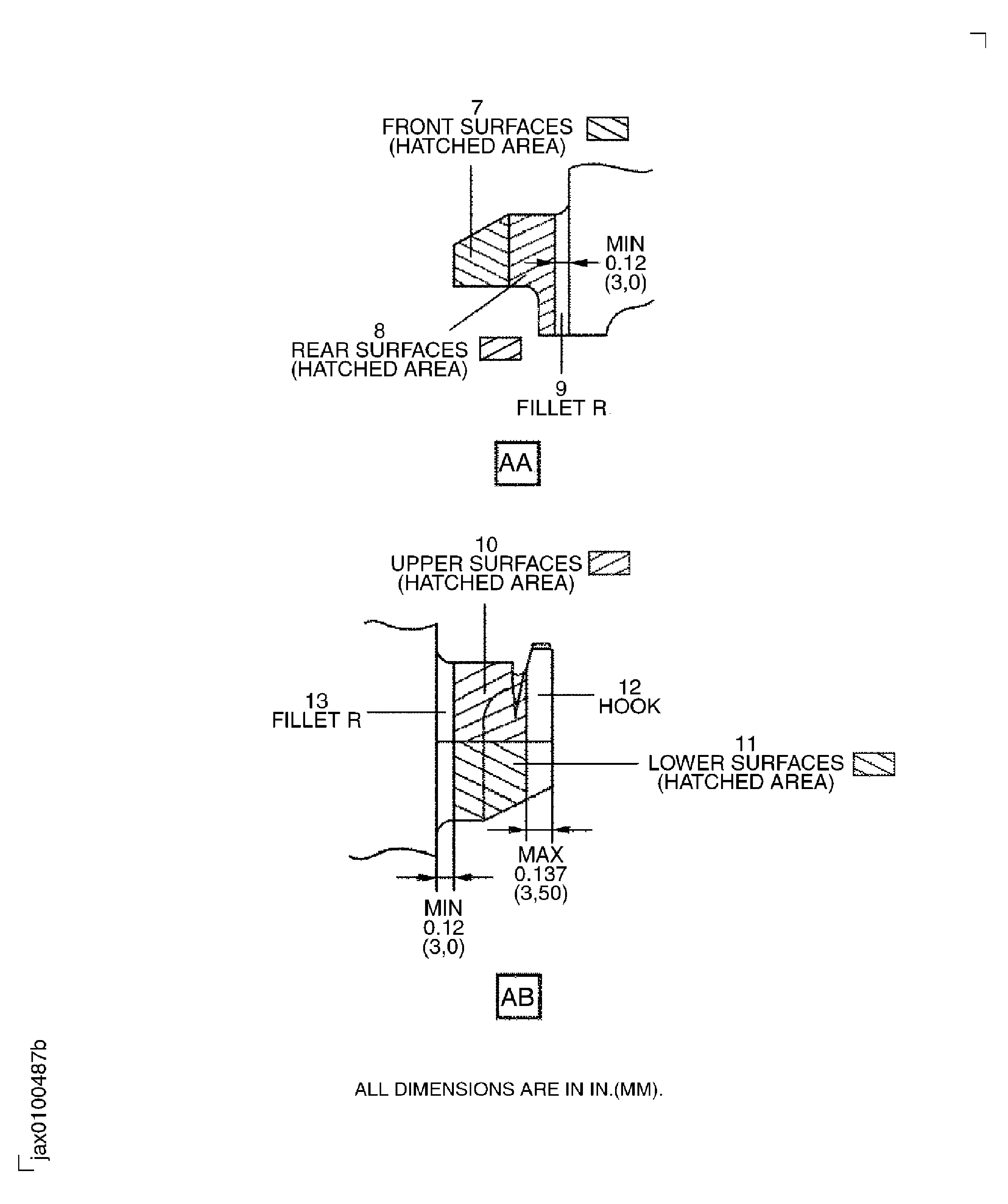
Use abrasive stone or paper and/or fine file.
Refer to the SPM TASK 70-35-03-300-501.
The diameter of the repaired area is to be minimum 5 times the depth.
Remove nicks, scratches, dents, galls, corrosion pits and/or damage.
SUBTASK 72-31-11-350-051 Remove the Damage from the Annulus Filler Assembly
If the weight is not more than 17.54 oz (497.1 g), reject it.
FIG/ITEM
PART NO.
PART IDENT
QTY
01-130
5A1112
Suction side seal
1
01-140
5A1113
Pressure side seal
1
01-150
5A1114
Pad bumper
1
01-180
5A1116
Locating pin
1
01-190
AGS3782
Thread insert
1
NOTE
The following parts must be included in the weight per one annulus filler assembly. If any parts are not installed, weigh together with the repaired annulus filler and new spare of the attaching parts.
For Assembly B.
SUBTASK 72-31-11-350-131 Weigh the Repaired Annulus Filler Assembly
Refer to Repair, VRS1009 TASK 72-31-11-300-002 (REPAIR-002) or VRS1016 TASK 72-31-11-300-027 (REPAIR-027).
Apply the heat resisting E.S. coating.
SUBTASK 72-31-11-380-052 Apply the Heat Resisting E.S. Coating to the Annulus Filler Assembly
Refer to Repair, VRS1008 TASK 72-31-11-300-004 (REPAIR-004).
SUBTASK 72-31-11-380-053 Apply the Dry Film Lubricant to the Annulus Filler Assembly
Refer to the SPM TASK 70-38-02-300-503, SUBTASK 70-38-02-300-002.
Apply chromate conversion coating to the marking letters.
SUBTASK 72-31-11-350-132 Identify the Repair
Figure: Repair Details and Dimensions
Sheet 1

Figure: Repair Details and Dimensions
Sheet 2

Figure: Repair Details and Dimensions
Sheet 3

