Export Control
EAR Export Classification: Not subject to the EAR per 15 C.F.R. Chapter 1, Part 734.3(b)(3), except for the following Service Bulletins which are currently published as EAR Export Classification 9E991: SBE70-0992, SBE72-0483, SBE72-0580, SBE72-0588, SBE72-0640, SBE73-0209, SBE80-0024 and SBE80-0025.Copyright
© IAE International Aero Engines AG (2001, 2014 - 2021) The information contained in this document is the property of © IAE International Aero Engines AG and may not be copied or used for any purpose other than that for which it is supplied without the express written authority of © IAE International Aero Engines AG. (This does not preclude use by engine and aircraft operators for normal instructional, maintenance or overhaul purposes.).Applicability
All
Common Information
TASK 72-32-19-200-001-A00 Hydraulic Seal - Examine, Inspection-001
General
This TASK gives the procedure for the inspection of the hydraulic seal assembly.
Fig/item numbers in parentheses in the procedure agree with those used in the IPC.
The policy that is necessary for inspection is given in the SPM TASK 70-20-01-200-501.
All the parts must be cleaned before any part is examined.
All the parts must be visually examined for damage, corrosion and wear. Any defects that are not identified in the procedure must be referred to IAE.
The procedure for those parts which must have a crack test is given in Step. Do the test before the part is visually examined.
Do not discard any part until you are sure there are no repairs available. Refer to the instructions in the repair before a discarded part is used again or oversize parts are installed.
Parts which must be discarded can be held although no repair is available. The repair of a discarded part could be shown to be necessary at a later date.
All the parts must be examined to make sure that all the repairs have been completed satisfactorily.
The practices and processes referred to in the procedure by the TASK numbers are in the SPM.
References
Refer to the SPM for data on these items.
Definitions of Damage, SPM TASK 70-02-02-350-501
Inspection of Parts, SPM TASK 70-20-01-200-501
Some data on these items are contained in this TASK. For more data on these items refer to the SPM.
Methods of Testing for Crack Indications
Chemical Processes
Surface Protection
NOTE
Preliminary Requirements
Pre-Conditions
NONESupport Equipment
| Name | Manufacturer | Part Number / Identification | Quantity | Remark |
|---|---|---|---|---|
| Fluorescent Penetrant Inspection Equipment | LOCAL | Fluorescent penetrant inspection equipment | ||
| IAE 2J12624 Inspection gage | 0AM53 | IAE 2J12624 | 1 |
Consumables, Materials and Expendables
NONESpares
NONESafety Requirements
NONEProcedure
Clean the part. Refer to TASK 72-32-19-100-000 (CLEANING-000).
Do the test for cracks on the part that is given below.
PART IDENT
TASK/SUBTASK
Hydraulic seal assembly
SPM TASK TASK 70-23-02-230-501
SUBTASK 72-32-19-230-053 Examine the Hydraulic Seal Assembly (01-100) for Cracks
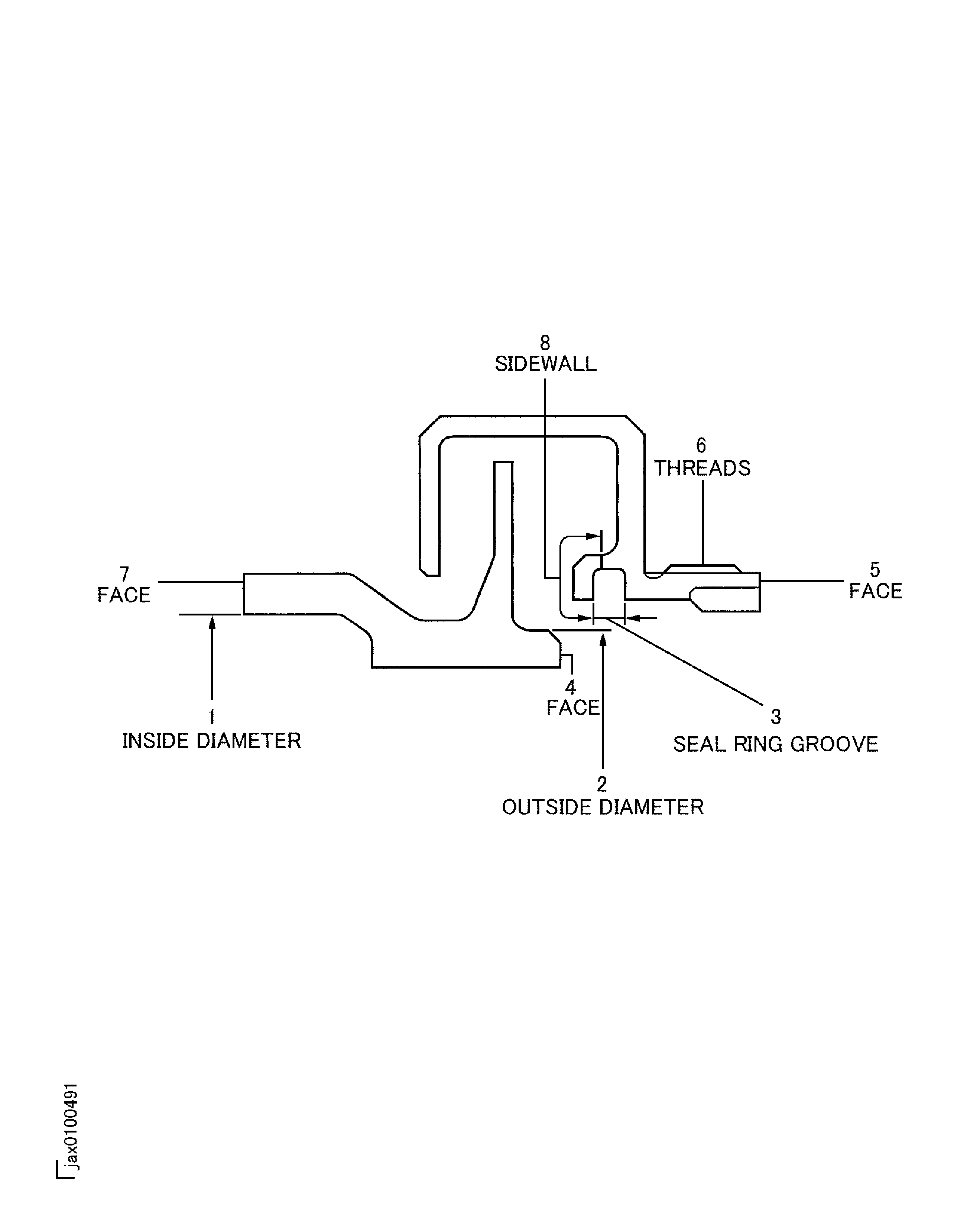
Refer to Figure.
SUBTASK 72-32-19-220-065 Examine the Hydraulic Seal Assembly (01-100) Inside Diameter
Refer to Figure.
Use IAE 2J12624 Inspection gage 1 off or equivalent.
SUBTASK 72-32-19-220-066 Examine the Hydraulic Seal Assembly (01-100) Outside Diameter
Refer to Figure.
Repair, VRS1228 TASK 72-32-19-300-003 (REPAIR-003) or Repair, VRS1233 TASK 72-32-19-300-006 (REPAIR-006)
Galled
Repair, VRS1228 TASK 72-32-19-300-003 (REPAIR-003)
NOTE
Do VRS1233 TASK 72-32-19-300-006 if the damage can not be removed by VRS1228.Burrs
Examine the face at location 4.
Repair, VRS1228 TASK 72-32-19-300-003 (REPAIR-003)
Galled
Repair, VRS1228 TASK 72-32-19-300-003 (REPAIR-003)
Burrs
Examine the face at locations 5 and 7.
SUBTASK 72-32-19-220-068 Examine the Hydraulic Seal Assembly (01-100) Faces
Refer to Figure.
Repair, VRS1229 TASK 72-32-19-300-004 (REPAIR-004)
Missing dry film lubricant
Repair, VRS1228 TASK 72-32-19-300-003 (REPAIR-003)
Burrs
Examine the threads at location 6.
SUBTASK 72-32-19-220-069 Examine the Hydraulic Seal Assembly (01-100) Threads
Refer to Figure.
Repair, VRS1228 TASK 72-32-19-300-003 (REPAIR-003)
Nicked
Repair, VRS1228 TASK 72-32-19-300-003 (REPAIR-003)
Scratched
Examine the sidewall at location 8.
SUBTASK 72-32-19-220-080 Examine the Hydraulic Seal Assembly (01-100) Sidewall
Refer to Figure.
Repair, VRS1228 TASK 72-32-19-300-003 (REPAIR-003)
Nicked
Repair, VRS1228 TASK 72-32-19-300-003 (REPAIR-003)
Scratched
Examine the surfaces which do not include the identified locations.
SUBTASK 72-32-19-220-070 Examine the Hydraulic Seal Assembly (01-100) Surfaces
Figure: Location on the hydraulic seal assembly
Location on the hydraulic seal assembly

