Export Control
EAR Export Classification: Not subject to the EAR per 15 C.F.R. Chapter 1, Part 734.3(b)(3), except for the following Service Bulletins which are currently published as EAR Export Classification 9E991: SBE70-0992, SBE72-0483, SBE72-0580, SBE72-0588, SBE72-0640, SBE73-0209, SBE80-0024 and SBE80-0025.Copyright
© IAE International Aero Engines AG (2001, 2014 - 2021) The information contained in this document is the property of © IAE International Aero Engines AG and may not be copied or used for any purpose other than that for which it is supplied without the express written authority of © IAE International Aero Engines AG. (This does not preclude use by engine and aircraft operators for normal instructional, maintenance or overhaul purposes.).Applicability
All
Common Information
TASK 72-32-21-200-003-A00 No. 3 Bearing Housing - Examine, Inspection-003
General
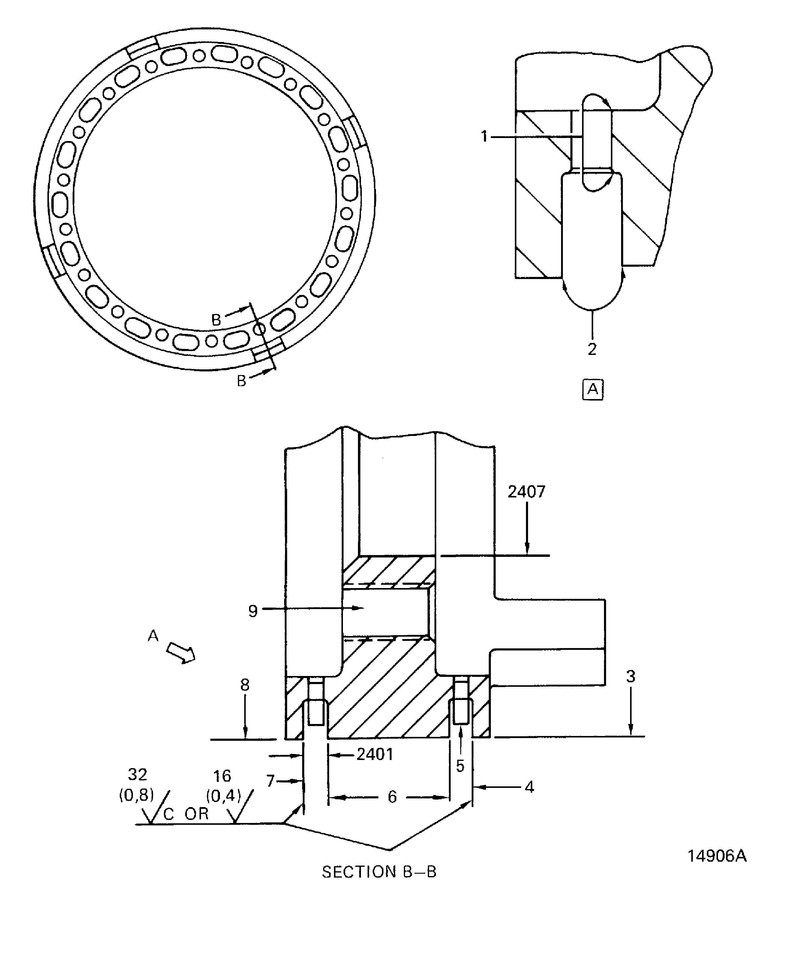
This TASK gives the procedure for the inspection of the No.3 bearing housing assembly. For the other parts of the No. 3 bearing housing, refer to TASK 72-32-21-200-000 (INSPECTION-000).
Fig/item numbers in parentheses in the procedure agree with those used in the IPC.
The policy that is necessary for inspection is given in the SPM TASK 70-20-00-200-501.
All the parts must be cleaned before any part is examined. Refer to TASK 72-32-21-100-000 (CLEANING-000).
All parts must be visually examined for damage, corrosion and wear. Any defects that are not identified in the procedure must be referred to IAE.
The procedure for those parts which must have a crack test is given in SUBTASK 72-32-21-230-052. Do the test before the part is visually examined.
Do not discard any part until you are sure there are no repairs available. Refer to the instructions in Repair before a discarded part is used again or oversize parts are installed.
Parts which should be discarded can be held although no repair is available. The repair of a discarded part could be shown to be necessary at a later date.
All parts must be examined to make sure that all the repairs have been completed satisfactorily.
The practices and processes referred to in the procedure by the TASK numbers are in the SPM.
References
Refer to the SPM for data on these items.
Definitions of Damage, SPM TASK 70-02-02-350-501
Inspection of Parts, SPM TASK 70-20-00-200-501
Surface Texture, SPM TASK 70-35-09-350-501
Some data on these items is contained in this TASK. For more data on these items refer to the SPM.
Method of Testing for Crack Indications
Chemical Processes
Surface Protection
Preliminary Requirements
Pre-Conditions
NONESupport Equipment
NONEConsumables, Materials and Expendables
NONESpares
NONESafety Requirements
NONEProcedure
Clean the Part. Refer to the TASK 72-32-21-100-000 (CLEANING-000).
Do the test for cracks on the part that is given below. Use the applicable penetrant procedure.
PART IDENT
TASK/SUBTASK
No. 3 bearing housing assembly
SPM TASK TASK 70-23-01-230-501
(Dip or Spray)
SUBTASK 72-32-21-230-052-001 Examine the No. 3 Bearing Housing Assembly (01-020) for Cracks
Clean the Part. Refer to the TASK 72-32-21-100-000 (CLEANING-000).
Do the test for cracks on the part that is given below. Use the applicable penetrant procedure.
PART IDENT
TASK/SUBTASK
No. 3 bearing housing assembly
SPM TASK TASK 70-23-01-230-501
(Dip or Spray)
SUBTASK 72-32-21-230-052-002 Examine the No. 3 Bearing Housing Assembly (01-020) for Cracks
Refer to Figure.
Repair, VRS3006 TASK 72-32-21-300-003 (REPAIR-003)
Worn, scored or surface damage other than Step
Examine the bearing housing assembly for wear, scores and surface damage on all the surfaces. Look carefully at the surfaces adjacent to the threaded holes at location 9 and the inner and outer diameters.
SUBTASK 72-32-21-220-057 Examine the No. 3 Bearing Housing Assembly (01-020) for Wear, Scores and Surface Damage on all the Surfaces
Refer to Figure.
Repair, VRS3009 TASK 72-32-21-300-004 (REPAIR-004)
Loose pins
Examine the bearing housing assembly at location 5 for loose seal ring groove pins (two positions).
SUBTASK 72-32-21-220-058 Examine the No. 3 Bearing Housing Assembly (01-020) for Loose Seal Ring Groove Pins
Refer to Figure.
Repair, VRS3009 TASK 72-32-21-300-004 (REPAIR-004)
Other than Step
Wear.
Examine the seal ring groove pins at location 5 for wear (two positions).
SUBTASK 72-32-21-220-064 Examine the No. 3 Bearing Housing Assembly (01-020) for Wear on the Seal Ring Groove Pins
Refer to Figure.
Repair, VRS3007 TASK 72-32-21-300-005 (REPAIR-005)
Cracks, voids or surface damage. No plate is permitted at location 1
Examine the bearing housing assembly at location 2 for cracks, voids and surface damage on the nickel plate of the seal ring grooves (two locations).
SUBTASK 72-32-21-220-059 Examine the No. 3 Bearing Housing Assembly (01-020) for Cracks, Voids and Surface Damage on the Nickel Plate of the Seal Ring Grooves
Refer to Figure.
Other than Step
Scored threads.
Examine the bearing housing assembly at location 9 for scored, high edges, damaged or worn threads (18 locations).
SUBTASK 72-32-21-220-060 Examine the No. 3 Bearing Housing Assembly (01-020) for Scored, High Edges, Damaged or Worn Threads on the Threaded Holes
Refer to Figure
Other than Step
Diameters.
Examine the bearing housing assembly at locations 3 and 8 for the front and rear stop diameters.
Repair, VRS3286 TASK 72-32-21-300-006 (REPAIR-006)
Other than Step
Diameter.
Examine the bearing housing assembly at location 2407 for the inner diameter.
SUBTASK 72-32-21-220-061 Examine the No. 3 Bearing Housing Assembly (01-020) for the Diameters
Refer to Figure.
Repair, VRS3007 TASK 72-32-21-300-005 (REPAIR-005)
Other than Step
Examine the bearing housing assembly at locations 4 and 7 for the surface finish.
SUBTASK 72-32-21-220-063 Examine the No. 3 Bearing Housing Assembly (01-020) for the Surface Finish
Figure: No. 3 bearing housing assembly inspection locations
No. 3 bearing housing assembly inspection locations

