Export Control
EAR Export Classification: Not subject to the EAR per 15 C.F.R. Chapter 1, Part 734.3(b)(3), except for the following Service Bulletins which are currently published as EAR Export Classification 9E991: SBE70-0992, SBE72-0483, SBE72-0580, SBE72-0588, SBE72-0640, SBE73-0209, SBE80-0024 and SBE80-0025.Copyright
© IAE International Aero Engines AG (2001, 2014 - 2021) The information contained in this document is the property of © IAE International Aero Engines AG and may not be copied or used for any purpose other than that for which it is supplied without the express written authority of © IAE International Aero Engines AG. (This does not preclude use by engine and aircraft operators for normal instructional, maintenance or overhaul purposes.).Applicability
All
Common Information
TASK 72-32-86-200-001-D00 Intermediate Structure Rear Fairing - Examine, Inspection-001
General
The policy that is necessary for inspection is given in the SPM TASK 70-20-01-200-501.
All the parts must be cleaned before any part is examined. Refer to TASK 72-32-86-100-000.
All the parts must be visualy examined for damage, corrosion and wear. Any defects that are not identified in the procedure must be referred to IAE.
The procedure for those parts which must have a crack test is given in Step. Do the test before the part is visually examined.
Do not discard any part until you are sure there are no repairs available. Refer to the instructions in Repair before a discarded part is used again or oversize parts are installed.
Parts which should be discarded can be held although no repair is available. The repair of a discarded part could be shown to be necessary at a later date.
All the parts must be examined to make sure that all the repairs have been completed satisfactorily.
The practices and processes referred to in the procedure by the TASK numbers are in the SPM.
References
Refer to the SPM for data on these items.
Definition of Damages, SPM TASK 70-02-02-350-501
Inspection of Parts, SPM TASK 70-20-01-200-501
Some data on these items are contained in this TASK. For more data on these items refer to the SPM.
Method of Testing for Crack Indications
Chemical Processes
Surface Protection
Preliminary Requirements
Pre-Conditions
NONESupport Equipment
| Name | Manufacturer | Part Number / Identification | Quantity | Remark |
|---|---|---|---|---|
| Fluorescent Penetrant Inspection Equipment | LOCAL | Fluorescent penetrant inspection equipment |
Consumables, Materials and Expendables
NONESpares
NONESafety Requirements
NONEProcedure
Clean the parts. Refer to TASK 72-32-86-100-000.
SUBTASK 72-32-86-230-054 Examine the Rear Fairing Assembly (01-100) for Cracks
Refer to Figure.
Repair, VRS1415 TASK 72-32-86-300-001 (REPAIR-001)
Between 0.004 and 0.008 in. (0.10 and 0.20 mm) in depth
Dented.
Repair, VRS1415 TASK 72-32-86-300-001 (REPAIR-001)
Between 0.004 and 0.008 in. (0.10 and 0.20 mm) in depth
Nicked.
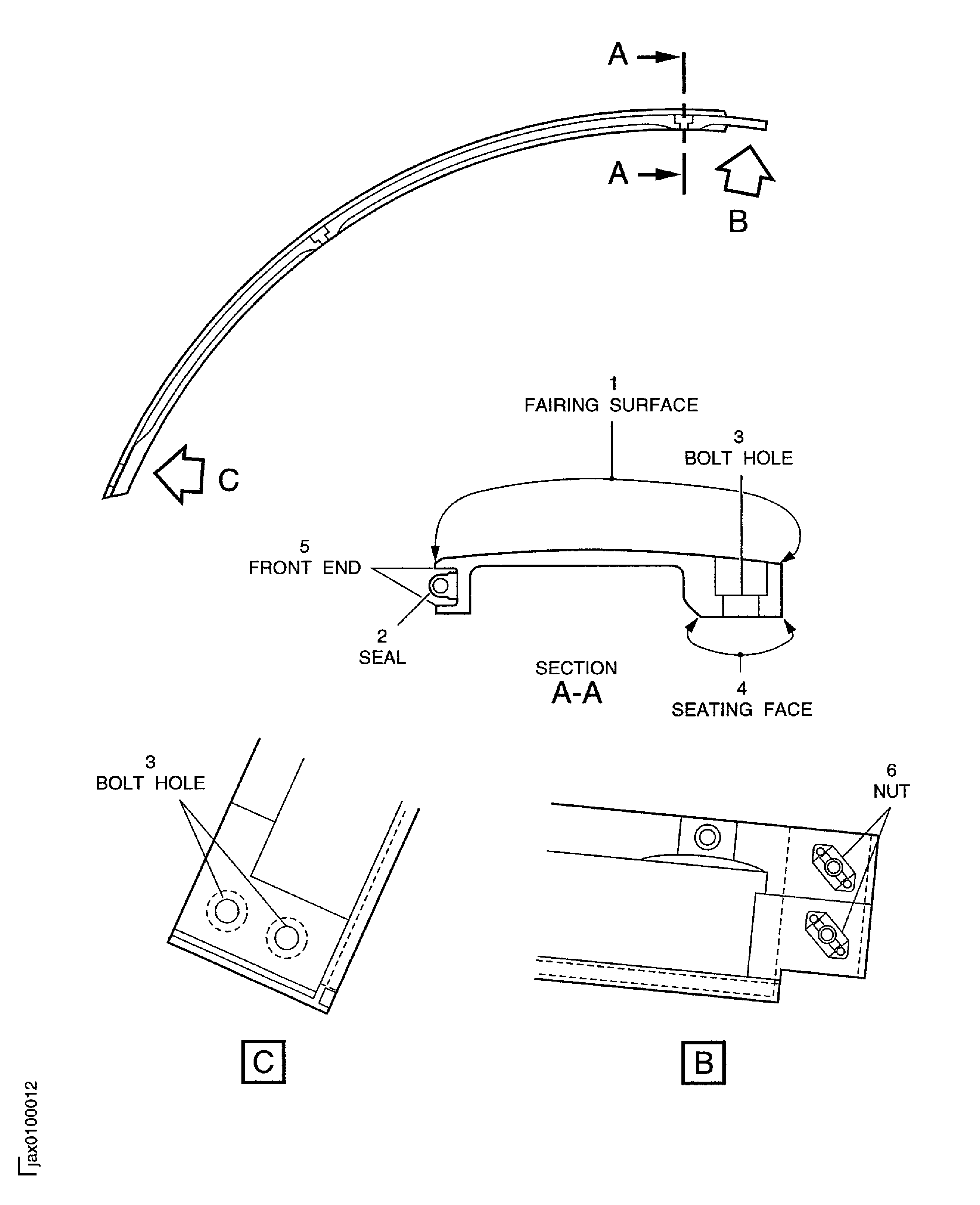
Examine the fairing surface at location 1.
SUBTASK 72-32-86-220-070 Examine the Rear Fairing Assembly (01-100) Surface
Refer to Figure.
Repair, VRS1416 TASK 72-32-86-300-002 (REPAIR-002)
Torn
Repair, VRS1416 TASK 72-32-86-300-002 (REPAIR-002)
Unbonded
Repair, VRS1416 TASK 72-32-86-300-002 (REPAIR-002)
Missing
Damaged.
Examine the seal at location 2.
SUBTASK 72-32-86-220-071 Examine the Rear Fairing Assembly (01-100) Seal
Refer to Figure.
Repair, VRS1415 TASK 72-32-86-300-001 (REPAIR-002)
Nicked
Repair, VRS1415 TASK 72-32-86-300-001 (REPAIR-002)
Scratched
Repair, VRS1415 TASK 72-32-86-300-001 (REPAIR-002)
Burred
Examine the bolt hole at location 3.
SUBTASK 72-32-86-220-072 Examine the Rear Fairing Assembly (01-100) Bolt Hole
Refer to Figure.
Repair, VRS1415 TASK 72-32-86-300-001 (REPAIR-002)
Galled
Examine the seating face at location 4.
SUBTASK 72-32-86-220-073 Examine the Rear Fairing Assembly (01-100) Seating Face
Refer to Figure.
Repair, VRS1415 TASK 72-32-86-300-001 (REPAIR-002)
Galled
Examine the front end at location 5.
SUBTASK 72-32-86-220-074 Examine the Rear Fairing Assembly (01-100) Front End
Refer to Figure.
Repair, VRS1410, TASK 72-32-86-300-004 (REPAIR-004)
Loose
Examine the nut at location 6.
SUBTASK 72-32-86-220-075 Examine the Rear Fairing Assembly (01-100) Nut
Refer to Figure.
Repair, VRS1415, TASK 72-32-86-300-001 (REPAIR-001)
Nicked or dented
Examine all the surfaces which do not include the identified locations.
SUBTASK 72-32-86-220-076 Examine the Rear Fairing Assembly (01-100) Surface
Figure: Locations on the rear fairing assembly
Locations on the rear fairing assembly

