Export Control
EAR Export Classification: Not subject to the EAR per 15 C.F.R. Chapter 1, Part 734.3(b)(3), except for the following Service Bulletins which are currently published as EAR Export Classification 9E991: SBE70-0992, SBE72-0483, SBE72-0580, SBE72-0588, SBE72-0640, SBE73-0209, SBE80-0024 and SBE80-0025.Copyright
© IAE International Aero Engines AG (2001, 2014 - 2021) The information contained in this document is the property of © IAE International Aero Engines AG and may not be copied or used for any purpose other than that for which it is supplied without the express written authority of © IAE International Aero Engines AG. (This does not preclude use by engine and aircraft operators for normal instructional, maintenance or overhaul purposes.).Applicability
All
Common Information
TASK 72-38-11-300-003 Inlet Cone Assembly - Replace The Segment, Repair-003 (VRS1467)
Material of component
PART IDENT | IAE SYMBOL | MATERIAL |
|---|---|---|
Inlet cone | Fibre-reinforced plastic with polyurethane coating |
General
Price and availability - none
The practice and processes referred to in the procedure by the TASK number are in the SPM.
All adhesive application and bonding operation shall be done in controlled environment room designated for non silicone material.
This repair is for one or two segments replacement. For selected segment replacement, do not remove more than three segments at any one time.
NOTE
NOTE
Preliminary Requirements
Pre-Conditions
NONESupport Equipment
| Name | Manufacturer | Part Number / Identification | Quantity | Remark |
|---|---|---|---|---|
| Double column machining center | LOCAL | Double column machining center | ||
| Radial drill | LOCAL | Radial drill | ||
| Oven | LOCAL | Oven | ||
| Abrasive blast equipment | LOCAL | Abrasive blast equipment | ||
| Rotary table | LOCAL | Rotary table | ||
| IAE 3J12771 Fixture,drill | 0AM53 | IAE 3J12771 | 1 | |
| IAE 3J12772 Machining fixture | 0AM53 | IAE 3J12772 | 1 | |
| IAE 3J12773 TBD | 0AM53 | IAE 3J12773 | 1 | |
| IAE 3J12816 Fixture, Curing | 0AM53 | IAE 3J12816 | 1 | |
| IAE 3J12817 Fixture, Curing | 0AM53 | IAE 3J12817 | 1 |
Consumables, Materials and Expendables
| Name | Manufacturer | Part Number / Identification | Quantity | Remark |
|---|---|---|---|---|
| CoMat 01-124 ISOPROPYL ALCOHOL | LOCAL | CoMat 01-124 | ||
| CoMat 02-001 ADHESIVE TAPE (MASKING) | LOCAL | CoMat 02-001 | ||
| CoMat 05-004 ABRASIVE MEDIUM, ALUMINUM OXIDE, 140/400 GRADE | LOCAL | CoMat 05-004 | ||
| CoMat 05-016 GARNET PAPER, 80-GRIT | LOCAL | CoMat 05-016 | ||
| CoMat 05-017 GARNET PAPER, 60 GRIT | LOCAL | CoMat 05-017 | ||
| CoMat 05-123 SILICON CARBIDE GRIT | IAE72 | CoMat 05-123 | ||
| CoMat 08-015 RESIN | LOCAL | CoMat 08-015 | ||
| CoMat 08-016 HARDENER | LOCAL | CoMat 08-016 |
Spares
| Name | Manufacturer | Part Number / Identification | Quantity | Remark |
|---|---|---|---|---|
| Pin, dowel | 5A0013 | A/R | ||
| Ring, retaining | AS20763 | A/R | ||
| Segment, locating | 5A1415 | A/R | (for Assembly A) | |
| Segment, locating (for Assembly A, B | 5A1416 |
Safety Requirements
NONEProcedure
Refer to Figure.
Refer to TASK 72-38-11-200-000 (INSPECTION-000).
Examine and identify damaged segment.
SUBTASK 72-38-11-220-079 Examine the Segment of the Inlet Cone Assembly
Refer to Figure.
Use IAE 3J12772 Machining fixture 1 off.
NOTE
Take care so that the pin hole or flange face do not become damaged.Set up the inlet cone assembly and fixture on the machine.
SUBTASK 72-38-11-360-064 Remove the Damaged Segment from the Inlet Cone Assembly

CAUTION
AFTER PREPARATION THE MATING SURFACES MUST BE FULLY CLEANED AND MUST NOT BE TOUCHED BY HAND TO PREVENT CONTAMINATION.Refer to Figure.
Use CoMat 05-123 SILICON CARBIDE GRIT for the segment.
Use CoMat 05-004 ABRASIVE MEDIUM, ALUMINUM OXIDE, 140/400 GRADE for the flange of the inlet cone.
Use and air pressure of 43 to 57 psi (297 to 393 KPa) for a minimum time necessary to clean the parts.
Dry abrasive blast the mating surfaces.
SUBTASK 72-38-11-360-065 Prepare the Surface of the Segment and Flange of the Inlet Cone
Use CoMat 08-015 RESIN and CoMat 08-016 HARDENER.
Refer to the SPM TASK 70-36-02-360-501 and SUBTASK 70-36-02-360-021.

CAUTION
YOU MUST USE PLASTIC GLOVES, DURING PREPARATION AND USE OF THE ADHESIVE TO PREVENT CONTAMINATION OF THE SKIN.
CAUTION
YOU MUST NOT EAT OR SMOKE AT LOCATIONS WHERE THESE MATERIALS ARE USED.Make up the adhesive from two parts.
Use IAE 3J12773 TBD 1 off.
Put the segment on to the curing fixture.
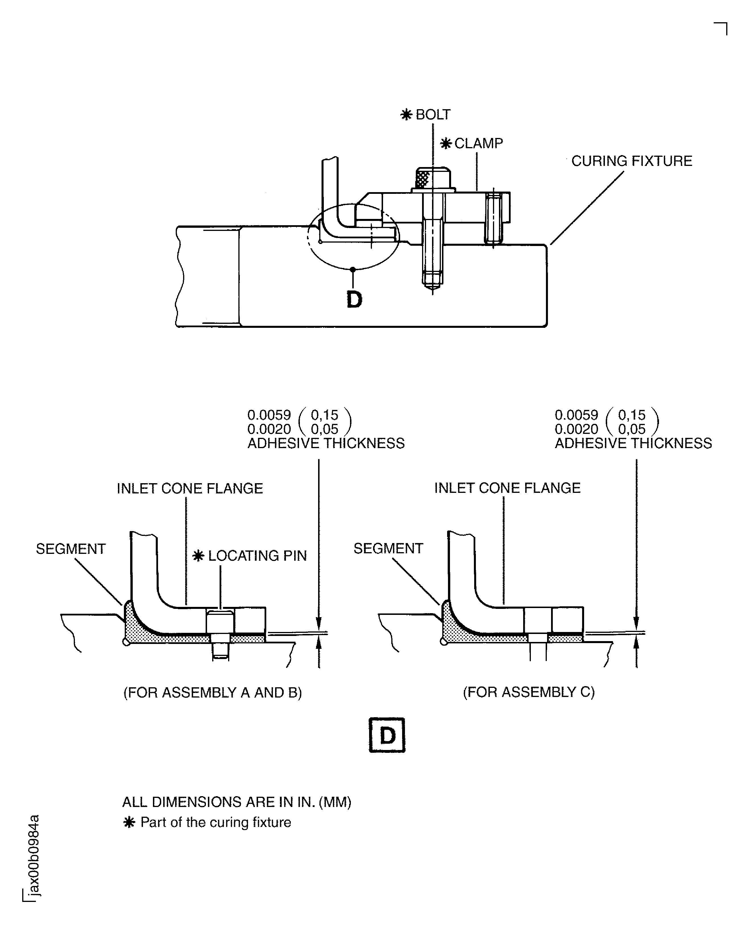
SUBTASK 72-38-11-360-066 Apply and Cure the Two Part Low Temperature Curing Sealant/Adhesive, Assembly A and B,
Use CoMat 08-015 RESIN and CoMat 08-016 HARDENER.
Refer to the SPM TASK 70-36-02-360-501 and SUBTASK 70-36-02-360-021.

CAUTION
YOU MUST USE PLASTIC GLOVES, DURING PREPARATION AND USE OF THE ADHESIVE TO PREVENT CONTAMINATION OF THE SKIN.
CAUTION
YOU MUST NOT EAT OR SMOKE AT LOCATIONS WHERE THESE MATERIALS ARE USED.Make up the adhesive from two parts.
Use IAE 3J12817 Fixture, Curing 1 off.
Put the segment on to the curing fixture.
SUBTASK 72-38-11-360-077 Apply and Cure the Two Part Low Temperature Curing Sealant/Adhesive, Assembly C,
Refer to Figure.
Use IAE 3J12772 Machining fixture 1 off and rotary table.
The runouts of the diameter B and the surface A must be 0.003in. (0.076 mm) FIR.
Set-up the inlet cone assembly on the machine.
SUBTASK 72-38-11-322-051 Machine the Flange of the Inlet Cone Assembly
Refer to Figure.
Use IAE 3J12771 Fixture,drill 1 off.
Use radial Radial drill.
Set-up the inlet cone assembly and fixture on the machine.
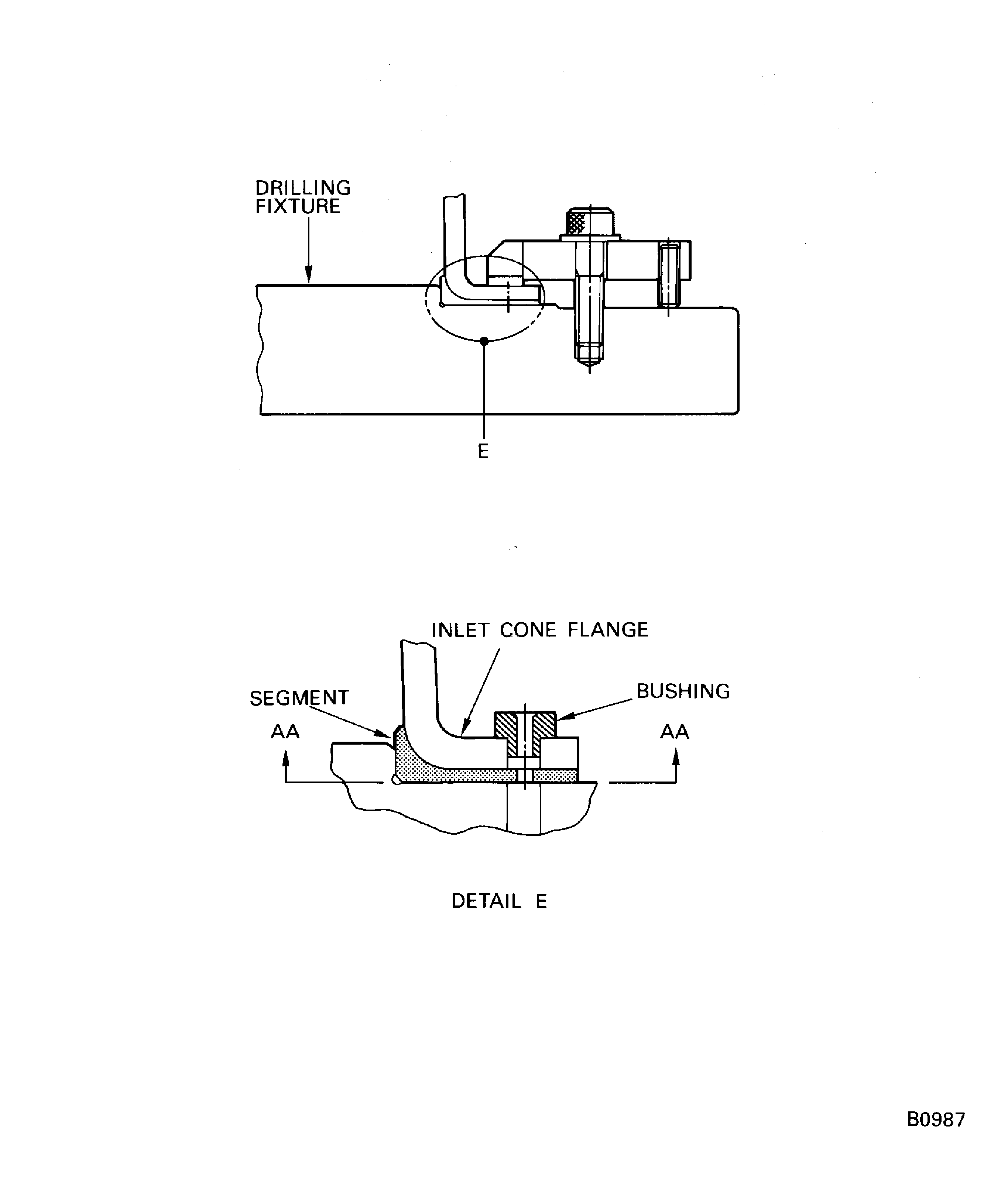
SUBTASK 72-38-11-323-051 Machine the Bolt Hole and Pin Hole
Refer to Figure.
Refer to the SPM TASK 70-11-26-300-503.

CAUTION
AFTER PREPARATION THE MATING SURFACES MUST BE FULLY CLEANED AND MUST NOT BE TOUCHED BY HAND, TO PREVENT CONTAMINATION.Clean the mating surfaces on the pin and the pin hole.
SUBTASK 72-38-11-360-070 Prepare the Surface of the Pin and the Pin Hole of the Inlet Cone
Refer to Figure.
SUBTASK 72-38-11-360-067 Apply and Cure the Two Part Low Temperature Curing Sealant/Adhesive
Refer to Figure.
SUBTASK 72-38-11-220-084 Examine the Repaired Area of the Inlet Cone Assembly
Refer to Repair, VRS1464 TASK 72-38-11-300-005 (REPAIR-005).
Measure the unbalance of the inlet cone assembly.
Refer to Repair, VRS1464 TASK 72-38-11-300-005 (REPAIR-005).
Correct the unbalance of the inlet cone assembly.
SUBTASK 72-38-11-290-055 Measure and Correct the Unbalance for the Inlet Cone Assembly
Refer to the SPM TASK 70-09-00-400-501.
Make a mark VRS1467 adjacent to the part number. Use the ink method.
SUBTASK 72-38-11-350-055 Identify the Repair
Figure: Inlet cone pin and segment - Machining
Inlet cone pin and segment - Machining

Figure: Repair details and dimensions
Repair details and dimensions

Figure: Repair details and dimensions
Repair details and dimensions

Figure: Inlet cone flange and segment - Preparation
Inlet cone flange and segment - Preparation

Figure: Inlet cone and segment - Assembly
Inlet cone and segment - Assembly

Figure: Repair details and dimensions
Repair details and dimensions

Figure: Repair details and dimensions for Assembly A and B
Repair details and dimensions for Assembly A and B

Figure: Repair details and dimensions for Assembly C
Repair details and dimensions for Assembly C

Figure: Inlet cone segment - Drilling
Inlet cone segment - Drilling

Figure: Repair details and dimensions
Repair details and dimensions

Figure: Repair details and dimensions
Repair details and dimensions

Figure: Repair details and dimensions
Repair details and dimensions

