Export Control
EAR Export Classification: Not subject to the EAR per 15 C.F.R. Chapter 1, Part 734.3(b)(3), except for the following Service Bulletins which are currently published as EAR Export Classification 9E991: SBE70-0992, SBE72-0483, SBE72-0580, SBE72-0588, SBE72-0640, SBE73-0209, SBE80-0024 and SBE80-0025.Copyright
© IAE International Aero Engines AG (2001, 2014 - 2021) The information contained in this document is the property of © IAE International Aero Engines AG and may not be copied or used for any purpose other than that for which it is supplied without the express written authority of © IAE International Aero Engines AG. (This does not preclude use by engine and aircraft operators for normal instructional, maintenance or overhaul purposes.).Applicability
All
Common Information
TASK 72-41-21-300-050 HP Compressor Front Support Cone Assembly - Repair The Location Dowel Or Pin By Replacement, Repair-050 (VRS6342)
Effectivity
FIG/ITEM | PART NO. | ASSEMBLY |
|---|---|---|
03-300 | 6A2849 | A |
03-300 | 6A4177 | B |
03-300 | 6A6540 | C |
03-300 | 6A7577 | D |
03-300 | 6B1430 | E |
Material of component
DESCRIPTION | MATERIAL |
HP compressor front support cone assembly | Titanium alloy |
Rivet | Heat resisting alloy |
Washer | Corrosion resistant steel |
Dowel | Heat Resistant Alloy |
Pin | Nickel Alloy |
General
This Repair must only be done when the instruction to do so is given in the relevant Inspection/Check (72-41-21 Inspection/Check).
The TASK gives the procedure to repair the location dowel in the HP compressor front support cone assembly, by replacement.
TASKs identified by SPM TASK are in the Standard Practices and Processes Manual (SPM).
Price and availability
Refer to International Aero Engines
Related repair
Repair the HP Compressor Stage 7 Rotor Path Ring (and Cone Assembly) Surface Protection, refer to VRS6161 TASK 72-41-21-300-004 (REPAIR-004).
NOTE
NOTE
It is possible that some materials in the Consumable Materials chart cannot be used for some or all of the necessary applications. Before you use the materials, make sure the types, quantities and applications of the materials necessary are legally permitted in your location. All persons must obey all applicable federal, state, local and provincial laws and regulations when it is necessary to work with these materials.
To identify the consumable materials, refer to the Overhaul Processes and Consumables Index (PCI).
Other necessary consumable materials are referred to in the SPM TASKs.
Preliminary Requirements
Pre-Conditions
NONESupport Equipment
| Name | Manufacturer | Part Number / Identification | Quantity | Remark |
|---|---|---|---|---|
| Pneumatic hand held grinder | LOCAL | Pneumatic hand held grinder | ||
| Chemical cleaning equipment | LOCAL | Chemical cleaning equipment | ||
| Freeze plug | LOCAL | Freeze plug | Locally made | |
| Paint brush | LOCAL | Paint brush | ||
| Penetrant Crack Test Equipment | LOCAL | Penetrant crack test equipment | ||
| Standard workshop equipment | LOCAL | Standard workshop equipment | ||
| Vibrating marking pencil | LOCAL | Vibrating marking pencil | ||
| Workshop inspection equipment | LOCAL | Workshop inspection equipment |
Consumables, Materials and Expendables
| Name | Manufacturer | Part Number / Identification | Quantity | Remark |
|---|---|---|---|---|
| CoMat 03-026 LIQUID NITROGEN | LOCAL | CoMat 03-026 | ||
| CoMat 06-022 FLUORESCENT PENETRANT (POST-EMULSIFIED ULTRA HIGH SENSITIVITY) | LOCAL | CoMat 06-022 | ||
| CoMat 07-037 CORROSION RESISTANT TOUCH-UP COATING | LOCAL | CoMat 07-037 | ||
| CoMat 07-038 AIR DRYING ENAMEL | k3504 | CoMat 07-038 |
Spares
| Name | Manufacturer | Part Number / Identification | Quantity | Remark |
|---|---|---|---|---|
| PART IDENT | PART NO. | |||
| Rivet | AS16295 | 1 off | A, B, C and D | |
| Washer | EY29248 | 1 off | A, B, C and D | |
| Dowel | UP10743 | 1 off | A | |
| Dowel | UP60478 | 1 off | B, C and D | |
| Pin | LOCAL | AS44803 | 1 off | E |
Safety Requirements
NONEProcedure
Refer to Figure.
Remove a loose or damaged pin.
SUBTASK 72-41-21-350-200 Remove a Loose or Damaged Pin, Assembly E
Refer to the SPM TASK 70-11-03-300-503.
Chemically clean the HP compressor front support cone assembly.
SUBTASK 72-41-21-110-238 Chemically Clean
Refer to the SPM TASK 70-23-05-230-501.
Cracks are not permitted.
Do a local penetrant crack test around the location hole.
SUBTASK 72-41-21-230-186 Do a Crack Test
Use UP10743 dowel HPC Ring Cases And Related Parts (72-41-21,03-825) 1 off.
Use locally made freeze plug.
Freeze the dowel.
SUBTASK 72-41-21-350-169-A00 Install the Dowel, Assembly A
Use UP60478 dowel HPC Ring Cases And Related Parts (72-41-21,03-825) 1 off.
Use locally made freeze plug.
Freeze the dowel.
SUBTASK 72-41-21-350-169-B00 Install the Dowel, Assembly B, Assembly C and Assembly D
Use rivet HPC Ring Cases And Related Parts (72-41-21, 03-822) 1 off and washer HPC Ring Cases And Related Parts (72-41-21, 03-824) 1 off as necessary.
Install the rivet and washer into the cone and dowel.
SUBTASK 72-41-21-350-170 Install the Rivet, Assembly A, Assembly B, Assembly C and Assembly D
Refer to the SPM TASK 70-39-03-390-501.
Cold squeeze the rivet in place.
SUBTASK 72-41-21-390-063 Safety the Rivet in Place, Assembly A, Assembly B, Assembly C and Assembly D
Use AS44803 pin 1 off, 03-313.
Use Locally Made Freeze Plug.
Install the pin.
SUBTASK 72-41-21-350-201 Install the Pin, Assembly E
Refer to the SPM TASK 70-39-03-390-501, SUBTASK 70-39-03-390-005 for rivet quality standards.
Use workshop inspection equipment.
Visually examine and measure the dimensions of the installed rivet.
SUBTASK 72-41-21-220-457 Examine the HP Compressor Front Support Cone Assembly, Assembly A, Assembly B, Assembly C and Assembly D
Visually examine the installed pin.
SUBTASK 72-41-21-220-759 Examine the HP Compressor Front Support Cone Assembly, Assembly E
Refer to the SPM TASK 70-11-26-300-503.
Chemically clean the rivet head and dowel or the pin.
SUBTASK 72-41-21-110-164 Chemically Clean
Refer to the SPM TASK 70-23-05-230-501.
Discard cracked rivet(s), dowel or pin.
Do a local penetrant crack test on the rivet head and dowel or the pin.
SUBTASK 72-41-21-230-187 Do a Crack Test
Refer to the SPM TASK 70-38-21-380-501, SUBTASK 70-38-21-380-010.
Use a paint brush.
Touch-up the damaged surface protection as necessary.
SUBTASK 72-41-21-350-234 Apply the Surface Protection as necessary, Assembly C, Assembly D and Assembly E
Figure: Repair Details and Dimensions - Assembly A
Repair Details and Dimensions - Assembly A

Figure: Repair Details and Dimensions - Assembly B
Repair Details and Dimensions - Assembly B

Figure: Repair Details and Dimensions - Assembly C
Repair Details and Dimensions - Assembly C

Figure: Repair Details and Dimensions - Assembly D
Repair Details and Dimensions - Assembly D

Figure: Repair Details and Dimensions - Assembly E
Repair Details and Dimensions - Assembly E

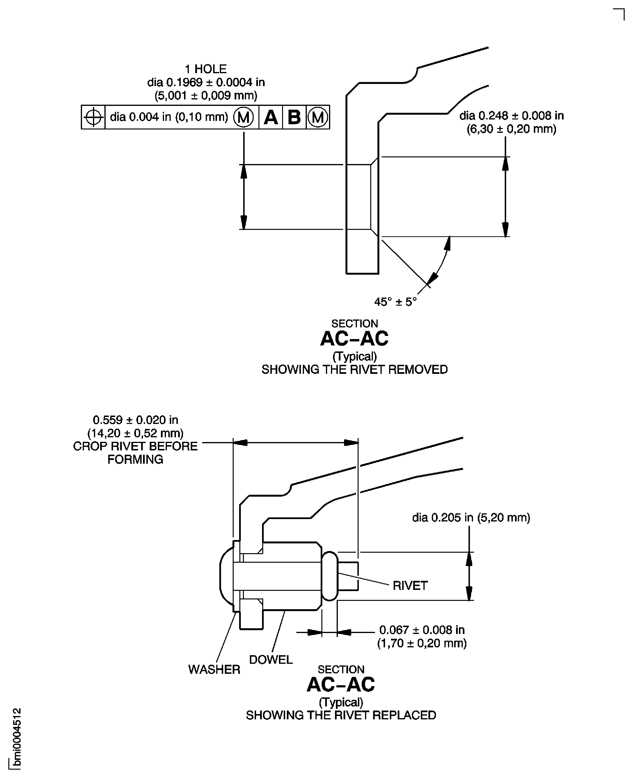
Figure: Repair Details and Dimensions - Assembly A, Assembly B and Assembly D
Repair Details and Dimensions - Assembly A, Assembly B and Assembly D

Figure: Repair Details and Dimensions - Assembly C
Repair Details and Dimensions - Assembly C

Figure: Repair Details and Dimensions - Assembly E
Repair Details and Dimensions - Assembly E

