Export Control
EAR Export Classification: Not subject to the EAR per 15 C.F.R. Chapter 1, Part 734.3(b)(3), except for the following Service Bulletins which are currently published as EAR Export Classification 9E991: SBE70-0992, SBE72-0483, SBE72-0580, SBE72-0588, SBE72-0640, SBE73-0209, SBE80-0024 and SBE80-0025.Copyright
© IAE International Aero Engines AG (2001, 2014 - 2021) The information contained in this document is the property of © IAE International Aero Engines AG and may not be copied or used for any purpose other than that for which it is supplied without the express written authority of © IAE International Aero Engines AG. (This does not preclude use by engine and aircraft operators for normal instructional, maintenance or overhaul purposes.).Applicability
All
Common Information
TASK 72-41-21-300-082 HPC Heatshields - Replace Loose Or Damaged Rivets And/or A Damaged Plate On The Stage 10 Front Heatshield, Repair-082 (VRS6336)
Material of component
DESCRIPTION SYMBOL MATERIAL | ||
|---|---|---|
HP Compressor Front Heatshield, | QRK | 38 per cent Nickel, |
Stage 10 (Assembly A) | 14 per cent Cobalt, | |
1.5 per cent Titanium and | ||
1 per cent Manganese | ||
OR | ||
QTX | Iron, 38 per cent Nickel, | |
14.5 per cent Cobalt, | ||
1.5 per cent Niobium and | ||
1.6 per cent Titanium | ||
HP Compressor Front Heatshield, | TDZ | 5 per cent Aluminum, |
Stage 10 (Assembly B) | 3 per cent Zirconium, | |
3 per cent Tin and | ||
1 per cent Niobium | ||
Plate | EBQ | 11 per cent Chromium and |
1 per cent Molybdenum | ||
Rivet, solid | QBE ) | Nimonic 75 |
or | ||
QPK ) | Nimonic 75 | |
General
This Repair must only be done when the instruction to do so is given in 72-41-21 Inspection.
This Repair replaces loose or damaged rivets and/or a damaged plate, on the HP Compressor, stage 10, front heatshield.
When loose or damaged rivet(s) are to be replaced do SUBTASK 72-41-21-323-057.
When a damaged plate is to be replaced do SUBTASK 72-41-21-350-149.
The practices and processes referred to in the procedure by the TASK/SUBTASK numbers are in the SPM.
Price and Availability
Refer to International Aero Engines.
Related Repairs
HP Compressor Front Heatshield, Stage 10 - Replace the Surface Protection, refer to TASK 72-41-21-300-083 (VRS6335).
NOTE
Equivalent materials or equipment can be used.
More equipment and materials necessary to do this Repair are in the SPM TASKS given below:
Preliminary Requirements
Pre-Conditions
NONESupport Equipment
| Name | Manufacturer | Part Number / Identification | Quantity | Remark |
|---|---|---|---|---|
| Chemical cleaning equipment | LOCAL | Chemical cleaning equipment | ||
| Penetrant Crack Test Equipment | LOCAL | Penetrant crack test equipment | ||
| Vertical drilling machine | LOCAL | Vertical drilling machine | ||
| Toolmakers clamp | LOCAL | Toolmakers clamp | or equivalent | |
| Standard workshop equipment | LOCAL | Standard workshop equipment | ||
| Vibrating marking pencil | LOCAL | Vibrating marking pencil | ||
| Portablegrinding equipment | LOCAL | Portable grinding equipment |
Consumables, Materials and Expendables
NONESpares
| Name | Manufacturer | Part Number / Identification | Quantity | Remark |
|---|---|---|---|---|
| Rivet, solid, universal head (Assy A and Assy B) | AS16246 | 2 | ||
| Rivet, solid, universal head (Assy A and Assy B) | AS16287 | 2 | ||
| Plate | 6A5667 | 1 | (Assy A) | |
| Plate | 6A5672 | 1 | (Assy B) |
Safety Requirements
NONEProcedure
Refer to TASK 72-41-21-100-000. Use chemical cleaning equipment.
Chemically clean.
SUBTASK 72-41-21-110-133 Clean the Assembly
Refer to TASK 72-41-21-200-000. Use penetrant crack test equipment.
Do a penetrant crack test.
SUBTASK 72-41-21-230-157 Do a crack test
Refer to Figure.
SUBTASK 72-41-21-323-057-A00 Remove Loose or Damaged Rivet(s), Assembly A
NOTE
The SUBTASKS which follow must only be done to replace loose or damaged rivet(s).Refer to Figure.
SUBTASK 72-41-21-323-057-B00 Remove Loose or Damaged Rivet(s), Assembly B
NOTE
The SUBTASKS which follow must only be done to replace loose or damaged rivet(s).Refer to the SPM TASK 70-11-26-300-503.
Chemically clean the plate and around the rivet hole(s).
SUBTASK 72-41-21-110-134 Chemically clean
Refer to the SPM TASK 70-23-05-230-501.
Cracks are not permitted.
Do a local penetrant crack test on the plate and around the rivet hole(s).
SUBTASK 72-41-21-230-158 Do a Crack Test
Refer to the SPM TASK 70-39-03-390-501.
Use standard workshop equipment.
Cold squeeze the rivet(s) in place.
SUBTASK 72-41-21-390-057-A00 Safety the Rivet(s) in Place, Assembly A
Refer to the SPM TASK 70-39-03-390-501.
Use standard workshop equipment.
Cold squeeze the rivet(s) in place.
SUBTASK 72-41-21-390-057-B00 Safety the Rivet(s) in Place, Assembly B
Refer to the SPM TASK 70-11-26-300-503.
Chemically clean the rivet heads and plate.
SUBTASK 72-41-21-110-135 Chemically clean
Refer to the SPM TASK 70-23-05-230-501.
Cracks are not permitted.
Do a local penetrant crack test on the rivet heads and plate.
SUBTASK 72-41-21-230-159 Do a Crack Test
Refer to the SPM TASK 70-09-00-400-501, SUBTASK 70-09-00-400-001.
Use vibro engraving equipment.
Mark VRS6336/1 adjacent to the part number when loose or damaged rivet(s) is/are replaced.
SUBTASK 72-41-21-350-150 Identify the Repair
Refer to VRS6335, TASK 72-41-21-300-083.
Apply the surface protection to the HP Compressor front heatshield, stage 10.
SUBTASK 72-41-21-380-097 Apply the Surface Protection
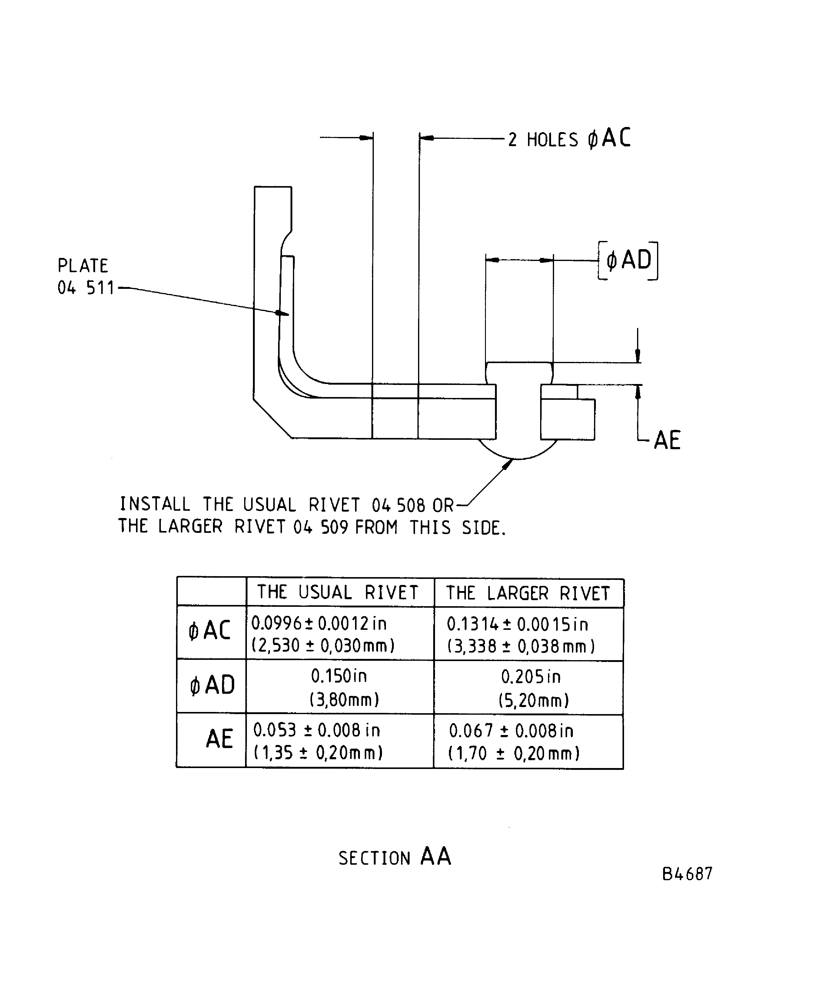
Use 6A5667 , 1 off, 04-511 with a toolmakers clamp or equivalent.
Safety the plate to the heatshield.
SUBTASK 72-41-21-323-059-A00 Drill the Plate and Rivet Hole(s), Assembly A
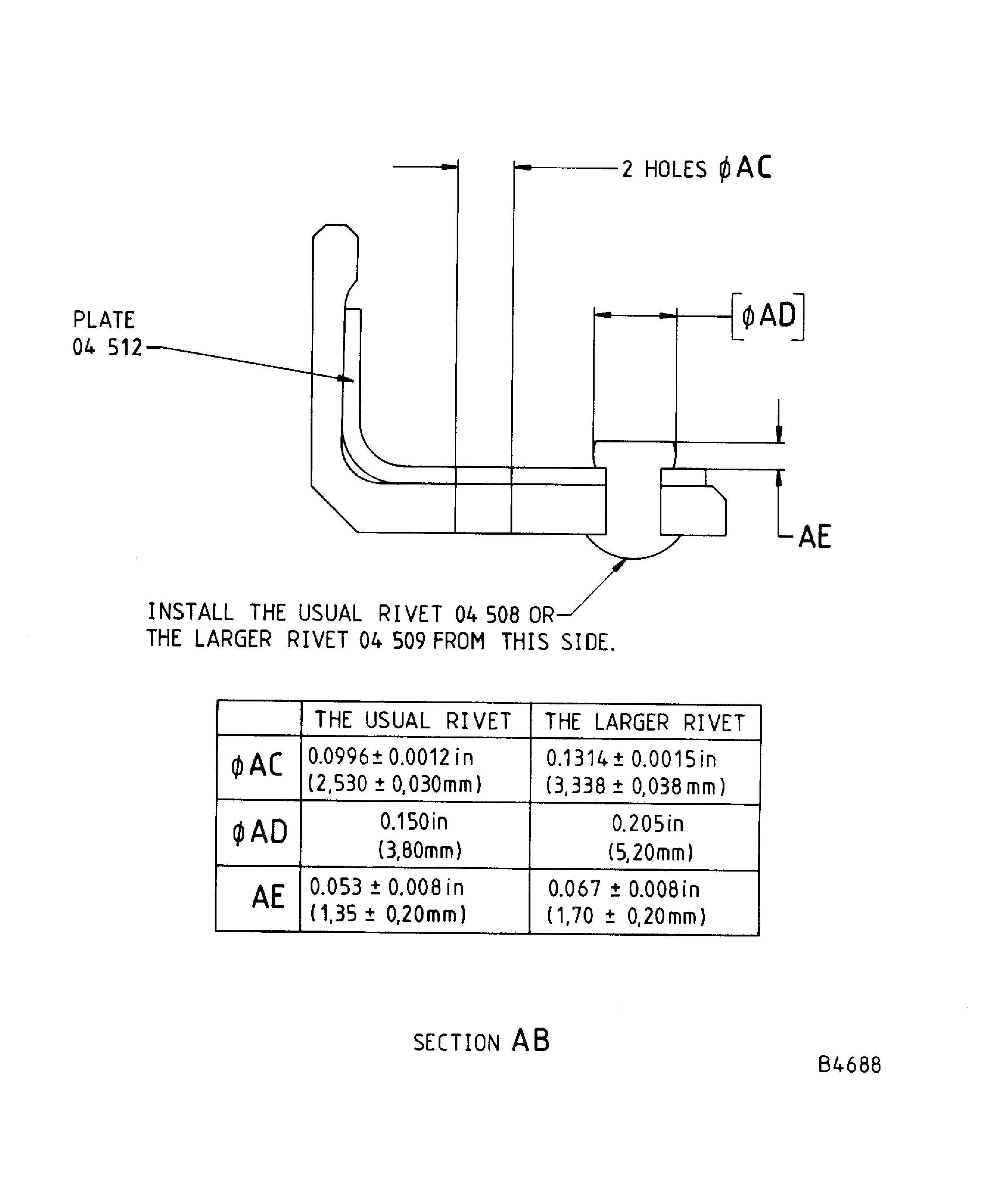
Use 6A5672 , 1 off, 04-512 with a toolmakers clamp or equivalent.
Safety the plate to the heatshield.
SUBTASK 72-41-21-323-059-B00 Drill the Plate and Rivet Holes, Assembly B
Refer to the SPM TASK 70-11-26-300-503.
Chemically clean the plate and around the rivet holes.
SUBTASK 72-41-21-110-136 Chemically clean
Refer to the SPM TASK 70-23-05-230-501.
Cracks are not permitted.
Do a local penetrant crack test on the plate and around the rivet holes.
SUBTASK 72-41-21-230-160 Do a Crack Test
Refer to the SPM TASK 70-39-03-390-501.
Use standard workshop equipment.
Cold squeeze the rivet(s) in place.
SUBTASK 72-41-21-390-058-A00 Safety the Rivet(s) in Place, Assembly A
Refer to the SPM TASK 70-39-03-390-501.
Use standard workshop equipment.
Cold squeeze the rivet(s) in place.
SUBTASK 72-41-21-390-058-B00 Safety the Rivet(s) in Place, Assembly B
Refer to the SPM TASK 70-11-26-300-503.
Chemically clean the rivet heads and plate.
SUBTASK 72-41-21-110-137 Chemically clean
Refer to the SPM TASK 70-23-05-230-501.
Cracks are not permitted.
Do a local penetrant crack test on the rivet heads and plate.
SUBTASK 72-41-21-230-161 Do a Crack Test
Refer to the SPM TASK 70-09-00-400-501, SUBTASK 70-09-00-400-001.
Use vibro engraving equipment.
Mark VRS6336/2 adjacent to the part number when a damaged plate is replaced.
SUBTASK 72-41-21-350-153 Identify the Repair
Refer to VRS6335, TASK 72-41-21-300-083.
Apply the surface protection to the HP Compressor front heatshield, stage 10.
SUBTASK 72-41-21-380-098 Apply the Surface Protection
Figure: Repair details and dimensions - Assy A
Repair details and dimensions - Assy A

Figure: Repair details and dimensions - Assy B
Repair details and dimensions - Assy B

Figure: Repair details and dimensions - Assy A
Repair details and dimensions - Assy A

Figure: Repair details and dimensions - Assy B
Repair details and dimensions - Assy B

