Export Control
EAR Export Classification: Not subject to the EAR per 15 C.F.R. Chapter 1, Part 734.3(b)(3), except for the following Service Bulletins which are currently published as EAR Export Classification 9E991: SBE70-0992, SBE72-0483, SBE72-0580, SBE72-0588, SBE72-0640, SBE73-0209, SBE80-0024 and SBE80-0025.Copyright
© IAE International Aero Engines AG (2001, 2014 - 2021) The information contained in this document is the property of © IAE International Aero Engines AG and may not be copied or used for any purpose other than that for which it is supplied without the express written authority of © IAE International Aero Engines AG. (This does not preclude use by engine and aircraft operators for normal instructional, maintenance or overhaul purposes.).Applicability
All
Common Information
TASK 72-41-34-200-002-C00 HPC Vane Actuating Crankshaft - Examine, Inspection-002
General
This TASK gives the procedure for the inspection of the vane actuating crank shaft.
Fig/item numbers in parentheses in the procedure agree with those used in the IPC. Only the primary Fig/item numbers are used. For the Service Bulletin alpha variants refer to the IPC.
The policy that is necessary for inspection is given in SPM TASK 70-20-01-200-501.
All the parts must be cleaned before any part is examined.
All the parts must be visually examined for damage, corrosion and wear. Any defects that are not identified in the procedure must be referred to IAE.
The procedure for those parts which must have a crack test is given in Step. Do the crack test before the part is visually examined.
Do not discard any part until you are sure there are no repairs available. Refer to the instructions in repair before a discarded part is used again or oversize parts are installed.
Parts which should be discarded can be held although no repair is available. The repair of a discarded part can be shown to be necessary at a subsequent date.
All the parts must be examined to make sure that all the repairs have been completed satisfactorily.
The practices and processes referred to in the procedure by the TASK/SUBTASK numbers are in SPM.
References
Refer to SPM for data on these items:
Definition of Damage, SPM TASK 70-02-02-350-501,
Inspection of Parts, SPM TASK 70-20-01-200-501.
Some data on these items are contained in this TASK. For more data on these items refer to SPM:
Method of Testing for Crack Indications,
Chemical Processes,
Surface Protection.
Preliminary Requirements
Pre-Conditions
NONESupport Equipment
NONEConsumables, Materials and Expendables
NONESpares
NONESafety Requirements
NONEProcedure
Clean the parts. Refer to TASK 72-41-34-100-000 (CLEANING-000).
SUBTASK 72-41-34-230-116 Examine the Vane Actuating Crank Shaft for Cracks
Refer to Figure.
More than in Step.
Scored.
More than in Step.
Scratched.
Less than in Step.
Wear.
SUBTASK 72-41-34-220-311-001 Examine the Vane Actuating Crank Shaft (6A7805) Bearing Surfaces at Locations 1353 (Pre SBE 72-0426)
Repair, VRS9392 TASK 72-41-34-300-012 (REPAIR-012).
For PN 6A8611 only, more than 0.002 in. (0.05 mm) and not more than 0.010 in. (0.25 mm) in depth.
Scored.
Repair, VRS9392 TASK 72-41-34-300-012 (REPAIR-012).
For PN 6A8611 only, more than 0.002 in. (0.05 mm) and not more than 0.010 in. (0.25 mm) in depth.
Scratched.
Less than in Step.
Wear.
SUBTASK 72-41-34-220-311-002 Examine the Vane Actuating Crank Shaft and Bearing Surface at Location 1353 (SBE 72-0426 and SBE 72-0564)
Refer to Figure.
More than in Step.
Scored.
More than in Step.
Scratched.
Less than in Step.
Wear.
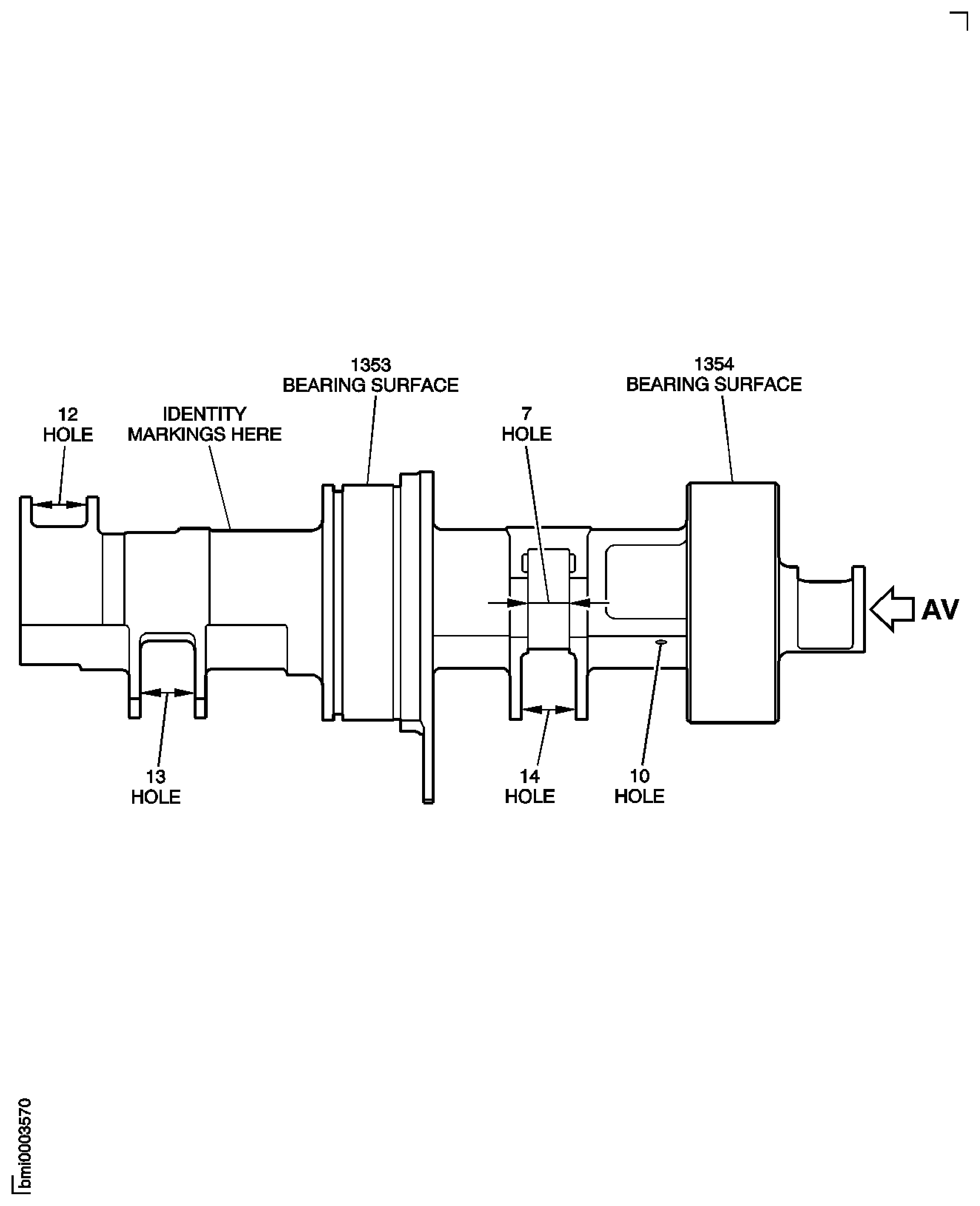
SUBTASK 72-41-34-220-312-A00 Examine the Vane Actuating Crank Shaft Bearing Surface at Location 1354 (Pre SBE 72-0564)
More than in Step.
Scored.
More than in Step.
Scratched.
Less than in Step.
Wear.
SUBTASK 72-41-34-220-312-B00 Examine the Vane Actuating Crank Shaft Bearing Surfaces at Location 1354 (SBE 72-0564)
Refer to Figure.
More than in Step.
Galled.
Repair, VRS9392 TASK 72-41-34-300-012 (REPAIR-012).
Not more than 0.030 in. (0.76 mm) in depth.
Reject.
More than in Step.
For PN 6A7976 only, nicked and scratched damage at edges of Location 3.
Reject.
For PN 6A7976 only, nicked and scratched damage at Location 4.
SUBTASK 72-41-34-220-314 Examine the Vane Actuating Crank Shaft Assembly Surface at Locations 3 and 4 (Pre SBE 72-0564)
Refer to Figure.
If the diameter of the hole is more than in Step.
Worn - hole 11.
SUBTASK 72-41-34-220-315 Examine the Vane Actuating Crank Shaft Assembly Bolt Holes at Location 9 and 11 (Pre SBE 72-0564)
If the diameter of the hole is more than in Step.
Worn.
SUBTASK 72-41-34-220-577 Examine the Vane Actuating Crank Shaft Bolt Holes at Locations 12, 13, 14 and 15 (SBE 72-0564)
Refer to Figure.
SUBTASK 72-41-34-220-317 Examine the Vane Actuating Crank Shaft Screw Thread Inserts at Location 2 (Pre )
Refer to Figure.
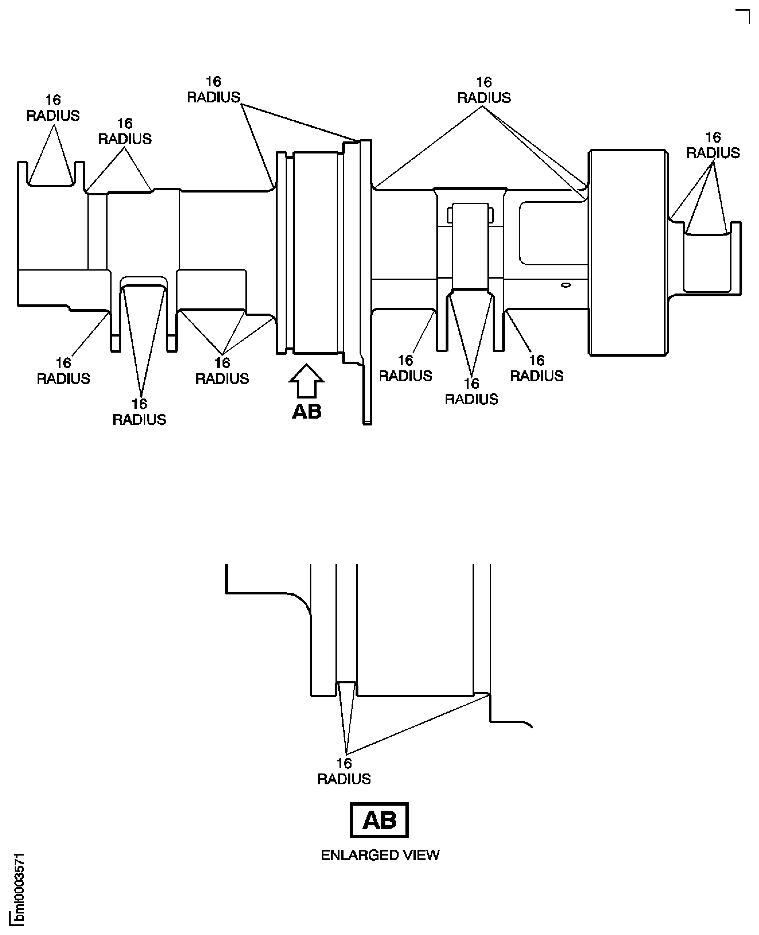
SUBTASK 72-41-34-220-578 Examine the Vane Actuating Crank Shaft Assembly Radii, Location 16, SBE-72-0564
Repair, VRS9392 TASK 72-41-34-300-012 (REPAIR-012).
More than 0.002 in. (0.05 mm) and not more than 0.020 in. (0.50 mm) in depth.
Nicked and scratched.
Repair, VRS9392 TASK 72-41-34-300-012 (REPAIR-012).
Not more than 0.020 in. (0.50 mm) in depth.
Reject.
More than in Step.
Wear.
Repair, VRS6187 TASK 72-41-34-300-019 (REPAIR-019).
More than in Step.
Dented.
Repair, VRS6187 TASK 72-41-34-300-019 (REPAIR-019).
More than in Step.
Burred.
SUBTASK 72-41-34-220-683 Examine the Vane Actuating Crank Shaft Assembly, Wrench Flat Surfaces (For PN 6A7976 Only)
Repair, VRS9392 TASK 72-41-34-300-012 (REPAIR-012).
More than 0.002 in. (0.05 mm) and not more than 0.010 in. (0.25 mm) in depth.
Nicked and scratched.
Repair, VRS6187 TASK 72-41-34-300-019 (REPAIR-019).
More than in Step.
Dented.
Repair, VRS6187 TASK 72-41-34-300-019 (REPAIR-019).
More than in Step.
Burred.
SUBTASK 72-41-34-220-684 Examine the Vane Actuating Crank Shaft Assembly, Aft Flange Surfaces (For PN 6A8611 Only)
Refer to Figure.
Repair, VRS6187 TASK 72-41-34-300-019 (REPAIR-019).
More than in Step.
Surface damage.
SUBTASK 72-41-34-220-680 Examine the Clevis Leg Inner Face
Figure: SBE 72-0406, SBE 72-0426 and Pre SBE 72-0564: Vane Actuating Crank Shaft - Inspection Locations
SBE 72-0406, SBE 72-0426 and Pre SBE 72-0564: Vane Actuating Crank Shaft - Inspection Locations

Figure: SBE 72-0564: Vane Actuating Crank Shaft - Inspection Locations
SBE 72-0564: Vane Actuating Crank Shaft - Inspection Locations

Figure: SBE 72-0564: Vane Actuating Crank Shaft - Inspection Locations
SBE 72-0564: Vane Actuating Crank Shaft - Inspection Locations

Figure: SBE 72-0564: Vane Actuating Crank Shaft - Inspection Locations
SBE 72-0564: Vane Actuating Crank Shaft - Inspection Locations

Figure: Clevis Leg Inner Surface - Inspection Locations
Clevis Leg Inner Surface - Inspection Locations

Figure: Vane Actuating Crank Shaft - Wrench Flat Inspection Locations (Applicable to PN 6A7976 Only)
Vane Actuating Crank Shaft - Wrench Flat Inspection Locations (Applicable to PN 6A7976 Only)

Figure: Vane Actuating Crank Shaft - Aft Flange Surfaces Inspection Locations (Applicable to PN 6A8611 Only)
Vane Actuating Crank Shaft - Aft Flange Surfaces Inspection Locations (Applicable to PN 6A8611 Only)

