Export Control
EAR Export Classification: Not subject to the EAR per 15 C.F.R. Chapter 1, Part 734.3(b)(3), except for the following Service Bulletins which are currently published as EAR Export Classification 9E991: SBE70-0992, SBE72-0483, SBE72-0580, SBE72-0588, SBE72-0640, SBE73-0209, SBE80-0024 and SBE80-0025.Copyright
© IAE International Aero Engines AG (2001, 2014 - 2021) The information contained in this document is the property of © IAE International Aero Engines AG and may not be copied or used for any purpose other than that for which it is supplied without the express written authority of © IAE International Aero Engines AG. (This does not preclude use by engine and aircraft operators for normal instructional, maintenance or overhaul purposes.).Applicability
All
Common Information
TASK 72-41-34-200-015 HPC Inlet Guide Vane Ring Centralizing Pad And Housing - Examine, Inspection-015
Effectivity
FIG/ITEM PART NO. | |
|---|---|
02-680 | 6A2917 |
02-680 | 6A3943 |
02-730 | 6A2920 |
02-730 | 6A3946 |
02-750 | 6A2923 |
02-750 | 6A3949 |
General
This TASK gives the procedure for the inspection of the variable guide vane centralizing pad housings and the connector housings
Fig/item numbers in parentheses in the procedure agree with those used in the EIPC. Only the primary Fig/item numbers are used. For the service bulletin alpha variants refer to the EIPC.
The policy that is necessary for inspection is given in the SPM TASK 70-20-01-200-501.
All the parts must be cleaned before any part is examined.
All the parts must be visually examined for damage, corrosion and wear. Any defects that are not identified in the procedure must be referred to IAE.
The procedure for those parts which must have a crack test is given in Step. Do the test before the part is visually examined.
Do not discard any part until you are sure there are no repairs available. Refer to the instructions in Repair before a discarded part is used again or oversize parts are installed.
Parts which should be discarded can be held although no repair is available. The repair of a discarded part could be shown to be necessary at a subsequent date.
All the parts must be examined to make sure that all the repairs have been completed satisfactorily.
The practices and processes referred to in the procedure by the TASK/SUBTASK number are in the SPM.
References
Refer to the SPM for data on these items:
Definition of Damage, SPM TASK 70-02-02-350-501,
Record and Control of the Lives of Parts, SPM TASK 70-05-00-220-501,
Inspection of parts, SPM TASK 70-20-01-200-501.
Some data on these items are contained in this TASK. For more data on these items refer to the SPM:
Method of Testing for Crack Indications,
Chemical Processes,
Surface Protection.
Preliminary Requirements
Pre-Conditions
NONESupport Equipment
NONEConsumables, Materials and Expendables
NONESpares
NONESafety Requirements
NONEProcedure
Clean the parts. Refer to TASK 72-41-34-100-000.
SUBTASK 72-41-34-230-064 Examine the Variable Inlet Guide Vane Centralizing Pad Housings and the Connector Housings for Cracks
Refer to: Figure
Repair, VRS6313 TASK 72-41-34-300-041
More than in step A.(1)
Nicked.
Repair, VRS6313 TASK 72-41-34-300-041
More than in step B.(1)
Scored.
Repair, VRS6313 TASK 72-41-34-300-041
More than in step C.(1)
Galled.
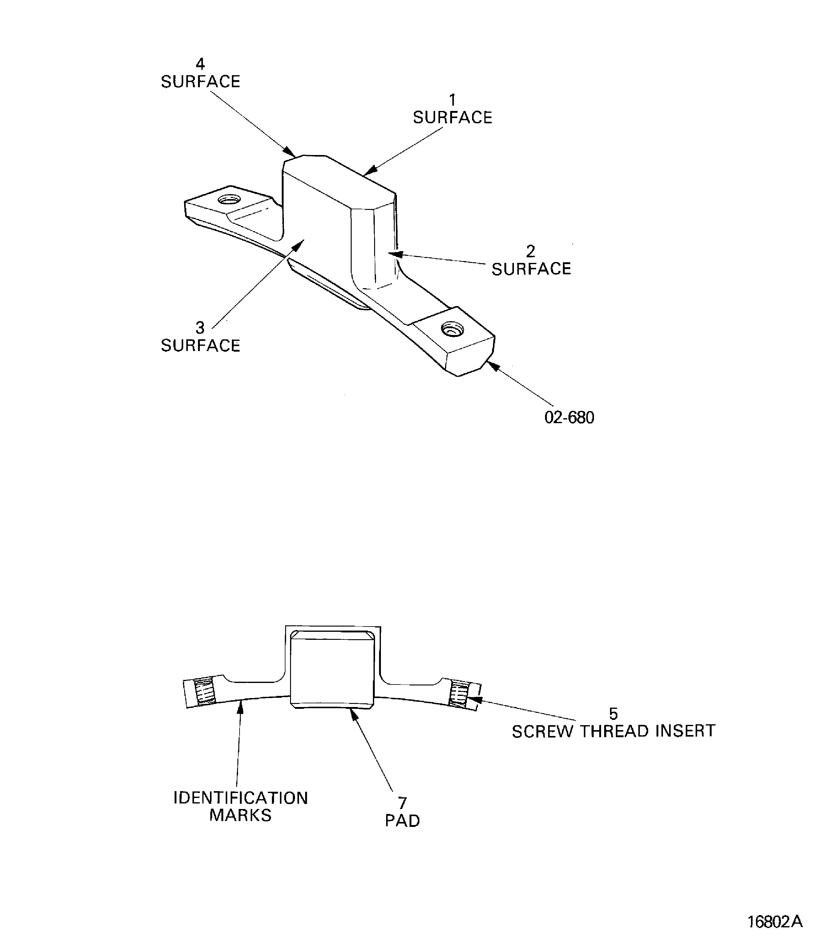
SUBTASK 72-41-34-220-122 Examine the Variable Inlet Guide Vane Centralizing Pad Housings (02-680) Surfaces at Locations 1 to 4
Repair, VRS6155, TASK 72-41-34-300-013
Broken
Repair, VRS6155, TASK 72-41-34-300-013
Crossed
Repair, VRS6155, TASK 72-41-34-300-013
Threads that are not there
Repair, VRS6155, TASK 72-41-34-300-013
Worn
Screw thread inserts at location 5.
Repair, VRS6156 TASK 72-41-34-300-014
Broken
Repair, VRS6156 TASK 72-41-34-300-014
Crossed
Repair, VRS6156 TASK 72-41-34-300-014
Threads that are not there
Repair, VRS6156 TASK 72-41-34-300-014
Worn
Screw thread inserts at location 6.
SUBTASK 72-41-34-220-123 Examine the Variable Inlet Guide Vane Centralizing Pad Housings and the Connector Housings Screw Thread Inserts at Locations 5 and 6
Repair VRS6648, TASK 72-41-34-300-059 (REPAIR-059)
Repair VRS6648, TASK 72-41-34-300-059 (REPAIR-059)
More than in (a)
Scored/Nicked.
Repair VRS6648, TASK 72-41-34-300-059 (REPAIR-059)
More than in (a)
Chipped.
Bearing surface.
Loose
SUBTASK 72-41-34-220-556 Examine the Variable Inlet Guide Vane Centralizing Pad Housings and the Connector Housings Pads at Locations 7 and 8
Repair, VRS6313 TASK 72-41-34-300-041
More than in step A.(1)
Nicked.
Repair, VRS6313 TASK 72-41-34-300-041
More than in step B.(1)
Scored.
Repair, VRS6313 TASK 72-41-34-300-041
More than in step C.(1)
Galled.
SUBTASK 72-41-34-220-200 Examine the Variable Inlet Guide Vane Centralizing Pad Housings (02-730 and 02-750) Remaining Surfaces
Figure: Variable inlet guide vane centralizing pad housings and the connector housings - inspection locations
Variable inlet guide vane centralizing pad housings and the connector housings - inspection locations

Figure: Variable inlet guide vane centralizing pad housings and the connector housings - inspection locations
Variable inlet guide vane centralizing pad housings and the connector housings - inspection locations

