Export Control
EAR Export Classification: Not subject to the EAR per 15 C.F.R. Chapter 1, Part 734.3(b)(3), except for the following Service Bulletins which are currently published as EAR Export Classification 9E991: SBE70-0992, SBE72-0483, SBE72-0580, SBE72-0588, SBE72-0640, SBE73-0209, SBE80-0024 and SBE80-0025.Copyright
© IAE International Aero Engines AG (2001, 2014 - 2021) The information contained in this document is the property of © IAE International Aero Engines AG and may not be copied or used for any purpose other than that for which it is supplied without the express written authority of © IAE International Aero Engines AG. (This does not preclude use by engine and aircraft operators for normal instructional, maintenance or overhaul purposes.).Applicability
All
Common Information
TASK 72-41-34-200-017 HPC Stage 4 Vane Ring Centralizing Pad And Housing - Examine, Inspection-017
Effectivity
FIG/ITEM PART NO. | |
|---|---|
04-680 | 6A2468 |
04-680 | 6A3958 |
04-680 | 6A7394 |
04-730 | 6A2927 |
04-730 | 6A4343 |
04-730 | 6A4810 |
General
This TASK gives the procedure for the inspection of the stage 4 centralizing pads and housing assemblies.
Fig/item numbers in parentheses in the procedure agree with those used in the IPC.
The policy that is necessary for inspection is given in the SPM TASK 70-20-01-200-501.
All the parts must be cleaned before any part is examined. Refer to TASK 72-41-34-100 (CLEANING-000).
All the parts must be visually examined for damage, corrosion and wear. Any defects that are not identified in the procedure must be referred to IAE.
The procedure for the parts which must have a crack test is given in Step. Do the crack test before a part is visually examined.
Do not discard any part until you are sure there are no repairs available. Refer to the instructions in Repair before a discarded part is used again or oversize parts are installed.
Parts which should be discarded can be held although no repair is available. The repair of a discarded part can be shown to be necessary at a subsequent date.
All the parts must be examined to make sure that all the repairs have been completed satisfactorily.
The practices and processes referred to in the procedure by the TASK number are in the SPM.
References
Refer to the SPM for data on these items.
Definition of Damage, TASK 70-02-02-350-501
Inspection of Parts, TASK 70-20-01-200-501
Some data on these items is contained in this TASK. For more data on these items refer to the SPM.
Method of Testing for Crack Indications
Chemical Processes
Surface Protection
Preliminary Requirements
Pre-Conditions
NONESupport Equipment
NONEConsumables, Materials and Expendables
NONESpares
NONESafety Requirements
NONEProcedure
Clean the parts. Refer to TASK 72-41-34-100-000 (CLEANING-000).
SUBTASK 72-41-34-230-066 Examine the Stage 4 Centralizing Pads and Housing Assemblies for Cracks
Refer to: Figure
Repair, VRS6206, TASK 72-41-34-300-038 (REPAIR-038)
More than in step A.(1)
Galled.
Repair, VRS6206, TASK 72-41-34-300-038 (REPAIR-038)
More than in step B.(1)
Scored.
SUBTASK 72-41-34-220-129 Examine the Stage 4 Centralizing Pads Internal Surfaces at Location 1
Refer to: Figure
Repair, VRS6206, TASK 72-41-34-300-038 (REPAIR-038)
Burred edges
SUBTASK 72-41-34-220-130 Examine the Stage 4 Centralizing Pads Bolt Holes at Location 2
Refer to: Figure
Repair, VRS6155, TASK 72-41-34-300-013 (REPAIR-013)
Broken
Repair, VRS6155, TASK 72-41-34-300-013 (REPAIR-013)
Crossed
Repair, VRS6155, TASK 72-41-34-300-013 (REPAIR-013)
Threads that are not there
Repair, VRS6155, TASK 72-41-34-300-013 (REPAIR-013)
Worn
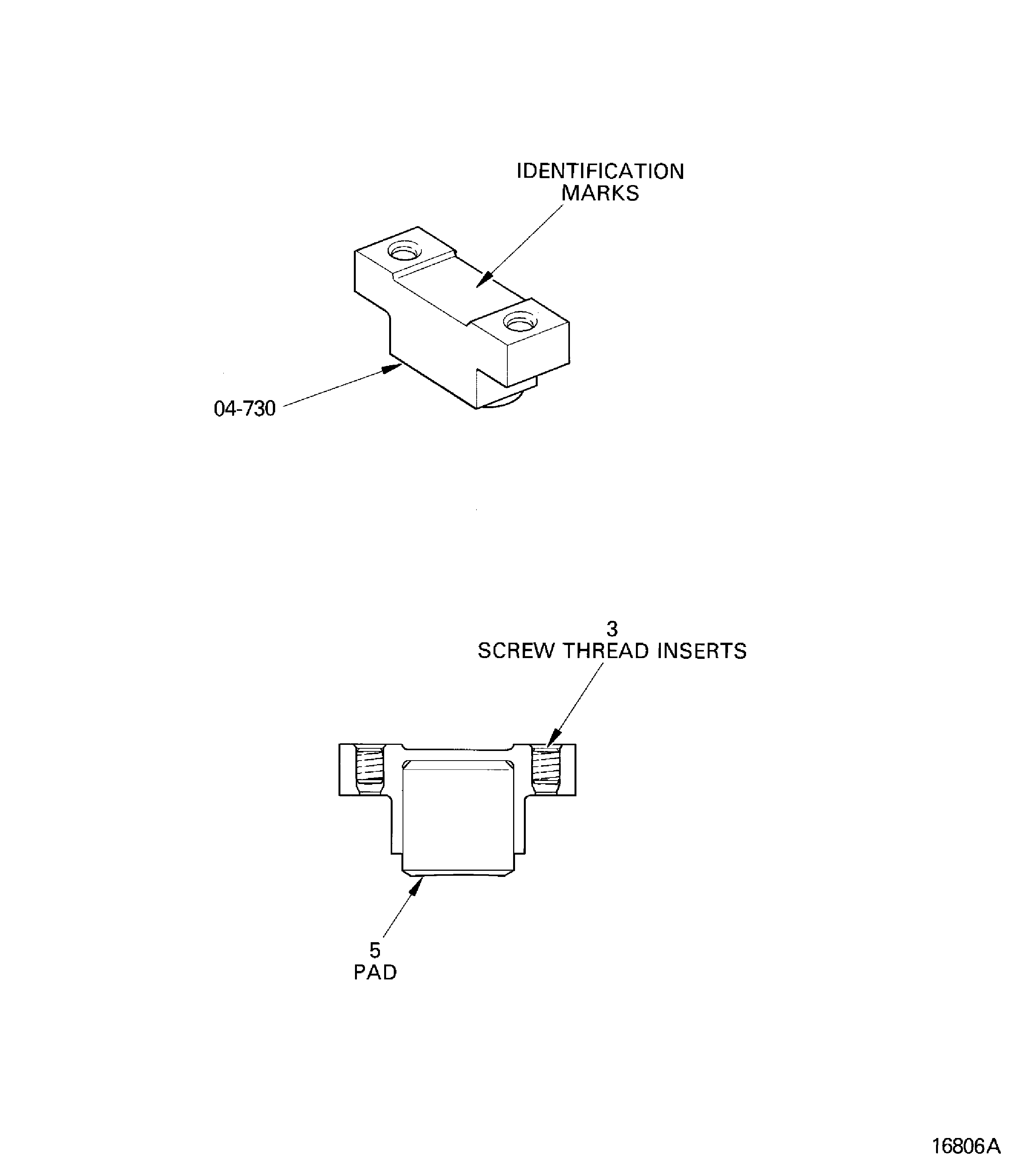
Screw thread inserts at location 3.
SUBTASK 72-41-34-220-131 Examine the Stage 4 Housing Assemblies Screw Thread Inserts at Location 3
Refer to: Figure
Repair, VRS6314, TASK 72-41-34-300-040 (REPAIR-040)
Fig/item (04-730)
Repair, VRS6314, TASK 72-41-34-300-040 (REPAIR-040)
Fig/item (04-730)
More than in step (1)(a)
Scored.
Repair, VRS6314, TASK 72-41-34-300-040 (REPAIR-040)
Fig/item (04-730)
More than in step (2)(a)
Nicked.
Repair, VRS6314, TASK 72-41-34-300-040 (REPAIR-040)
Fig/item (04-730)
More than in step (3)(a)
Chipped.
Bearing surface.
Loose
SUBTASK 72-41-34-220-132 Examine the Stage 4 Centralizing Pads and Housing Assemblies Pads at Locations 4 and 5
Repair, VRS6206, TASK 72-41-34-300-038 (REPAIR-038)
Fig/item (04-680)
Repair, VRS6313, TASK 72-41-34-300-041 (REPAIR-041)
Fig/item (04-730)
More than in step A.(1)
Nicked.
Repair, VRS6206, TASK 72-41-34-300-038 (REPAIR-038)
Fig/item (04-680)
Repair, VRS6313, TASK 72-41-34-300-041 (REPAIR-041)
Fig/item (04-730)
More than in step B.(1)
Scored.
SUBTASK 72-41-34-220-179 Examine the Stage 4 Centralizing Parts and Housing Assemblies all Remaining Surfaces
Figure: Stage 4 Centralizing Pads and Housing Assemblies - Inspection Locations
Stage 4 Centralizing Pads and Housing Assemblies - Inspection Locations

Figure: Stage 4 Centralizing Pads and Housing Assemblies - Inspection Locations
Stage 4 Centralizing Pads and Housing Assemblies - Inspection Locations

