Export Control
EAR Export Classification: Not subject to the EAR per 15 C.F.R. Chapter 1, Part 734.3(b)(3), except for the following Service Bulletins which are currently published as EAR Export Classification 9E991: SBE70-0992, SBE72-0483, SBE72-0580, SBE72-0588, SBE72-0640, SBE73-0209, SBE80-0024 and SBE80-0025.Copyright
© IAE International Aero Engines AG (2001, 2014 - 2021) The information contained in this document is the property of © IAE International Aero Engines AG and may not be copied or used for any purpose other than that for which it is supplied without the express written authority of © IAE International Aero Engines AG. (This does not preclude use by engine and aircraft operators for normal instructional, maintenance or overhaul purposes.).Applicability
All
Common Information
TASK 72-44-50-300-011 HPT Stage 1 Cooling (TOBI) Duct - Weld Repair Cracks And/Or Burns on The Outer Flange, Repair-011 (VRS3558)
Effectivity
FIG/ITEM | PART NO. | |
|---|---|---|
01-010 | 2A0008-01 | |
01-010 | 2A1997-01 | |
01-010 | 2A1997-001 | |
01-010 | 2A1997-002 | |
01-010 | 2A1997-003 | |
01-010 | 2A2141-01 | |
01-010 | 2A3180-01 | |
01-010 | 2A3329-01 | |
01-010 | 2A3487-01 | |
01-010 | 2A3487-001 | |
01-010 | 2A3491-01 | |
01-010 | 2A3914-01 | |
01-010 | 2A3914-001 | |
01-010 | 2A4086 |
General
The practices and processes referred to in this procedure by the TASK number are in the SPM.
NOTE
Preliminary Requirements
Pre-Conditions
NONESupport Equipment
| Name | Manufacturer | Part Number / Identification | Quantity | Remark |
|---|---|---|---|---|
| Portablegrinding equipment | LOCAL | Portable grinding equipment | ||
| Welding equipment | LOCAL | Welding equipment | ||
| Workshop inspection equipment | LOCAL | Workshop inspection equipment |
Consumables, Materials and Expendables
| Name | Manufacturer | Part Number / Identification | Quantity | Remark |
|---|---|---|---|---|
| CoMat 03-284 WELDING FILLER WIRE, NiBASE | LOCAL | CoMat 03-284 | ||
| CoMat 05-146 WHEEL, SILICON CARBIDE ABRASIVE COAT DELETED | 0AM53 | CoMat 05-146 |
Spares
| Name | Manufacturer | Part Number / Identification | Quantity | Remark |
|---|---|---|---|---|
| Locating Pin | 2A0869 | AR |
Safety Requirements
NONEProcedure
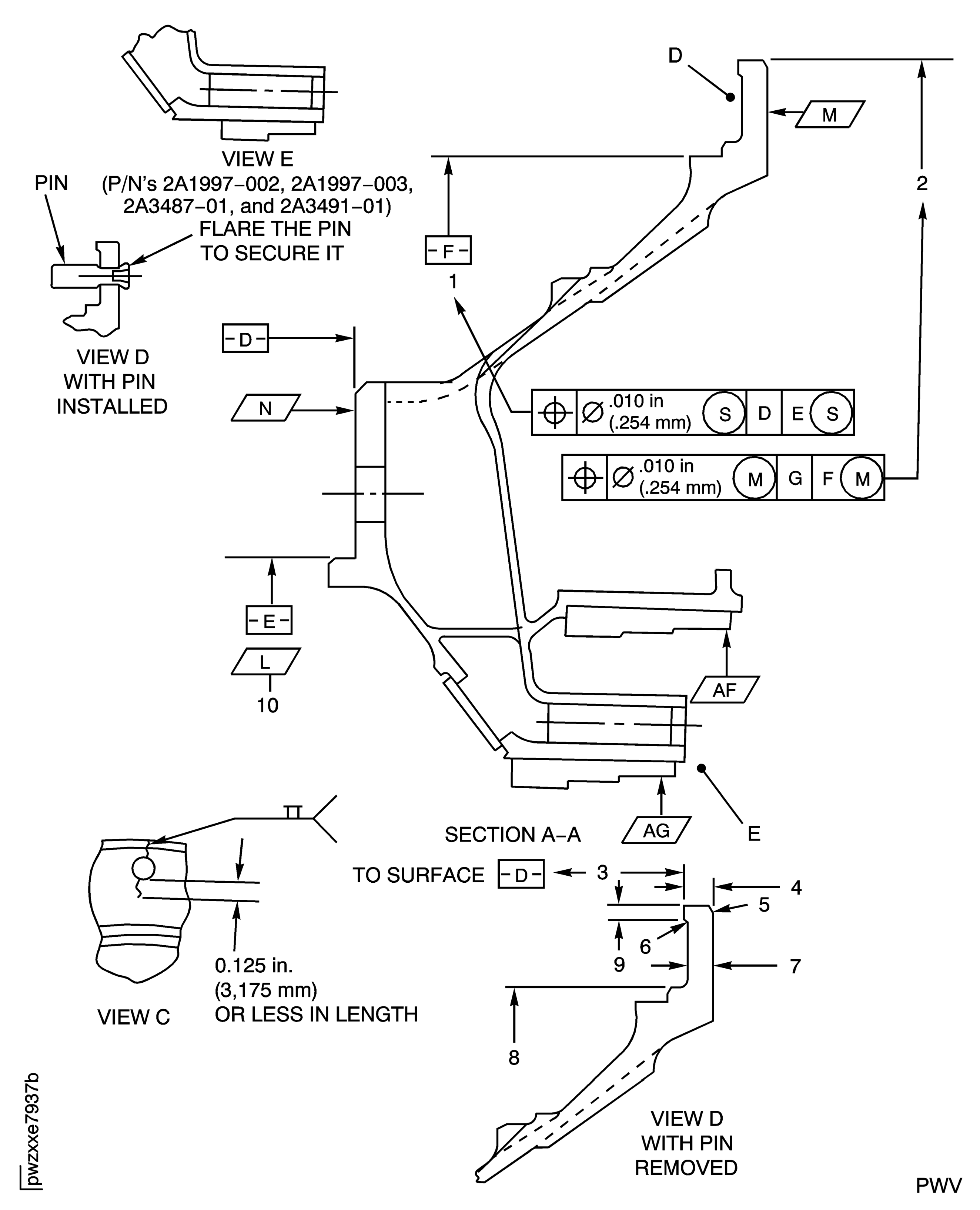
Refer to Figure.
SUBTASK 72-44-50-350-077 Remove the Locating Pin from the Stage 1 HPT Cooling Duct
Refer to the SPM TASK 70-31-02-310-501-011.
Prepare the part for weld.
SUBTASK 72-44-50-350-078 Remove Cracks or Burns in the Flange before Weld Repair and Weld Preparation
Refer to the SPM TASK 70-23-05-230-501.
Use fluorescent penetrant (medium post-emulsified).
Fluorescent penetrant inspect the repair area. No cracks permitted.
SUBTASK 72-44-50-230-065 Fluorescent Penetrant Inspect the Stage 1 HPT Cooling Duct
Refer to the SPM TASK 70-11-26-300-503.
Clean the area to be welded.
SUBTASK 72-44-50-120-051 Clean the Area to be Welded
Refer to Figure for dimensional requirements for the duct flange.
It is recommended that you use a one inch (25.400 mm) thick steel plate as a fixture to minimize distortion during welding.
Use CoMat 03-284 WELDING FILLER WIRE, NiBASE and the manual gas tungsten arc weld method.
Refer to the SPM TASK 70-31-02-310-501-011.
Weld to repair the cracks and burns you routed out.
SUBTASK 72-44-50-310-052 Weld to Repair Damage in the Stage 1 HPT Cooling Duct
Refer to the SPM TASK 70-23-05-230-501.
Use fluorescent penetrant (medium post-emulsified).
Do a fluorescent penetrant inspection of the repaired area. No cracks permitted.
SUBTASK 72-44-50-370-057 Optional, Fluorescent Penetrant Inspect the Stage 1 HPT Cooling Duct
NOTE
Solution heat treat may be done concurrent with honeycomb brazing cycle in VRS3179, TASK 72-44-50-300-003 (REPAIR-003).Hold at 1125 to 1175 deg F (607.222 to 635 deg C) for eight hours.
SUBTASK 72-44-50-370-058 Solution Heat Treat and Precipitation Harden the Stage 1 HPT Cooling Duct
Refer to the SPM TASK 70-23-05-230-501.
Use fluorescent penetrant (medium post-emulsified).
Refer to the SPM TASK 70-23-01-230-501.
Do a fluorescent penetrant inspection of the part. No cracks permitted.
SUBTASK 72-44-50-230-067 Fluorescent Penetrant Inspect the Stage 1 HPT Cooling Duct
Refer to Figure.
SUBTASK 72-44-50-220-077 Examine the Stage 1 HPT Cooling Duct for Hardness
Refer to the dimensions given in the figure and TASK 72-44-50-200-000 (INSPECTION-000).
Finish machine the bolt holes and flange.
SUBTASK 72-44-50-320-077 Machine the Bolt Holes and Flange of the Stage 1 HPT Cooling Duct
Refer to TASK 72-44-50-200-000 (INSPECTION-000).
Examine the repair.
SUBTASK 72-44-50-220-108 Examine the Repair
Refer to Figure.
SUBTASK 72-44-50-350-070 Install a New Locating Pin to the Stage 1 HPT Cooling Duct
Refer to Figure.
SUBTASK 72-44-50-350-079 Remove the Locating Pin from the Stage 1 HPT Cooling Duct
Refer to Figure for dimensional requirements for the duct flange.
It is recommended that you use a one inch (25.400 mm) thick steel plate as a fixture to minimize distortion during welding.
Use CoMat 03-284 WELDING FILLER WIRE, NiBASE and the manual gas tungsten arc method.
Refer to TASK 70-31-02-310-501-001.
Weld to repair the cracks and burns you routed out.
SUBTASK 72-44-50-310-056 Weld to Repair Damage in the Stage 1 HPT Cooling Duct
Refer to Figure.
SUBTASK 72-44-50-220-077 Examine the Stage 1 HPT Cooling Duct for Hardness
Refer to the SPM TASK 70-23-05-230-501.
Fluorescent penetrant inspect the duct for stress cracks in the welded areas and the flange areas adjacent to the welds. No cracks are permitted.
SUBTASK 72-44-50-230-069 Fluorescent Penetrant Inspect the Stage 1 HPT Cooling Duct after Heat Treat
Refer to the dimensions given in the figure and TASK 72-44-50-200-000 (INSPECTION-000).
Finish machine the bolt holes and flange.
SUBTASK 72-44-50-320-078 Machine the Bolt Holes and Flange of the Stage 1 HPT Cooling Duct
Refer to Figure.
SUBTASK 72-44-50-350-080 Install a New Locating Pin to the Stage 1 HPT Cooling Duct
Figure: Repair Details and Dimensions (for all PNs except 2A3487-001)
Sheet 1

Figure: Repair Details and Dimensions (for PN 2A3487-001)
Sheet 2

Figure: Repair Details and Dimensions
Sheet 3

Figure: Repair Details and Dimensions
Repair Details and Dimensions

