Export Control
EAR Export Classification: Not subject to the EAR per 15 C.F.R. Chapter 1, Part 734.3(b)(3), except for the following Service Bulletins which are currently published as EAR Export Classification 9E991: SBE70-0992, SBE72-0483, SBE72-0580, SBE72-0588, SBE72-0640, SBE73-0209, SBE80-0024 and SBE80-0025.Copyright
© IAE International Aero Engines AG (2001, 2014 - 2021) The information contained in this document is the property of © IAE International Aero Engines AG and may not be copied or used for any purpose other than that for which it is supplied without the express written authority of © IAE International Aero Engines AG. (This does not preclude use by engine and aircraft operators for normal instructional, maintenance or overhaul purposes.).Applicability
All
Common Information
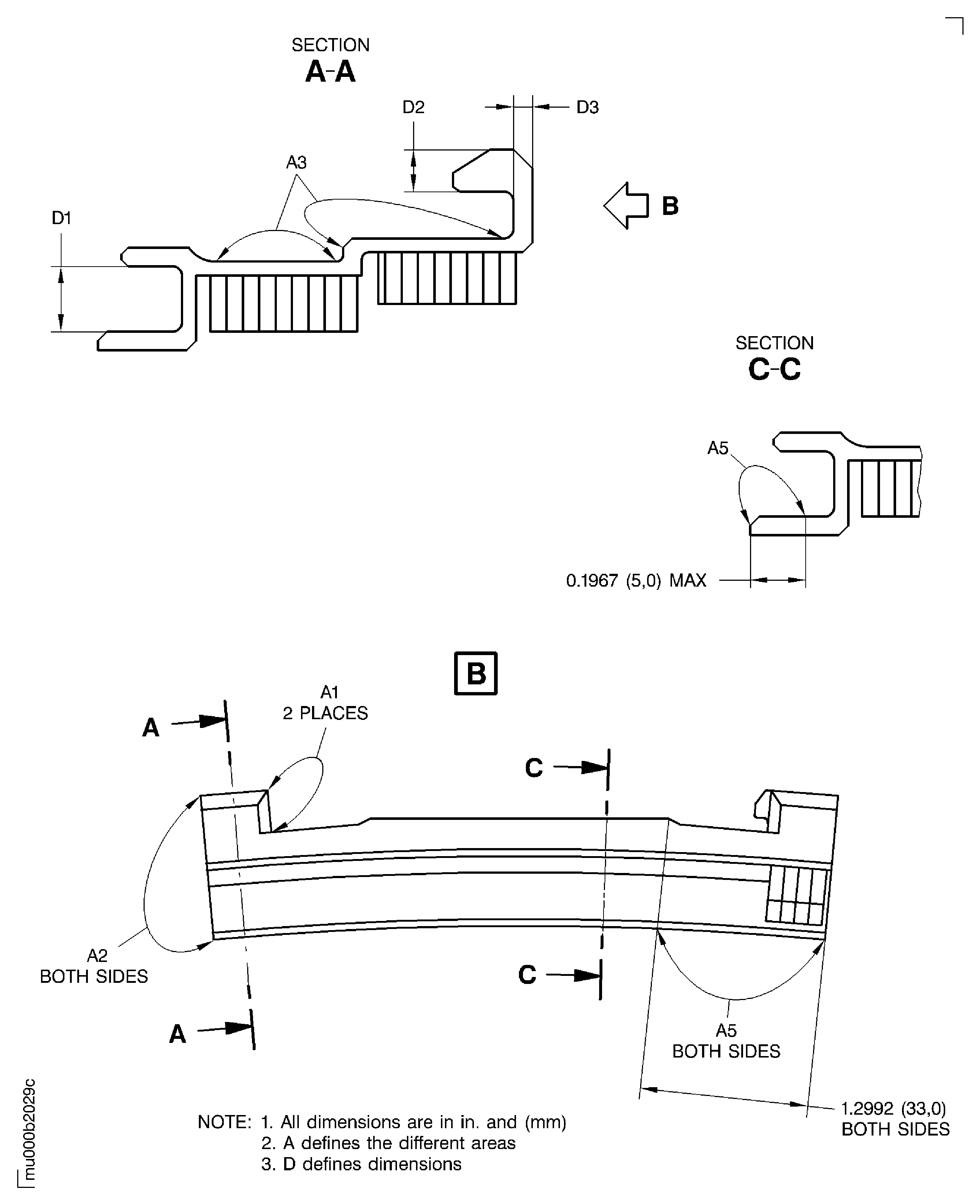
TASK 72-50-23-200-002-B00 LPT Stage 5 Outer Shroud Seal Segment - Examine, Inspection-002
General
This TASK gives the procedure for the inspection of the stage 5 shroud seal segment.
Fig/item numbers in parentheses in the procedure agree with those used in the EIPC.
The policy that is necessary for inspection is given in the SPM TASK 70-20-00-200-501.
All parts must be cleaned before any part is examined. Refer to TASK 72-50-23-100-000 (CLEANING-000)
All parts must be visually examined for damage, corrosion and wear. Any defects that are not identified in the procedure must be referred to IAE.
The procedure for those parts which must have a crack test is given in Step. Do the test before the part is visually examined.
A ** following repair referenced in this inspection indicates that the repair is not yet published in the current revision of the manual and the part must be rejected. Contact IAE for additional information concerning FAA approved repair date.
Do not discard any part until you are sure there are no repairs available. Refer to the instructions in Repair before a discarded part is used again or oversize parts are installed.
Parts which should be discarded can be held although no repair is available. The repair of a discarded part could be shown to be necessary at a later date.
All parts must be examined to make sure that all the repairs have been completed satisfactorily.
The practices and processes referred to in the procedure by the TASK numbers are in the SPM.
References
Refer to the SPM for data on these items.
Definitions of Damage, SPM TASK 70-02-02-350-501
Record and Control of the Lives of Parts, SPM TASK 70-05-00-220-501
Inspection of Parts, SPM TASK 70-20-00-200-501
Some data on these items is contained in this TASK. For more data on these items refer to the SPM.
Method of Testing for Crack Indications
Chemical Processes
Surface Protection
Preliminary Requirements
Pre-Conditions
NONESupport Equipment
NONEConsumables, Materials and Expendables
NONESpares
NONESafety Requirements
NONEProcedure
Clean the parts. Refer to TASK 72-50-23-100-000 (CLEANING-000).
Repair, VRS4422 TASK 72-50-23-300-048 (REPAIR-048)
Cracked in area A3 more than in (1) and not more than 0.600 in. (15.24 mm)
Do the test for cracks on the parts that are given below. Use the applicable penetrant procedure.
PART IDENT TASK/SUBTASK
Stage 5 shroud seal segment
SUBTASK 72-50-23-230-068 Examine the Stage 5 Shroud Seal Segment for Cracks
Repair, VRS4275 TASK 72-50-23-300-034 (REPAIR-034)
Other than in (1)
Nicked, dented.
SUBTASK 72-50-23-220-090 Examine the Stage 5 Shroud Seal Segment for Surface Damage
Repair, VRS4276 TASK 72-50-23-300-041 (REPAIR-041)
Other than in (1)
Unbonded areas.
Repair, VRS4276 TASK 72-50-23-300-041 (REPAIR-041)
More than in (1)
Damaged or bent cells.
Repair, VRS4276 TASK 72-50-23-300-041 (REPAIR-041)
Other than in (1)
Rub damage.
SUBTASK 72-50-23-220-091 Examine the Honeycombs of the Stage 5 Shroud Seal Segment for Damage
Refer to Figure.
Repair, VRS4085 TASK 72-50-23-300-011 (REPAIR-011)
More than in (a)
Fretted.
Examine the stage 5 shroud seal segment in area A1 for fretting.
Repair, VRS4552 TASK 72-50-23-300-055 (REPAIR-055)
Less than in (a) and not less than 0.0472 in. (1.20 mm)
Worn, measure dimension D3.
Examine the stage 5 shroud seal segment at dimension D3 for wear.
SUBTASK 72-50-23-220-092 Examine the Stage 5 Shroud Seal Segment for Wear
Figure: Examine the Stage 5 Shroud Seal Segment
Examine the Stage 5 Shroud Seal Segment

