Export Control
EAR Export Classification: Not subject to the EAR per 15 C.F.R. Chapter 1, Part 734.3(b)(3), except for the following Service Bulletins which are currently published as EAR Export Classification 9E991: SBE70-0992, SBE72-0483, SBE72-0580, SBE72-0588, SBE72-0640, SBE73-0209, SBE80-0024 and SBE80-0025.Copyright
© IAE International Aero Engines AG (2001, 2014 - 2021) The information contained in this document is the property of © IAE International Aero Engines AG and may not be copied or used for any purpose other than that for which it is supplied without the express written authority of © IAE International Aero Engines AG. (This does not preclude use by engine and aircraft operators for normal instructional, maintenance or overhaul purposes.).Applicability
All
Common Information
TASK 72-50-24-200-004-B00 LPT Stage 3 Inner Air Seal Ring - Examine The Stage 3 Air Seal Ring
General
This TASK gives the procedure for the inspection of the air seal ring. For the other LP turbine inner static seal parts, refer to TASK 72-50-24-200-000 (INSPECTION/CHECK-000).
Fig/item numbers in parentheses in the procedure agree with those used in the EIPC.
The policy that is necessary for inspection is given in the SPM TASK 70-20-00-200-501.
All parts must be cleaned before any part is examined. Refer to TASK 72-50-24-100-000 (CLEANING-000).
All parts must be visually examined for damage, corrosion and wear. Any defects that are not identified in the procedure must be referred to IAE.
The procedure for those parts which must have a crack test is given in Step. Do the crack test before the part is visually examined.
A ** following any repair referenced in this inspection indicates that the repair is not yet published in the current revision of this manual and the part must be rejected. Contact IAE for additional information concerning FAA approved data.
Do not discard any part until you are sure there are no repairs available. Refer to the instructions in Repair before a discarded part is used again or oversize parts are installed.
Parts which should be discarded can be held although no repair is available. The repair of a discarded part could be shown to be necessary at a later date.
All parts must be examined to make sure that all the repairs have been completed satisfactorily.
The practices and processes referred to in the procedure by the TASK numbers are in the SPM.
References
Refer to the SPM for data on these items.
Definitions of Damage, SPM TASK 70-02-02-350-501
Record and Control of the Lives of Parts, SPM TASK 70-05-00-220-501
Inspection of Parts, SPM TASK 70-20-00-200-501
Some data on these items is contained in this TASK. For more data on these items refer to the SPM.
Method of testing for crack indications
Chemical processes
Surface protection
Preliminary Requirements
Pre-Conditions
NONESupport Equipment
NONEConsumables, Materials and Expendables
NONESpares
NONESafety Requirements
NONEProcedure
Clean the parts. Refer to CLEANING-000 TASK 72-50-24-100-000 .
SUBTASK 72-50-24-230-001 Examine the Stage 3 Air Seal Ring for Cracks
Repair, REPAIR-027 (VRS4133) TASK 72-50-24-300-027.
Other than in Step
Nicked, dented, pitted.
SUBTASK 72-50-24-220-001 Examine the Stage 3 Air Seal Ring for Surface Damage
Repair, REPAIR-061 (VRS4564) TASK 72-50-24-300-061 .
Other than in Step
Unbonded.
Repair, REPAIR-061 (VRS4564) TASK 72-50-24-300-061
Other than in Step
Damaged or bent cells.
SUBTASK 72-50-24-220-002 Examine the Honeycomb Seals of the Stage 3 Air Seal Ring for Damage
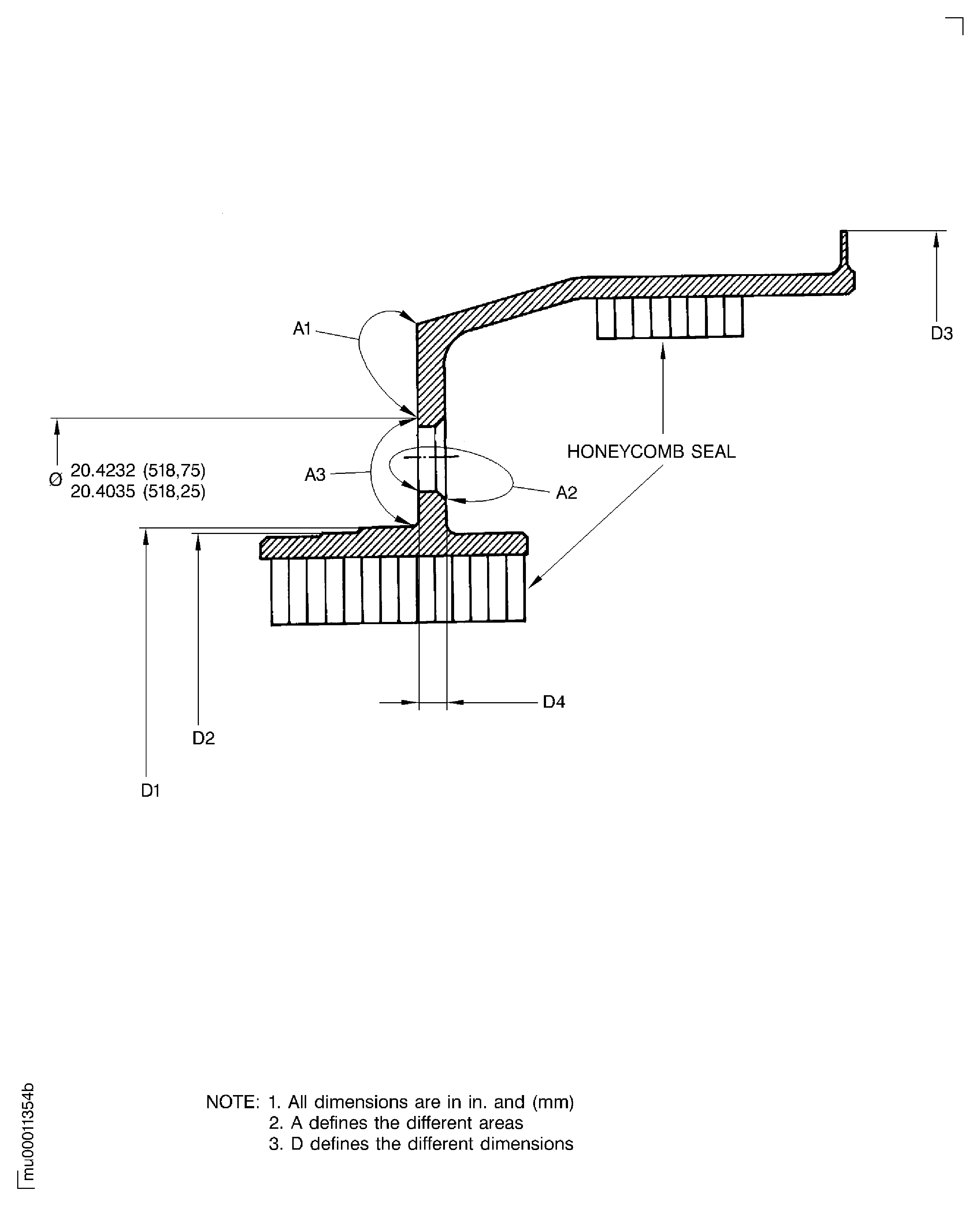
Refer to Figure.
Repair, REPAIR-029 (VRS4135) TASK 72-50-24-300-029
More than in Step
Fretted.
SUBTASK 72-50-24-220-003 Examine the Stage 3 Air Seal Ring in Area A1 for Wear
Refer to Figure.
Repair, REPAIR-027 (VRS4133) TASK 72-50-24-300-027.
Other than in Step
Fretted.
SUBTASK 72-50-24-220-004 Examine the Stage 3 Air Seal Ring at Area A2 for Wear
Refer to Figure.
Repair, REPAIR-027 (VRS4133) TASK 72-50-24-300-027.
Not less than 0.0827 in. (2.10 mm) minimum, with raised material
Worn, measure the dimension D4.
Reject
Less than in Step
SUBTASK 72-50-24-220-005 Examine the Stage 3 Air Seal Ring at Area A3 for Wear
Refer to Figure.
Repair, REPAIR-030 (VRS4136) TASK 72-50-24-300-030.
Shrunken or grown diameter must not be plasma spray repaired
Less than in Step
Worn, measure the Diameter D1.
Reject
Less than in Step
Shrunken, measure Diameter D1
SUBTASK 72-50-24-220-006 Examine the Stage 3 Air Seal Ring at Diameter D1 for Wear and Shrinkage
Refer to Figure.
Repair, REPAIR-030 (VRS4136) TASK 72-50-24-300-030.
Shrunken or grown diameter must not be plasma spray repaired
Less than in Step
Worn, measure the Diameter D2.
Reject
Less than in Step
Shrunken, measure Diameter D2
SUBTASK 72-50-24-220-007 Examine the Stage 3 Air Seal Ring at Diameter D2 for Wear and Shrinkage
Refer to Figure.
Repair, REPAIR-005 (VRS4053) TASK 72-50-24-300-005.
Less than in Step
Worn, measure the Diameter D3.
SUBTASK 72-50-24-220-008 Examine the Fin of the Stage 3 Air Seal Ring at Diameter D3 for Wear
Figure: Examine the Stage 3 Air Seal Ring
Examine the Stage 3 Air Seal Ring

