Export Control
EAR Export Classification: Not subject to the EAR per 15 C.F.R. Chapter 1, Part 734.3(b)(3), except for the following Service Bulletins which are currently published as EAR Export Classification 9E991: SBE70-0992, SBE72-0483, SBE72-0580, SBE72-0588, SBE72-0640, SBE73-0209, SBE80-0024 and SBE80-0025.Copyright
© IAE International Aero Engines AG (2001, 2014 - 2021) The information contained in this document is the property of © IAE International Aero Engines AG and may not be copied or used for any purpose other than that for which it is supplied without the express written authority of © IAE International Aero Engines AG. (This does not preclude use by engine and aircraft operators for normal instructional, maintenance or overhaul purposes.).Applicability
All
Common Information
TASK 72-50-25-200-002-A00 LPT Outer Diffuser Segment - Examine, Inspection-002
General
This TASK gives the procedure for the inspection of the outer diffuser segment. For the other LP diffuser parts, refer to TASK 72-50-25-200-000 (72-50-25, INSPECTION/CHECK
Fig/item numbers in parentheses in the procedure agree with those used in the IPC.
The policy that is necessary for inspection is given in the SPM TASK 70-20-00-200-501.
All the parts must be cleaned before any part is examined. Refer to TASK 72-50-25-100-000 (CLEANING-000).
All parts must be visually examined for damage, corrosion and wear. Any defects that are not identified in the procedure must be referred to IAE.
The procedure for those parts which must have a crack test is given in Step. Do the test before the part is visually examined.
A ** following any repair referenced in this inspection indicates that the repair is not yet published in the current revision of the manual and the part must be rejected. Contact IAE for additional information concerning FAA approved repair data.
Do not discard any part until you are sure there are no repairs available. Refer to the instructions in Repair before a discarded part is used again or oversize parts are installed.
Parts which should be discarded can be held although no repair is available. The repair of a discarded part could be shown to be necessary at a later date.
All parts must be examined to make sure that all the repairs have been completed satisfactorily.
The practices and processes referred to in the procedure by the TASK numbers are in the SPM.
References
Refer to the SPM for data on these items.
Definitions of Damage, SPM TASK 70-02-02-350-501
Record and Control of the Lives of Parts, SPM TASK 70-05-00-220-501
Inspection of Parts, SPM TASK 70-20-00-200-501
Some data on these items is contained in this TASK. For more data on these items refer to the SPM.
Method of Testing for Crack Indications
Chemical Processes
Surface Protection
Preliminary Requirements
Pre-Conditions
NONESupport Equipment
NONEConsumables, Materials and Expendables
NONESpares
NONESafety Requirements
NONEProcedure
Repair, VRS4146 TASK 72-50-25-300-009 (REPAIR-009)
More than in (a)
Nicked or dented.
Examine the surface for damage.
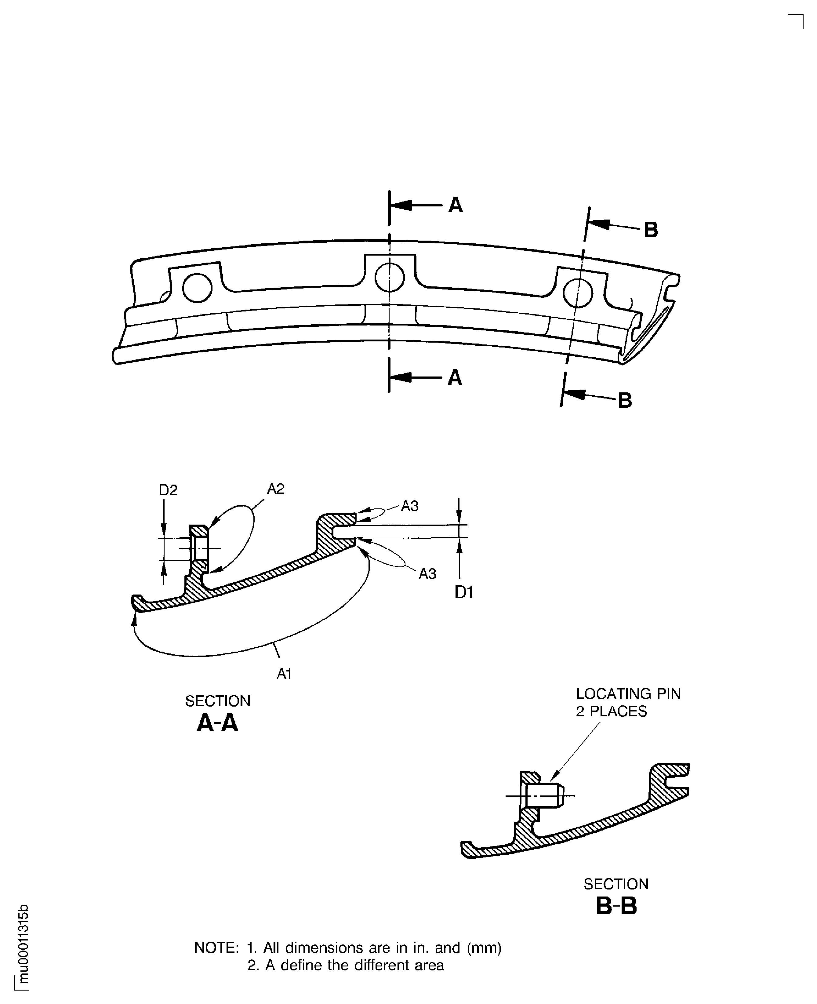
SUBTASK 72-50-25-220-062 Examine the Outer Diffuser Segment for Surface Damage
Refer to Figure.
Repair, VRS4147 TASK 72-50-25-300-010 (REPAIR-010)
Blistered, damaged or chipped coating up to a total of 1.00 sqin. (645.12 sqmm)
Repair, VRS4150 TASK 72-50-25-300-013 (REPAIR-013) or Repair, VRS4151 TASK 72-50-25-300-014 (REPAIR-014)
More than in (a)
Coating loss or damage.
Repair, VRS4146 TASK 72-50-25-300-009 (REPAIR-009)
Corroded or sulphidated coating
Repair, VRS4146 TASK 72-50-25-300-009 (REPAIR-009)
Burned coating
Examine the coating in area A1.
SUBTASK 72-50-25-220-063 Examine the Outer Diffuser Segment for Coating Damage
Refer to Figure.
SUBTASK 72-50-25-220-064 Examine the Outer Diffuser Segment at Rear Location Hook
Refer to Figure.
SUBTASK 72-50-25-220-065 Examine the Outer Diffuser Segment in Area A2
Repair, VRS4152 TASK 72-50-25-300-015 (REPAIR-015)
More than in (a)
Fretted.
Examine the locating pins for wear.
SUBTASK 72-50-25-220-066 Examine the Locating Pins of the Outer Diffuser Segment
Refer to Figure.
SUBTASK 72-50-25-220-067 Examine the Bolt Hole of the Outer Diffuser Segment
Refer to Figure.
Repair, VRS4146 TASK 72-50-25-300-009 (REPAIR-009)
Not more than 0.012 in. (0.30 mm) maximum depth, with raised material
Nicked, dented, pitted.
Examine area A4 for surface damage.
SUBTASK 72-50-25-220-111 Examine the Side Faces of the Outer Diffuser Segment
Figure: Examine the Outer Diffuser Segment
Examine the Outer Diffuser Segment

Figure: Examine the Outer Diffuser Segment
Examine the Outer Diffuser Segment

