Export Control
EAR Export Classification: Not subject to the EAR per 15 C.F.R. Chapter 1, Part 734.3(b)(3), except for the following Service Bulletins which are currently published as EAR Export Classification 9E991: SBE70-0992, SBE72-0483, SBE72-0580, SBE72-0588, SBE72-0640, SBE73-0209, SBE80-0024 and SBE80-0025.Copyright
© IAE International Aero Engines AG (2001, 2014 - 2021) The information contained in this document is the property of © IAE International Aero Engines AG and may not be copied or used for any purpose other than that for which it is supplied without the express written authority of © IAE International Aero Engines AG. (This does not preclude use by engine and aircraft operators for normal instructional, maintenance or overhaul purposes.).Applicability
All
Common Information
TASK 72-50-32-200-003-C00 LPT Stage 5 Blade - Examine, Inspection-003
General
This TASK gives the procedure for the inspection of the stage 5 turbine blades.
Fig/item numbers in parentheses in the procedure agree with those used in the IPC.
If there are signs of overheating, refer to TASK 72-50-32-200-008-B00 (INSPECTION/CHECK-008, CONFIG-002) before you do this inspection.
A ** following any repair referenced in this inspection indicates that the repair is not yet published in the current revision of the manual and the part must be rejected. Contact IAE for additional information concerning FAA approved repair data.
The policy that is necessary for inspection is given in the SPP TASK 70-20-00-200-501.
All the parts must be cleaned before any part is examined. Refer to the TASK 72-50-32-100-000 (CLEANING-000).
All parts must be visually examined for damage, corrosion and wear. Any defects that are not identified in the procedure must be referred to IAE.
The procedure for those parts which must have a crack test is given in Step. Do the crack test before the part is visually examined
Do not discard any part until you are sure there are no repairs available. Refer to the instructions in Repair before a discarded part is used again or oversize parts are installed
Parts which should be discarded can be held although no repair is available. The repair of a discarded part could be shown to be necessary at a later date.
All parts must be examined to make sure that all the repairs have been completed satisfactorily.
The practices and processes referred to in the procedure by the TASK numbers are in the SPP.
References
Refer to the SPP for data on these items.
Definitions of Damage, SPP TASK 70-02-02-350-501
Record and Control of the Lives of Parts, SPP TASK 70-05-00-220-501
Inspection of Parts, SPP TASK 70-20-00-200-501
Some data on these items is contained in this TASK. For more data on these items refer to the SPP.
Method of Testing for Crack Indications
Chemical Processes
Surface Protection
NOTE
Preliminary Requirements
Pre-Conditions
NONESupport Equipment
| Name | Manufacturer | Part Number / Identification | Quantity | Remark |
|---|---|---|---|---|
| IAE 2M14190 Inspection gage | 0AM53 | IAE 2M14190 | 1 | |
| IAE 2M14194 Inspection mounting block | 0AM53 | IAE 2M14194 | 1 |
Consumables, Materials and Expendables
NONESpares
NONESafety Requirements
NONEProcedure
Clean the parts. Refer to TASK 72-50-32-100-000 (CLEANING-000).
Repair, VRS4193 TASK 72-50-32-300-015 (REPAIR-015)
Cracked in the shroud notches
Repair, VRS4192 TASK 72-50-32-300-014 (REPAIR-014)
Not more than 0.040 in. (1.00 mm) maximum depth
Repair, VRS4440 TASK 72-50-32-300-060 (REPAIR-060)
More than in Step
Cracked in the knife edge seals.
Do the test for cracks on the parts that are given below. Use the applicable penetrant procedure.
PART IDENT TASK/SUBTASK
Stage 5 turbine blades
SUBTASK 72-50-32-230-119 Examine the Stage 5 Turbine Blade for Cracks
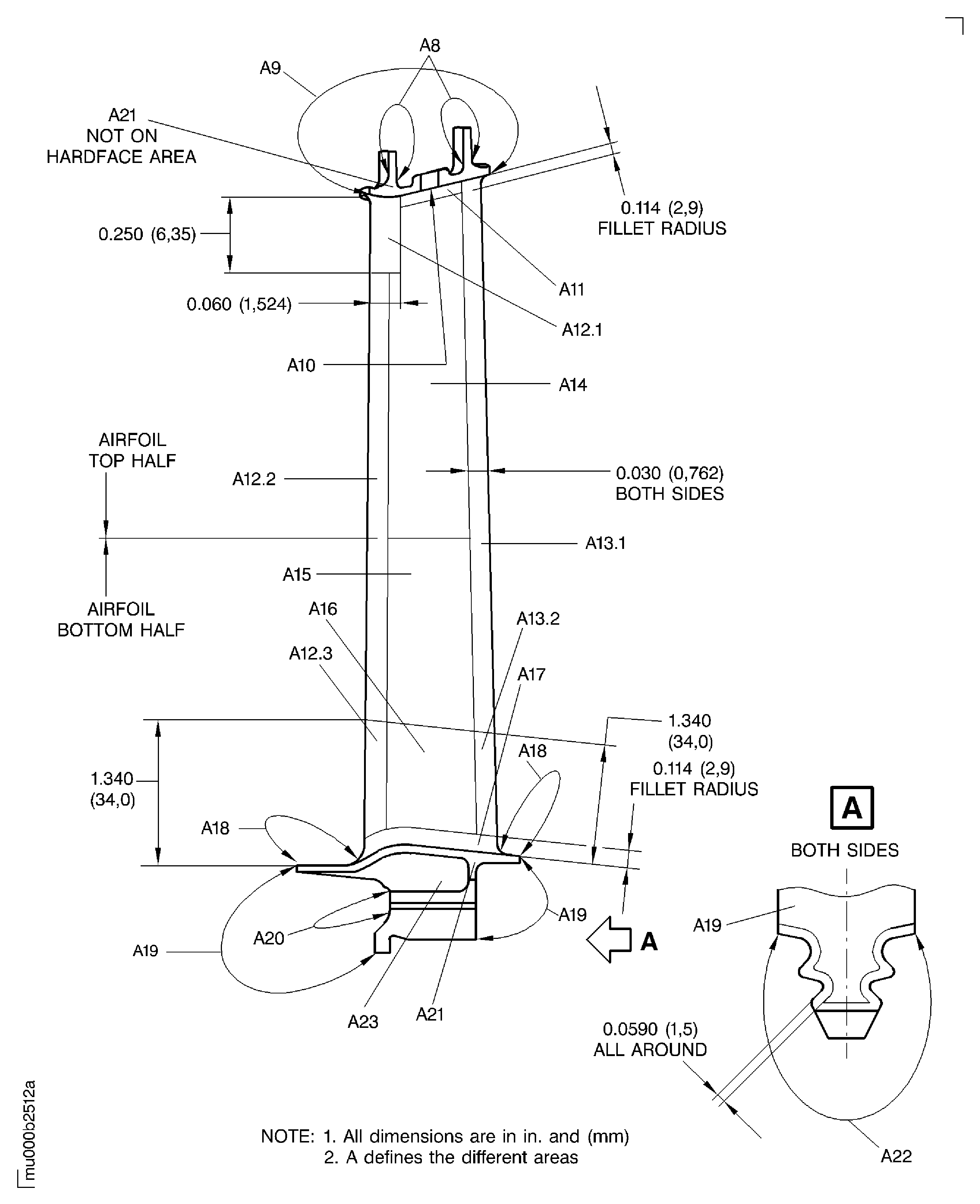
Refer to Figure.
NOTE
This examination includes surface defects which are permitted per production standard. Surface defects are not caused by hit of some objects or service operation.Fluorescent penetrant examine or visually examine areas A1 to A7 for surface defects. Refer to the SPP TASK 70-23-08-230-501 or SPP TASK 70-21-01-220-501.Surface defects larger than 0.015 in. (0.38 mm) diameter must have a bottom which can be seen.Surface defects not larger than 0.015 in. (0.38 mm) can be non bottomed.A cluster is a defect of four or more surface defects, clearly apart, which can be contained within a 0.200 in. (5.08 mm) diameter circle. In the cluster all surface defects must be 0.015 in. (0.38 mm) or less.If not differently specified, surface defects of 0.015 in. (0.38 mm) or less must be ignored if they are not found in linear alignment or clusters, or in areas where 0.015 in. (0.38 mm) is the maximum permitted size.In areas where 0.015 in. (0.38 mm) is the maximum permitted size, surface defects 0.010 in. (0.25 mm) or less, not in linear alignment or clusters must be ignored.More than in Step
Examine the surface in area A3.
More than in Step
Examine the surface in area A5.
SUBTASK 72-50-32-220-227 Examine the Stage 5 Turbine Blades for Surface Defects
Refer to Figure.
Repair, VRS4192 TASK 72-50-32-300-014 (REPAIR-014)
Not more than 0.010 in. (0.25 mm) maximum depth
Repair, VRS4440 TASK 72-50-32-300-060 (REPAIR-060)
More than in Step
Dented.
Repair, VRS4192 TASK 72-50-32-300-014 (REPAIR-014)
Not more than 0.005 in. (0.13 mm) maximum depth
Repair, VRS4440 TASK 72-50-32-300-060 (REPAIR-060)
More than in Step
Nicked or pitted.
Examine the knife edge seals in area A8.
SUBTASK 72-50-32-220-228 Examine the Stage 5 Turbine Blade in Area A8 for Surface Damage
Refer to Figure.
Repair, VRS4191 TASK 72-50-32-300-013 (REPAIR-013)
Nicked, dented or pitted
Examine the surface in area A9.
Repair, VRS4191 TASK 72-50-32-300-013 (REPAIR-013)
Nicked, dented, pitted.
Examine the surface in area A10.
Repair, VRS4191 TASK 72-50-32-300-013 (REPAIR-013)
Nicked, dented, pitted.
Examine the surface in area A11.
Repair, VRS4191 TASK 72-50-32-300-013 (REPAIR-013)
Examine the surface in area A12.
Repair, VRS4191 TASK 72-50-32-300-013 (REPAIR-013)
Examine the surface in area A13.
Repair, VRS4191 TASK 72-50-32-300-013 (REPAIR-013)
Nicked, dented, pitted.
Examine the surface in area A14.
Repair, VRS4191 TASK 72-50-32-300-013 (REPAIR-013)
Nicked, dented, pitted.
Examine the surface in area A15.
Repair, VRS4191 TASK 72-50-32-300-013 (REPAIR-013)
More than in Step
Nicked, dented, pitted.
Examine the surface in area A16.
More than in Step
Nicked, dented, pitted.
Examine the surface in area A17.
More than in Step
Nicked, dented, pitted.
Examine the surface in area A19.
More than in Step
Grooved because of airseal contact.
Examine the surface in area A20.
More than in Step
Chipped, nicked, dented or pitted
Examine the surface in area A22.
More than in Step
Pitted.
Examine the surface in area A23.
SUBTASK 72-50-32-220-229 Examine the Stage 5 Turbine Blade in Area A9 - A23 for Surface Damage
Refer to Figure.
NOTE
Sulphidation pits have a dark bottom after dry grit abrasive blast per the SPP TASK 70-12-09-120-501.Other than in Step
Sulphidation pits or pustules.
Examine the surface in area A24.
Repair, VRS4191 TASK 72-50-32-300-013 (REPAIR-013)
Sulphidation pits or pustules
Examine the surface in area A25.
Other than in Step
Sulphidation pits or pustules.
Examine the surface in area A26.
Other than in Step
Sulphidation pits or pustules.
Examine the surface in area A27.
SUBTASK 72-50-32-220-411 Examine the Stage 5 Turbine Blade in Area A24 - A27 for Sulphidation
Install the stage 5 turbine blade with the convex side down on to IAE IAE 2M14190 Inspection gage 1 off. Make sure that the stage 5 turbine blade is correctly installed on the inspection gage.
Repair, VRS4286 TASK 72-50-32-300-036 (REPAIR-036)
Less than in Step and not less than 0.929 in. (23.60 mm)
Less than in Step
Find the actual result of the outer shroud dimension D1 as follows:
SUBTASK 72-50-32-220-230 Examine the Outer Shroud Dimension D1 of the Turbine Blade
Install the stage 5 turbine blade on to the IAE 2M14194 Inspection mounting block 1 off as follows:
Repair, VRS4304 TASK 72-50-32-300-037 (REPAIR-037)
Other than in Step
Measure the deviation between point P1 and point P2 on the front blade shroud face as follows:
SUBTASK 72-50-32-220-231 Examine the Twist of the Turbine Blade
Repair, VRS4440 TASK 72-50-32-300-060 (REPAIR-060)
Less than in Step
Measure the dimension D3 between the front knife edge seal and the plane A on the inspection mounting block.
Repair, VRS4440 TASK 72-50-32-300-060 (REPAIR-060)
Less than in Step
Measure the dimension D4 between the rear knife edge seal and the plane A on inspection mounting block.
SUBTASK 72-50-32-220-232 Examine the Knife Edge Seal of the Turbine Blade
Figure: Examine the Stage 5 Turbine Blades
Examine the Stage 5 Turbine Blades

Figure: Examine the Stage 5 Turbine Blades
Examine the Stage 5 Turbine Blades

Figure: Examine the Stage 5 Turbine Blades
Examine the Stage 5 Turbine Blades

Figure: Examine the Stage 5 Turbine Blades
Examine the Stage 5 Turbine Blades

Figure: Install the Stage 5 Turbine Blades on to the Inspection Mounting Block
Install the Stage 5 Turbine Blades on to the Inspection Mounting Block

Figure: Install the Stage 5 Turbine Blades on to the Inspection Mounting Block
Install the Stage 5 Turbine Blades on to the Inspection Mounting Block

Figure: Install the Stage 5 Turbine Blades on to the Inspection Gage
Install the Stage 5 Turbine Blades on to the Inspection Gage

Figure: Install the Stage 5 Turbine Blades on to the Inspection Gage
Install the Stage 5 Turbine Blades on to the Inspection Gage

