Export Control
EAR Export Classification: Not subject to the EAR per 15 C.F.R. Chapter 1, Part 734.3(b)(3), except for the following Service Bulletins which are currently published as EAR Export Classification 9E991: SBE70-0992, SBE72-0483, SBE72-0580, SBE72-0588, SBE72-0640, SBE73-0209, SBE80-0024 and SBE80-0025.Copyright
© IAE International Aero Engines AG (2001, 2014 - 2021) The information contained in this document is the property of © IAE International Aero Engines AG and may not be copied or used for any purpose other than that for which it is supplied without the express written authority of © IAE International Aero Engines AG. (This does not preclude use by engine and aircraft operators for normal instructional, maintenance or overhaul purposes.).Applicability
All
Common Information
TASK 72-50-53-300-048 Turbine Exhaust Case (TEC) - Replace The Strut, Repair-048 (VRS3064)
Effectivity
FIG/ITEM | PART NO. |
|---|---|
21-300 | 2A1209-01 |
21-300 | 2A2620-01 |
21-300 | 2A3111-01 |
21-300 | 2A3183-01 |
21-300 | 2A3455-01 |
Material of component
PART IDENT | SYMBOL | MATERIAL |
|---|---|---|
Turbine exhaust case | - | Corrosion and heat resistant steel |
General
Price and availability - none
Before strut removal, secure the dimensional relationship between the inner and outer stand-up reference features. This will prevent movement of the parts.
As necessary, remove any adjacent hardware, which will interfere with or be affected by the strut replacement such as tubing, mount rail bushings or nut plate details.
The practices and processes referred to in the procedure by the TASK numbers are in the SPM.
NOTE
Preliminary Requirements
Pre-Conditions
NONESupport Equipment
| Name | Manufacturer | Part Number / Identification | Quantity | Remark |
|---|---|---|---|---|
| Scriber | LOCAL | Scriber | 1 | |
| Hand-held cut-off wheel | LOCAL | Hand-held cut-off wheel | 1 | (or other suitable grinder) |
| Aluminum oxide rag wheel | LOCAL | Aluminum oxide rag wheel | 1 | |
| Stainless steel wire brush | LOCAL | Stainless steel wire brush | 1 |
Consumables, Materials and Expendables
| Name | Manufacturer | Part Number / Identification | Quantity | Remark |
|---|---|---|---|---|
| CoMat 03-378 WELDING WIRE | LOCAL | CoMat 03-378 | 1 | |
| CoMat 06-064 FLUORESCENT PENETRANT (WATER WASHABLE MEDIUM SENSITIVITY) | LOCAL | CoMat 06-064 | 1 |
Spares
| Name | Manufacturer | Part Number / Identification | Quantity | Remark |
|---|---|---|---|---|
| Strut | 2A3508-01 | A/R | ||
| Strut | 2A3509-01 | A/R | ||
| Strut | 2A3510-01 | A/R |
Safety Requirements
NONEProcedure
Refer to: Figure
Refer to Figure.
NOTE
Make sure the line is scribed on the strut to be replaced, not on the strut stand-up.
Scribe the cut short cut line adjacent to the strut attachment welds on both concave and convex sides of damaged strut at the strut leading edge and trailing edge.
Put the exhaust case (21-300) on a bench. Scribe the damaged strut as follows:
SUBTASK 72-50-53-350-182 Scribe the Damaged Strut
Refer to Figure.
Machine the unwanted material at strut cut planes to the initial lug dimensions.
SUBTASK 72-50-53-320-141 Machine the Unwanted Material
Refer to the SPM TASK 70-11-26-300-503.
Clean the areas to be welded.
SUBTASK 72-50-53-110-146 Clean Areas to be Welded
Refer to the SPM TASK 70-31-02-310-501-001.
Refer to Figure.
NOTE
These welds must be blended and be continuous.
Weld the replacement strut to the stand-ups.
Use the manual gas tungsten arc (TIG) method to weld the replacement strut to the stand-ups as follows:
SUBTASK 72-50-53-350-184 Weld the Replacement Strut
Refer to the SPM TASK 70-37-13-370-501.
Use cycle 6A.
NOTE
Furnace stress relieve permitted but subsequent full fluorescent penetrant inspection is necessary.
Do a local stress relief to the welded areas.
SUBTASK 72-50-53-370-091 Do a Local Stress Relief
Refer to the SPM TASK 70-23-05-230-501.
No cracks are permitted.
NOTE
Fluorescent penetrant inspection of the entire case is necessary if full stress relieve was used.
Do a fluorescent penetrant inspection of the repaired areas.
SUBTASK 72-50-53-230-123 Do a Fluorescent Penetrant Inspection
Refer to the SPM TASK 70-11-01-300-503.
Clean the part.
SUBTASK 72-50-53-110-147 Clean the Part
Refer to the SPM TASK 70-09-00-400-501.
Use vibration peening or engraving method.
Remove metal lifted by the marking.
Mark VRS3064 adjacent to the part number.
SUBTASK 72-50-53-350-191 Identify the Repair
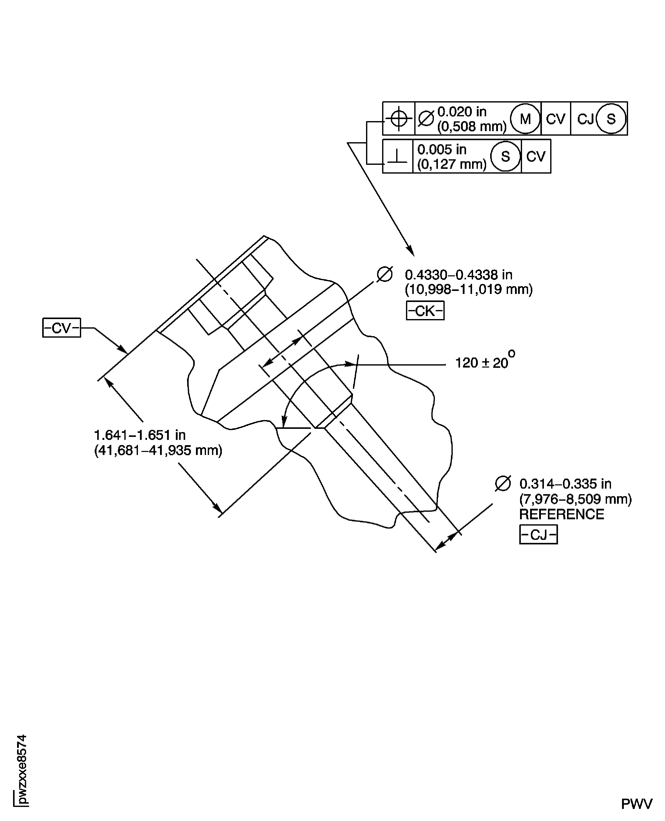
Figure: Repair struts on the turbine exhaust case
Sheet 1

Figure: Repair struts on the turbine exhaust case
Sheet 2

Figure: Repair struts on the turbine exhaust case
Sheet 3

Figure: Repair struts on the turbine exhaust case
Sheet 4

Figure: Repair struts on the turbine exhaust case
Sheet 5

Figure: Repair struts on the turbine exhaust case
Sheet 6

Figure: Repair struts on the turbine exhaust case
Sheet 7

