Export Control
EAR Export Classification: Not subject to the EAR per 15 C.F.R. Chapter 1, Part 734.3(b)(3), except for the following Service Bulletins which are currently published as EAR Export Classification 9E991: SBE70-0992, SBE72-0483, SBE72-0580, SBE72-0588, SBE72-0640, SBE73-0209, SBE80-0024 and SBE80-0025.Copyright
© IAE International Aero Engines AG (2001, 2014 - 2021) The information contained in this document is the property of © IAE International Aero Engines AG and may not be copied or used for any purpose other than that for which it is supplied without the express written authority of © IAE International Aero Engines AG. (This does not preclude use by engine and aircraft operators for normal instructional, maintenance or overhaul purposes.).Applicability
All
Common Information
TASK 75-23-48-200-101 TCA Bleed Valve Solenoid Air Tube - Examine, Inspection-001
General
This TASK gives the procedure to clean the PS3 cooling air tube. For the other turbine cooling controlled air tube parts, refer to Inspection-000TASK 75-23-48-200-100 and Inspection-000 in the Component Maintenance Manual (CMM-MECH-V2500-1IA)
Fig./item numbers in parentheses in the procedure agree with those used in the IPC. Only the primary Fig./item numbers are used. For the service bulletin alpha variants refer to the IPC.
The policy that is necessary for inspection is given in SPM TASK 70-20-01-200-501.
All the parts must be cleaned before any part is examined. Refer to Cleaning-000 TASK 75-23-48-100-100.
All parts must be visually examined for damage, corrosion and wear. Any defects that are not identified in the procedure must be referred to IAE.
The procedure for those parts which must have a crack test is given in relevant SUBTASK. Do the crack test before the part is visually examined.
Do not discard any part until you are sure there are no repairs available. Refer to the instructions in Repair before a discarded part is used again or oversize parts are installed.
Parts which must be discarded can be held although no repair is available. The repair of a discarded part could be shown to be necessary at a later date.
All parts must be examined to make sure that all the repairs have been completed satisfactorily.
The practices and processes referred to in the procedure by the TASK/SUBTASK number are in the SPM.
NOTE
References
Refer to the SPM for data on these items.
Definitions of Damage - Specified Types of Damage,TASK 70-02-02-350-501.
Inspection Policy and Inspection of Parts, SPM TASK 70-20-01-200-501.
Some data on these items is contained in this TASK. For more data on these items refer to the SPM.
Method of testing for crack indications
Chemical processes
Surface protection
Preliminary Requirements
Pre-Conditions
NONESupport Equipment
NONEConsumables, Materials and Expendables
NONESpares
NONESafety Requirements
NONEProcedure
Clean the part. Refer to Cleaning-000 TASK 75-23-48-100-100.
Repair, VRS7001 (Repair-001) SPM TASK 70-35-24-300-501.
Cracked
Air tube assembly (01-100). Refer to SPM TASK 70-23-02-230-501.
Do the test for cracks on the parts that are given below. Use the applicable penetrant procedure.
SUBTASK 75-23-48-230-052 Examine the Air Tube Assembly for Cracks
Refer to Figure.
Repair, VRS1655 (Repair-004) TASK 75-23-48-300-004.
Pitted
Repair, VRS7001 (Repair-001) SPM TASK 70-35-24-300-501
In area of bend, or within 0.500 in. (12.70 mm) of bend or fitting.
Accept
In areas other than Step: Of large smooth area if the maximum diameter is ten times the depth and bore is not decreased by more than ten per cent at any one point.
Accept
In areas other than Step: Of small smooth area, that is up to 0.124 sq in (80.0 sq mm) if depth is not more than 0.025 in. (0.64 mm).
Repair, VRS7001 (Repair-001) SPM TASK 70-35-24-300-501
Dented
Repair, VRS7001 (Repair-001) SPM TASK 70-35-24-300-501
On the outer surface of a bend
Repair, VRS1655 (Repair-004) TASK 75-23-48-300-004.
In areas other than Step: Any nicks.
Nicked
Repair, VRS7001 (Repair-001) SPM TASK 70-35-24-300-501
On the outer surface of a bend.
Repair, VRS1655 (Repair-004) TASK 75-23-48-300-004.
In areas other than Step: Any galls.
Galled
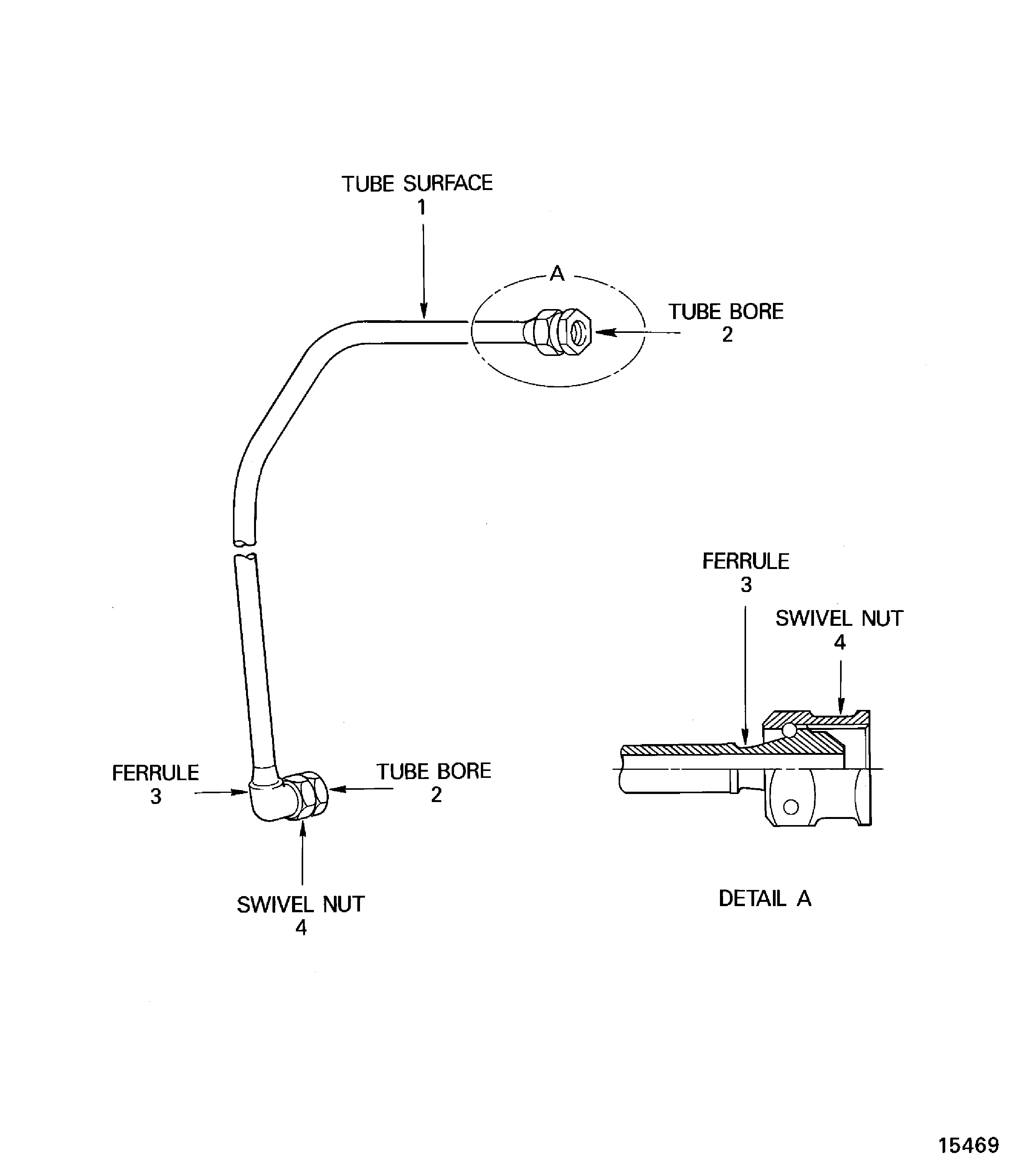
Examine the tube surface at location 1.
SUBTASK 75-23-48-220-055 Examine the Air Tube Assembly Tube Surface
Refer to Figure.
Clean with dry air blast.
Plugged
Examine the tube bore at location 2.
SUBTASK 75-23-48-220-056 Examine the Air Tube Assembly Tube Bore
Refer to Figure.
Repair, VRS1655 (Repair-004) TASK 75-23-48-300-004.
Galled
Sealing face
Examine the ferrule at location 3.
SUBTASK 75-23-48-220-057 Examine the Air Tube Assembly Ferrule
Refer to Figure.
Repair, VRS1655 (Repair-004) TASK 75-23-48-300-004.
Pick-up
Repair, VRS7001 (Repair-001) SPM TASK 70-35-24-300-501
Crossed
Repair, VRS7001 (Repair-001) SPM TASK 70-35-24-300-501
Stripped
Threads
Examine the swivel nut at location 4.
SUBTASK 75-23-48-220-058 Examine the Air Tube Assembly Swivel Nut
Figure: Locations On The Bleed Valve Solenoid Air Tube Assembly
Locations On The Bleed Valve Solenoid Air Tube Assembly

