Export Control
EAR Export Classification: Not subject to the EAR per 15 C.F.R. Chapter 1, Part 734.3(b)(3), except for the following Service Bulletins which are currently published as EAR Export Classification 9E991: SBE70-0992, SBE72-0483, SBE72-0580, SBE72-0588, SBE72-0640, SBE73-0209, SBE80-0024 and SBE80-0025.Copyright
© IAE International Aero Engines AG (2001, 2014 - 2021) The information contained in this document is the property of © IAE International Aero Engines AG and may not be copied or used for any purpose other than that for which it is supplied without the express written authority of © IAE International Aero Engines AG. (This does not preclude use by engine and aircraft operators for normal instructional, maintenance or overhaul purposes.).Applicability
All
Common Information
TASK 75-24-48-300-003 HPT ACC Air Manifold - Blend Repair Surface Damage, Repair-003 (VRS1553)
Material of component
DESCRIPTION | RR SYMBOL | MATERIAL |
Turbine cooling manifold assembly | Fe-18Cr-10Ni | |
Turbine cooling manifold assembly (part) | 47.5Ni-22Cr-1.5Co-9.0 Mo-0.6W-18.5Fe |
General
Price and availability - none.
The practices and processes referred to in the procedure by the TASK numbers are in the SPM.
For the method to clean the parts, refer to Cleaning-000 TASK 75-24-48-100-100.
NOTE
Preliminary Requirements
Pre-Conditions
NONESupport Equipment
| Name | Manufacturer | Part Number / Identification | Quantity | Remark |
|---|---|---|---|---|
| Grinder, Hand held pneumatic | LOCAL | Grinder, Hand held pneumatic | ||
| Magnifying glass | LOCAL | Magnifying glass | 8x |
Consumables, Materials and Expendables
| Name | Manufacturer | Part Number / Identification | Quantity | Remark |
|---|---|---|---|---|
| CoMat 05-020 WATERPROOF SILICON CARBIDE | LOCAL | CoMat 05-020 | ||
| CoMat 05-021 WATERPROOF SILICON CARBIDE | 44197 | CoMat 05-021 |
Spares
NONESafety Requirements
NONEProcedure
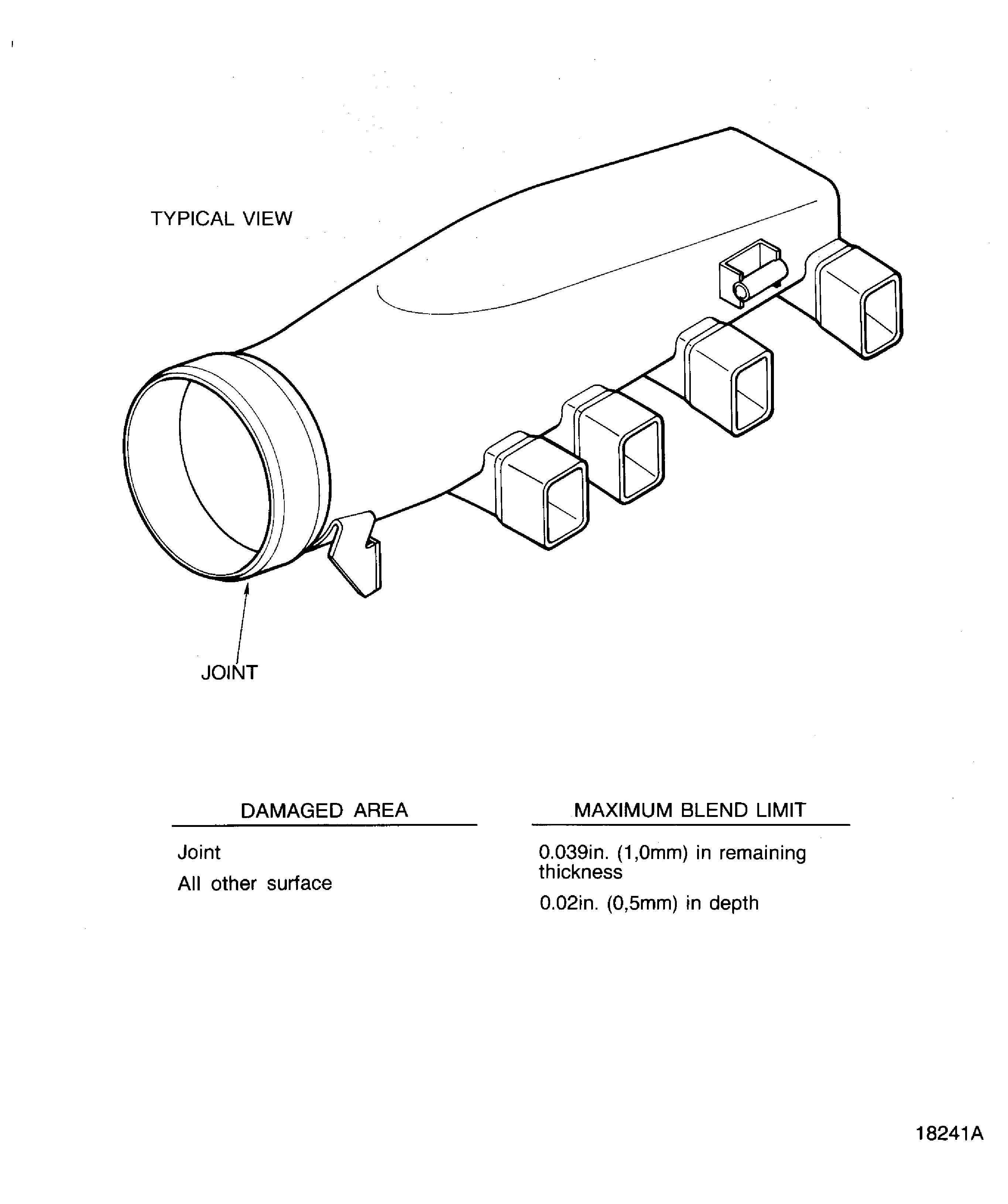
Refer to Figure.
If the blended area exceeds the blend limit given in Figure, repair the turbine cooling manifold assembly.
Refer to Inspection-000 TASK 75-24-48-200-100, VRS1529 (Repair 010) TASK 75-24-48-300-001, VRS1530 (Repair-008) TASK 75-24-48-300-008, VRS1532 (Repair-001) TASK 75-24-48-300-001, VRS1535 (Repair-005) TASK 75-24-48-300-005 and/or VRS1536 (Repair-006) TASK 75-24-48-300-006.
Examine the repaired area of the turbine cooling manifold assembly.
Refer to Inspection-000 TASK 75-24-48-200-100.
Use 8x Magnifying glass.
Visually examine the turbine cooling manifold assembly.
SUBTASK 75-24-48-220-066 Examine the Turbine Cooling Manifold Assembly (02-500)
Figure: Inspection of the Turbine Cooling Manifold Assembly
Inspection of the Turbine Cooling Manifold Assembly

