Export Control
EAR Export Classification: Not subject to the EAR per 15 C.F.R. Chapter 1, Part 734.3(b)(3), except for the following Service Bulletins which are currently published as EAR Export Classification 9E991: SBE70-0992, SBE72-0483, SBE72-0580, SBE72-0588, SBE72-0640, SBE73-0209, SBE80-0024 and SBE80-0025.Copyright
© IAE International Aero Engines AG (2001, 2014 - 2021) The information contained in this document is the property of © IAE International Aero Engines AG and may not be copied or used for any purpose other than that for which it is supplied without the express written authority of © IAE International Aero Engines AG. (This does not preclude use by engine and aircraft operators for normal instructional, maintenance or overhaul purposes.).Applicability
All
Common Information
TASK 72-50-23-200-002-D00 LPT Stage 5 Outer Shroud Seal Segment - Examine The Stage 5 Shroud Seal Segment
General
This TASK gives the procedure for the inspection of the stage 5 shroud seal segment.
Fig/item numbers in parentheses in the procedure agree with those used in the EIPC.
A ** following any repair referenced in this inspection indicates that the repair is not yet published in the current revision of this manual and the part must be rejected. Contact IAE for additional information concerning FAA approved repair data.
The policy that is necessary for inspection is given in the SPM TASK 70-20-00-200-501.
All parts must be cleaned before any part is examined. Refer to the CLEANING-000 TASK 72-50-23-100-000.
All parts must be visually examined for damage, corrosion and wear. Any defects that are not identified in the procedure must be referred to IAE.
The procedure for those parts which must have a crack test is given in Step. Do the crack test before the part is visually examined.
Do not discard any part until you are sure there are no repairs available. Refer to the instructions in repair before a discarded part is used again or oversize parts are installed.
Parts which should be discarded can be held although no repair is available. The repair of a discarded part could be shown to be necessary at a later date.
All parts must be examined to make sure that all the repairs have been completed satisfactorily.
The practices and processes referred to in the procedure by the TASK numbers are in the SPM.
References
Refer to the SPM for data on these items.
Definitions of Damage, SPM TASK 70-02-02-350-501.
Record and Control of the Lives of Parts, SPM TASK 70-05-00-220-501.
Inspection of Parts, SPM TASK 70-20-00-200-501.
Some data on these items is contained in this TASK. For more data on these items refer to the SPM.
Method of testing for crack indications
Chemical processes
Surface protection
Preliminary Requirements
Pre-Conditions
NONESupport Equipment
NONEConsumables, Materials and Expendables
NONESpares
NONESafety Requirements
NONEProcedure
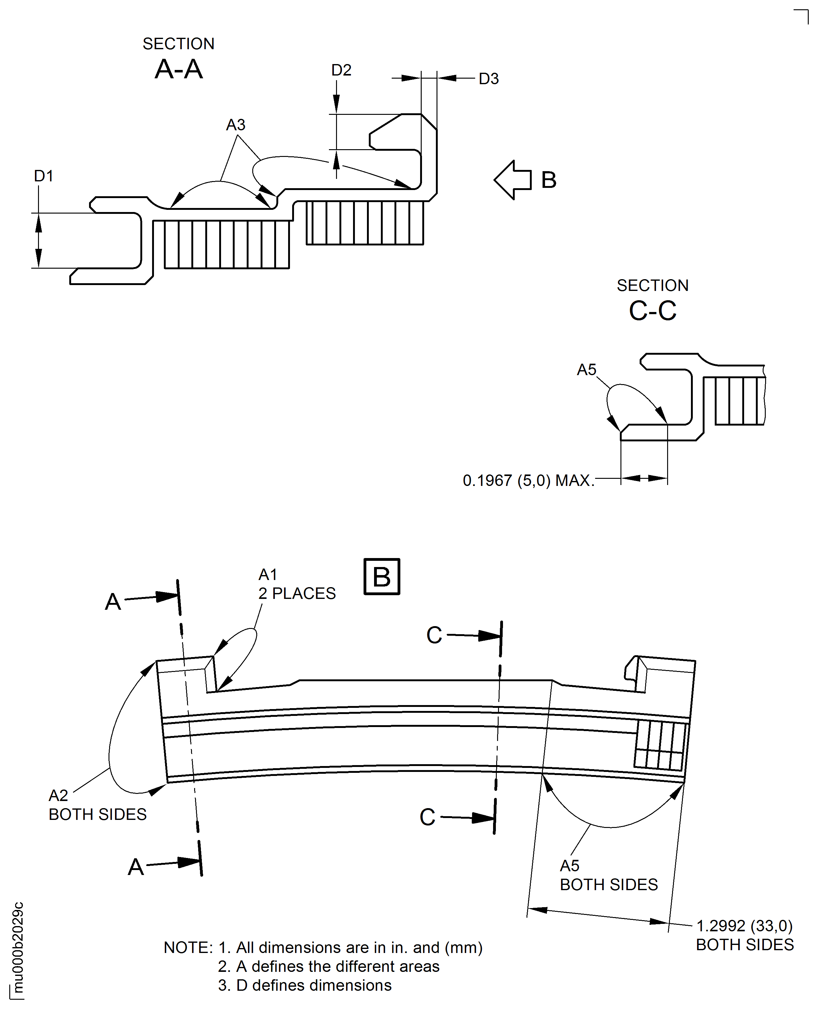
Refer to Figure.
Clean the parts. Refer to CLEANING-000 TASK 72-50-23-100-000.
Refer to Repair-080, VRS4639 TASK 72-50-23-300-080.
Cracked in Area A3 more than in Step and not more than 0.600 in. (15.24 mm)
Reject
More than in Step
Do the test for cracks on the parts that are given below. Use the applicable penetrant procedure.
PART IDENT
TASK/SUBTASK
Stage 5 shroud seal segment
SUBTASK 72-50-23-230-023Examine the Stage 5 Shroud Seal Segment for Cracks
Refer to Repair-034, VRS4275 TASK 72-50-23-300-034.
Other than in Step
Nicked and dented
SUBTASK 72-50-23-220-001 Examine the Stage 5 Shroud Seal Segment for Surface Damage
Refer to Repair-070, VRS4572, TASK 72-50-23-300-070.
More than in Step
Unbonded
Refer to Repair-070, VRS4572, TASK 72-50-23-300-070.
More than in Step
Damaged or bent cells
Refer to Repair-070, VRS4572, TASK 72-50-23-300-070.
More than in Step
Rub damaged
SUBTASK 72-50-23-220-002 Examine the Honeycombs of the Stage 5 Shroud Seal Segment for Damage
Refer to Figure.
Refer to Repair-011, VRS4085 TASK 72-50-23-300-011.
More than in Step
Fretted
Examine the surface in Area A1
Reject
More than in Step
Fretted
Examine the surface in Area A2
Refer to Repair, VRS4493 (TASK 72-50-23-300-XXX)**
More than in Step
Fretted
Examine the surface in Area A5
Refer to Repair, VRS4493 (TASK 72-50-23-300-XXX)**
More than in Step
Worn, measure Dimension D1
Examine the surface at Dimension D1
Reject
Less than in Step
Worn, measure Dimension D2
Examine the surface at Dimension D2
Refer to Repair-055, VRS4552 TASK 72-50-23-300-055.
Less than in Step and not less than 0.0472 in. (1.20 mm).
Reject
Less than in Step
Worn, measure Dimension D3
Examine the surface at Dimension D3
SUBTASK 72-50-23-220-003 Examine the Stage 5 Shroud Seal Segment for Wear
Figure: Examine The Stage 5 Shroud Seal Segment
Examine The Stage 5 Shroud Seal Segment

