Export Control
EAR Export Classification: Not subject to the EAR per 15 C.F.R. Chapter 1, Part 734.3(b)(3), except for the following Service Bulletins which are currently published as EAR Export Classification 9E991: SBE70-0992, SBE72-0483, SBE72-0580, SBE72-0588, SBE72-0640, SBE73-0209, SBE80-0024 and SBE80-0025.Copyright
© IAE International Aero Engines AG (2001, 2014 - 2021) The information contained in this document is the property of © IAE International Aero Engines AG and may not be copied or used for any purpose other than that for which it is supplied without the express written authority of © IAE International Aero Engines AG. (This does not preclude use by engine and aircraft operators for normal instructional, maintenance or overhaul purposes.).Applicability
All
Common Information
TASK 72-32-60-300-015 LPC Bleed Duct - Restore The Teflon Coating, Repair-015 (VRS1339)
General
Price and availability - none
The practices and processes referred to in the procedure by the TASK number are in the SPM.
For the method to clean the parts, refer to TASK 72-32-60-100-000 (CLEANING-000).
NOTE
Preliminary Requirements
Pre-Conditions
NONESupport Equipment
| Name | Manufacturer | Part Number / Identification | Quantity | Remark |
|---|---|---|---|---|
| Hand held pneumatic grinder | LOCAL | Hand held pneumatic grinder |
Consumables, Materials and Expendables
| Name | Manufacturer | Part Number / Identification | Quantity | Remark |
|---|---|---|---|---|
| CoMat 02-099 LINT-FREE CLOTH | LOCAL | CoMat 02-099 | ||
| CoMat 02-001 ADHESIVE TAPE (MASKING) | LOCAL | CoMat 02-001 | ||
| CoMat 02-006 ADHESIVE TAPE ALUMINIUM FOIL | K0993 | CoMat 02-006 | ||
| CoMat 02-051 HIGH TEMPERATURE GLASS CLOTH TAPE | 0AM53 | CoMat 02-051 | ||
| CoMat 02-198 ADHESIVE TAPE (MASKING METAL SPRAY) | LOCAL | CoMat 02-198 | ||
| CoMat 05-019 WATERPROOF SILICON CARBIDE | LOCAL | CoMat 05-019 | ||
| CoMat 05-020 WATERPROOF SILICON CARBIDE | LOCAL | CoMat 05-020 | ||
| CoMat 05-192 ALUMINUM OXIDE GRIT | IE531 | CoMat 05-192 | ||
| CoMat 07-028 CHROMATE CONVERSION COATING FOR ALUMINUM | LOCAL | CoMat 07-028 | ||
| CoMat 07-164 BONDING PREVENTIVE - FLUOROCARBONRESIN | 23037 | CoMat 07-164 |
Spares
NONESafety Requirements
NONEProcedure
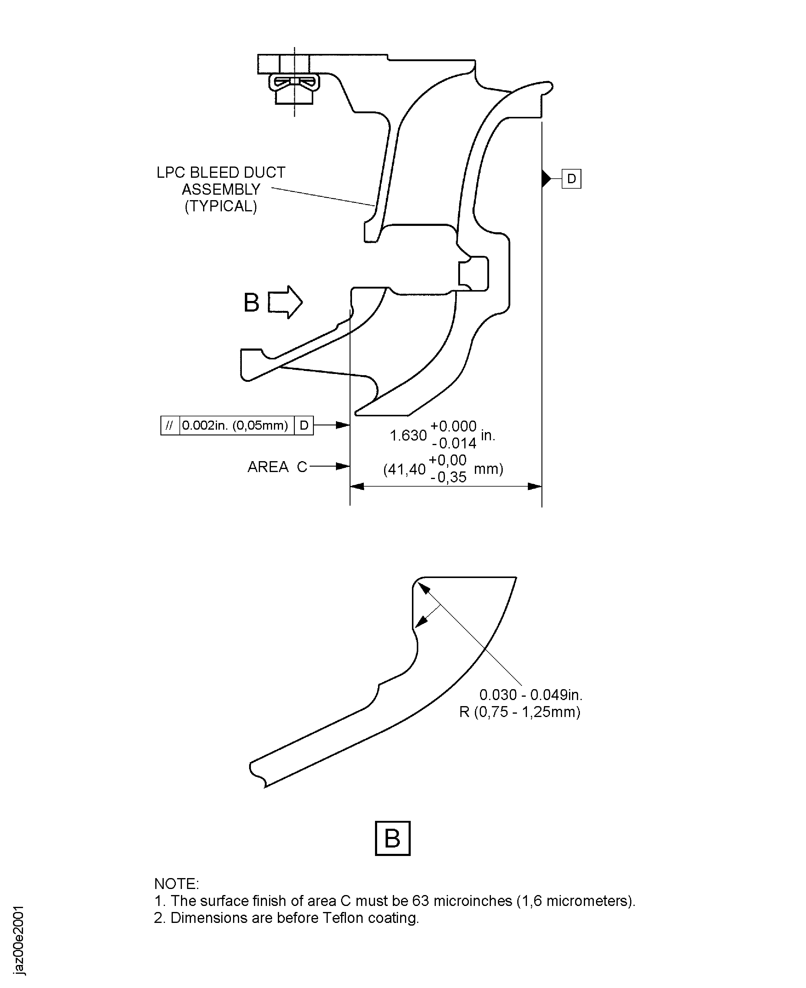
Refer to Figure.
SUBTASK 72-32-60-350-082 Remove the Damaged Seal from the LPC Bleed Duct Assembly
Use CoMat 02-001 ADHESIVE TAPE (MASKING) adhesive tape (Masking), CoMat 02-006 ADHESIVE TAPE ALUMINIUM FOIL, CoMat 02-198 ADHESIVE TAPE (MASKING METAL SPRAY) adhesive tape (Masking metal spray) and/or mechanical.
Mask areas which are not to be applied with Teflon coating.
SUBTASK 72-32-60-350-084 Remove Teflon Coating
Use clean, dry air at 302 deg F (150 deg C) for approximately 20 minutes.
Cure.
SUBTASK 72-32-60-350-085 Restore Teflon Coating to LPC Bleed Duct Assembly and Test Pieces
Refer to Figure.
Refer to TASK 72-32-60-300-013 (VRS1916) or TASK 72-32-60-300-014 (VRS1338).
Install the seal.
SUBTASK 72-32-60-350-087 Install the Seal of LPC Bleed Duct Assembly
Refer to Figure.
SUBTASK 72-32-60-350-088 Surface Treat the Repaired Area
Visually examine the LPC bleed duct assembly for nicks, scratches and/or damaged.
Use 10x magnifying glass.
Refer to TASK 72-32-60-200-000 (INSPECTION/CHECK-000).
Do a visual inspection.
SUBTASK 72-32-60-350-089 Examine the LPC Bleed Duct Assembly
Figure: Repair Details and Dimensions
Sheet 1

Figure: Repair Details and Dimensions
Sheet 2

Figure: Repair Details and Dimensions
Sheet 1

Figure: Repair Details and Dimensions
Sheet 2

