Export Control
EAR Export Classification: Not subject to the EAR per 15 C.F.R. Chapter 1, Part 734.3(b)(3), except for the following Service Bulletins which are currently published as EAR Export Classification 9E991: SBE70-0992, SBE72-0483, SBE72-0580, SBE72-0588, SBE72-0640, SBE73-0209, SBE80-0024 and SBE80-0025.Copyright
© IAE International Aero Engines AG (2001, 2014 - 2021) The information contained in this document is the property of © IAE International Aero Engines AG and may not be copied or used for any purpose other than that for which it is supplied without the express written authority of © IAE International Aero Engines AG. (This does not preclude use by engine and aircraft operators for normal instructional, maintenance or overhaul purposes.).Applicability
All
Common Information
TASK 72-41-11-300-002 HPC Stage 3 - 8 Drum Disk - Repair The Stage 6 And 7 Linings By Replacement, Repair-002 (VRS6007)
Effectivity
FIG/ITEM | PART NO. |
|---|---|
01-200 | 6A8316 |
01-200 | 6B1379 |
01-200 | 6B1380 |
01-200 | 6B1381 |
01-200 | 6B1382 |
01-200 | 6B1383 |
01-200 | 6B1384 |
01-200 | 6B1385 |
01-200 | 6B1386 |
01-200 | 6B1387 |
01-200 | 6B1391 |
01-200 | 6B1392 |
01-200 | 6B1393 |
01-200 | 6B1401 |
01-200 | 6B1402 |
01-200 | 6B1403 |
01-200 | 6B1404 |
01-200 | 6B1405 |
01-200 | 6B1406 |
General
This TASK gives the procedure to repair the stage 6 and 7 lining on the HP Compressor Stage 3 to 8 Disks Shaft Assembly by replacement.
This repair must only be done when the instruction to do so is given in inspection procedures (identified by the applicable part number) located in section 72-41-11.
This is a source demonstration repair which can only be done by Approved Vendors.
Price and Availability
Refer to International Aero Engines (IAE)
Related repairs
HP Compressor - Stage 3 to 8 - Disks Shaft Assembly - Replace damaged shank nuts.
Refer to repair, VRS6220 TASK 72-41-11-300-011 (REPAIR-011).
TASKS identified by SPM TASK are in the Standard Practices Manual.
TASKS identified by EM TASK are in the Engine Manual.
NOTE
NOTE
NOTE
NOTE
Preliminary Requirements
Pre-Conditions
NONESupport Equipment
| Name | Manufacturer | Part Number / Identification | Quantity | Remark |
|---|---|---|---|---|
| IAE 3R18056 Mask | 0AM53 | IAE 3R18056 | 1 | |
| IAE 3R18057 Mask | 0AM53 | IAE 3R18057 | 1 | |
| IAE 3R18735 Turning arbor | 0AM53 | IAE 3R18735 | 1 | |
| IAE 3R18751 Holder | 0AM53 | IAE 3R18751 | 1 | |
| IAE 3R18746 Holder | 0AM53 | IAE 3R18746 | 1 | |
| IAE 3R18747 Diamond insert | 0AM53 | IAE 3R18747 | 1 | |
| IAE 3R18748 RH Insert | 0AM53 | IAE 3R18748 | 1 |
Consumables, Materials and Expendables
| Name | Manufacturer | Part Number / Identification | Quantity | Remark |
|---|---|---|---|---|
| CoMat 01-025 NITRIC ACID HNO3, TECHNICAL GRADE | LOCAL | CoMat 01-025 | ||
| CoMat 02-001 ADHESIVE TAPE (MASKING) | LOCAL | CoMat 02-001 | ||
| CoMat 02-145 STOPPING-OFF COMPOUND | 1N6B3 | CoMat 02-145 | ||
| CoMat 03-037 METAL SPRAYING POWDER,Ni Al | 08662 | CoMat 03-037 | ||
| CoMat 03-043 METAL SPRAYING POWDER,Al OXIDE | LOCAL | CoMat 03-043 | ||
| CoMat 05-001 ABRASIVE MEDIUM, ALUMINIUM OXIDE, 20/30 GRADE | LOCAL | CoMat 05-001 |
Spares
NONESafety Requirements
NONEProcedure
The source demonstration requirements of this repair means that any facility not authorized to accomplish this repair, either utilize the Authorized Repair Vendors listed below or contact the IAE Repair Services Group to determine if a qualification program can be initiated at their facility.
IAE International Aero Engines AG
400 Main Street
M/S 121-10
East Hartford CT 06118
U.S.A.
Attn: Manager Technical Services
Authorized Repair Vendors for Repair VRS6007 are listed below:
ENGELHARD CORPORATION
12 THOMPSON ROAD
SURFACE TECHNOLOGIES
EAST WINDSOR CT 06088
USA
ATTN. BUSINESS MANAGER, AVIATION SERVICES
MTU MAINTENANCE GMBH
FLUGHAFEN HANNOVER
MUNCHNER STRASSE 31
POSTFACH 1720
3012 LANGENHAGEN
GERMANY
ATTN. MANAGER, QUALITY ASSURANCE
ROLLS-ROYCE
AERO-ENGINE SERVICES LTD
COMPONENT REFURBISHMENT
MAVOR AVENUE
NERSTON
EAST KILBRIDE
GLASGOW
G74 4PY
SCOTLAND
ATTN. BUSINESS MANAGER, COMPONENT REFURBISHMENT
MTU MAINTANANCE ZHUHAI CO., LTD.,
NO. 1 TIANKE ROAD
FREE TRADE ZONE
ZHUHAI, GUANGDONG
PC: 519030 P.R. CHINA
ATTN. MANAGER, PARTS REPAIR
Christchurch Engine Centre - CHCEC
634 Memorial Avenue
Christchurch International Airport
Christchurch, New Zealand
Lufthansa Technik AG
HAM WR 420
PO Box 63 03 00
D-22313 Hamburg-Airport
Germany
Rolls-Royce Inchinnan
Inchinnan Drive
Inchinnan Business Park
Inchinnan, PA4 9AF
Scotland
MTU Aero Engines GmbH
Dachauer Strasse 665
80995 Muenchen
Germany
The designation by IAE of an Authorized Repair Vendor indicates that the Repair Vendor has demonstrated the necessary capability to enable it to carry out the listed repair work.
However IAE makes no warranties or representations concerning the qualification or quality standards of the Repair Vendors to carry out the repair work and accept no responsibility whatsoever for any work that may be carried out by a Repair Vendor other than when IAE is listed as the Repair Vendor. Authorized Repair Vendors do not act as agents or representatives of IAE.
Repair Facilities
Refer to repair, VRS6220 TASK 72-41-11-300-011 (REPAIR-011).
Remove the shank nuts.
SUBTASK 72-41-11-350-059 Remove the Shank Nuts
Refer to Figure.
SUBTASK 72-41-11-110-060 Clean the Assembly
Use CoMat 02-001 ADHESIVE TAPE (MASKING) or equivalent masking listed in SPM TASK 70-34-18-380-501 or refer to Step. Repair Facilities for approved vendor tools.

CAUTION
REMOVE THE TOP COAT ONLY. THE BLAST OPERATION MUST STOP WHEN THE WHITE TOP COAT IS REMOVED. FAILURE TO STOP THE BLAST OPERATION AS SPECIFIED MAY RESULT IN THE PART BEING MADE UNSERVICABLE.NOTE
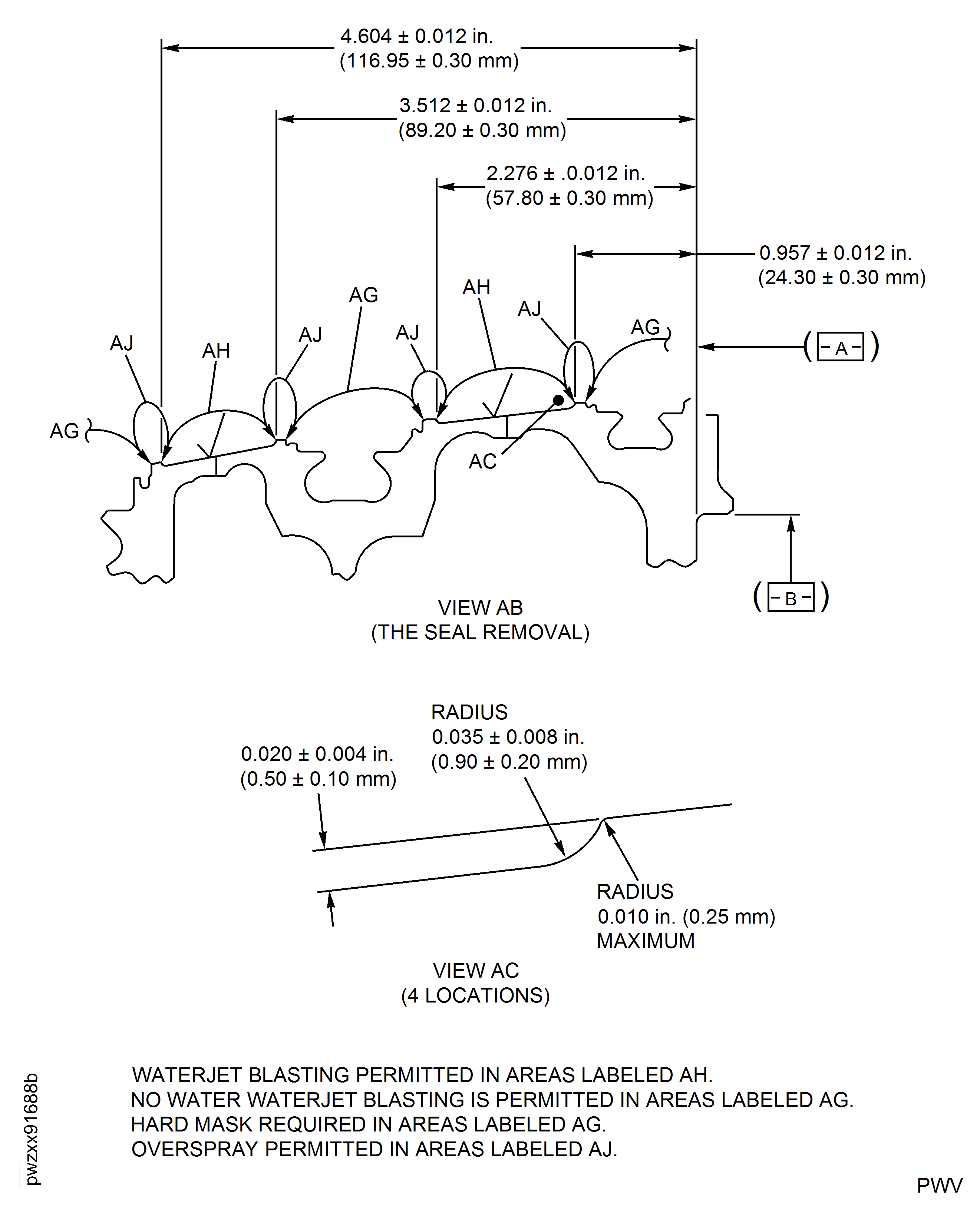
It is permitted to loosen the top coat lining in part by blasting, to allow the Nitric Acid capillary action, to release both top coats at Stages 6 and 7 for chemical strip step. This step is optional when using water jet to remove linings.Seal all surfaces not to be blasted, except areas marked AD.
Refer to SPM TASK 70-12-02-120-501.
Lightly dry blast to loosen top coat lining at each stage.
SUBTASK 72-41-11-120-053 Loosen the Top Coat Lining at Each Stage
Waterjet blasting permitted in areas labeled AH only.
Blasting outside of repair area is not allowed.
Hard mask required in areas labeled AG.
Refer to SPM TASK 70-15-01-160-501.
Make sure the liner is completely removed.
0.0005 in. (0.0127 mm) maximum erosion from waterjet allowed.
Overspray permitted in areas labeled AJ.
Remove the abradable lining.
Remove the lining at each stage by high pressure water blasting.
NOTE
This is a source demonstration processes which can only be done by approved vendors.NOTE
This step is applicable to PNs 6B1404 and 6A8316 only.NOTE
This step is an alternative to Step.
SUBTASK 72-41-11-350-111-001 Remove the Linings at Each Stage by Water Jet (6B1404 and 6A8316 only)
Refer to Figure.
Refer to SPM TASK 70-11-35-110-501.
Seal the lining of the sealing sleeve to prevent removal during the subsequent operation.
Seal lining to prevent removal.
Refer to SPM TASK 70-33-59-300-503, SUBTASK 70-33-59-300-002.
Put the assembly into nitric acid solution and keep below surface until bubbles stop.
Remove assembly from acid immediately after gassing stops.
Remove the lining at each stage.
Chemically remove the linings at each stage.
SUBTASK 72-41-11-350-112-002 Remove the Linings at Each Stage by Chemical Strip (All PNs)
Refer to SPM TASK 70-23-04-230-501.
No cracks allowed, reject part if found.
Do a focused crack test on the rubstrip groove.
SUBTASK 72-41-11-230-061 Do a Focused Crack Test
Refer to Figure.
SUBTASK 72-41-11-220-090 Dimensionally Examine Surfaces for Repair
Alternatively refer to Step. Repair Facilities for approved vendor tools.
Use IAE 3R18056 Mask 1 off, IAE 3R18057 Mask 1 off and/or CoMat 02-001 ADHESIVE TAPE (MASKING) or equivalent masking listed in the SPM TASK 70-34-18-380-501 to seal all surfaces around areas AD.
Seal all surfaces not identified for repair.
SUBTASK 72-41-11-350-083 Seal all Surfaces not to be Repaired
Refer to SPM TASK 70-12-02-120-501.
Be careful not to touch prepared surfaces before plasma spraying.

CAUTION
DO NOT TOUCH AREAS TO BE REPAIRED AFTER THEY ARE CLEANED.
CAUTION
TOO MUCH ABRASIVE BLAST CAN CAUSE DETERIORATION OF THE PREPARED SURFACE CONDITION AND MUST BE PREVENTED.Lightly dry blast to prepare surfaces for the lining.
SUBTASK 72-41-11-120-052 Prepare Surfaces for Repair
Refer to Figure.
Refer to SPM TASK 70-34-01-340-501, SUBTASK 70-34-01-340-007.
Apply a thickness of 0.0030 in. to 0.0050 in. (0.076 mm to 0.127 mm).
Apply the bond coat at each stage.
Refer to SPM TASK 70-34-01-340-501, SUBTASK 70-34-01-340-013.
Total resultant coating thickness (top and bond coat) must be (0.019 in. +/- 0.003 in.) 0.50 mm +/- 0.1 mm.
Apply a layer of sufficient thickness to get the correct dimensions after assembly is machined.
Apply the top coat at each stage.
SUBTASK 72-41-11-340-051 Apply the New Linings
Refer to SPM TASK 70-34-01-340-501, SUBTASK 70-34-01-340-002.
Visually examine the new linings.
SUBTASK 72-41-11-220-091 Visually Examine
Use IAE 3R18735 Turning arbor 1 off.
Set up the disk assembly to be machined.
Use IAE 3R18751 Holder 1 off, with IAE 3R18748 RH Insert 1 off.
For titanium linings use IAE 3R18746 Holder 1 off.
For ceramic linings use IAE 3R18747 Diamond insert 1 off.
Machine at 200 feet/min (60 meters per min).
Alternatively refer to Step. Repair Facilities for approved vendor tools.
Machine the linings.
SUBTASK 72-41-11-325-053 Machine the Linings
Refer to SPM TASK 70-34-01-340-501, SUBTASK 70-34-01-340-002.
Visually examine the repaired area.
Ensure surface finish on machined surfaces specified AE is 125 microinches (3.2 micrometers) or better.
Re-machine provided dimensionally repairable.
If the surface finish is not within limits.
SUBTASK 72-41-11-220-240 Visually and Dimensionally Examine the Repair
Refer to Repair, VRS6220 TASK 72-41-11-300-011 (REPAIR-011).
Replace the shank nuts.
SUBTASK 72-41-11-350-062 Replace the Shank Nuts
Refer to TASK 72-41-00-100-000.
Chemically clean the part.
SUBTASK 72-41-11-110-062 Clean the Assembly
Refer to Figure.
SUBTASK 72-41-11-350-063 Identify the Repair
Figure: Repair Details and Dimensions
Repair Details and Dimensions

Figure: Repair Details and Dimensions
Repair Details and Dimensions

Figure: Repair Details and Dimensions
Repair Details and Dimensions

Figure: Repair Details and Dimensions
Repair Details and Dimensions

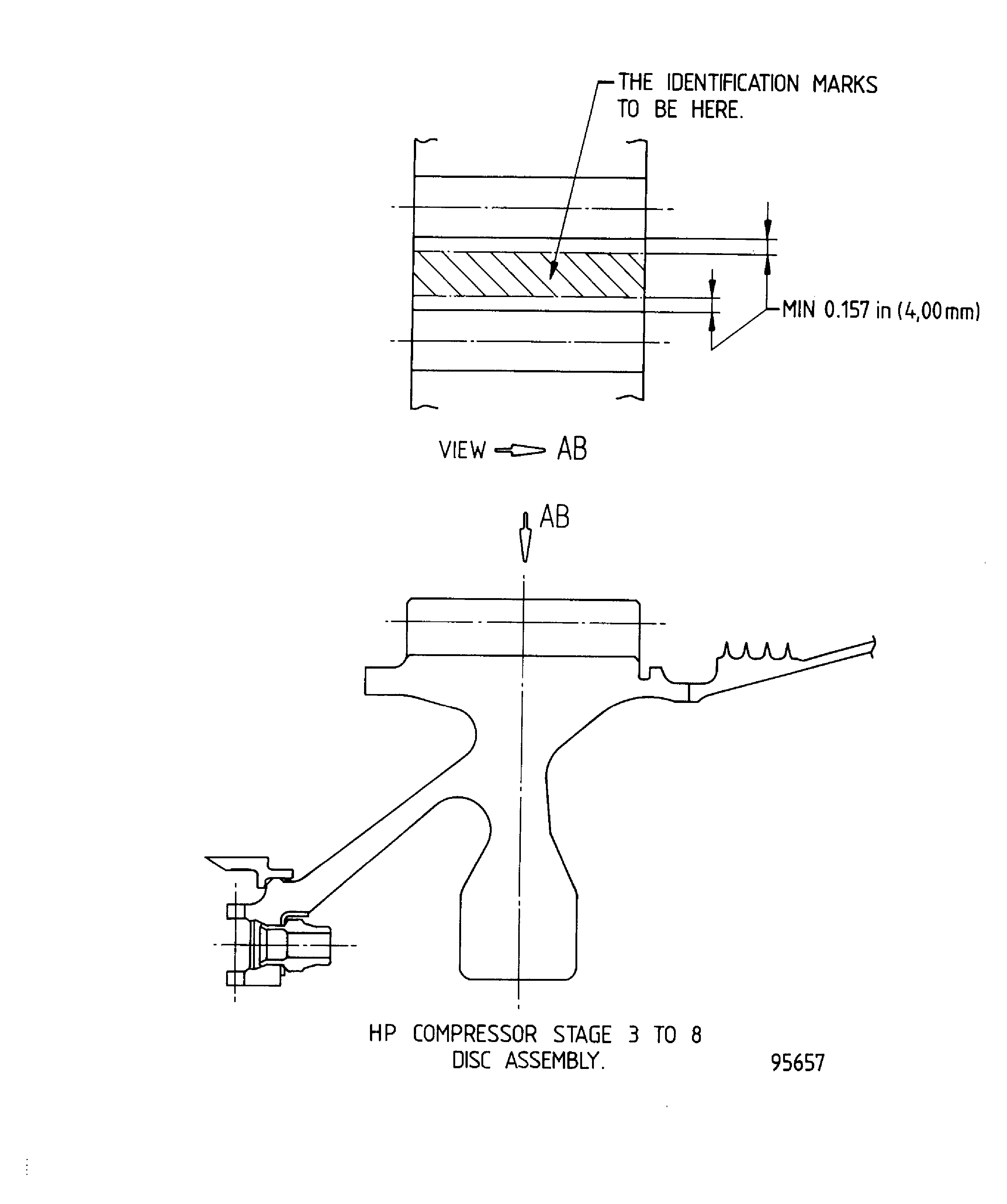
Figure: The Position of the Identification Marks
The Position of the Identification Marks

