Export Control
EAR Export Classification: Not subject to the EAR per 15 C.F.R. Chapter 1, Part 734.3(b)(3), except for the following Service Bulletins which are currently published as EAR Export Classification 9E991: SBE70-0992, SBE72-0483, SBE72-0580, SBE72-0588, SBE72-0640, SBE73-0209, SBE80-0024 and SBE80-0025.Copyright
© IAE International Aero Engines AG (2001, 2014 - 2021) The information contained in this document is the property of © IAE International Aero Engines AG and may not be copied or used for any purpose other than that for which it is supplied without the express written authority of © IAE International Aero Engines AG. (This does not preclude use by engine and aircraft operators for normal instructional, maintenance or overhaul purposes.).Applicability
All
Common Information
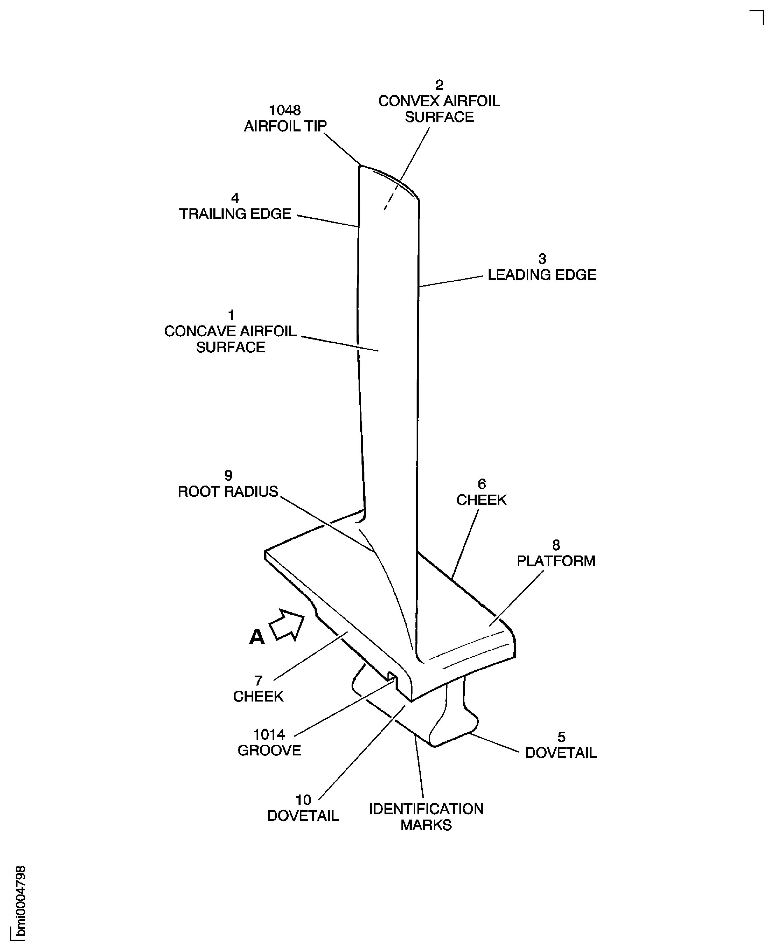
TASK 72-41-15-200-003-A00 HPC Stage 5 Rotor Blade - Examine, Inspection-003
General
This TASK gives the procedure for the inspection of the HP compressor stage 5 rotor blades.
Nicks and dents 0.005 in. (0.13 mm) or less are acceptable without limit to the airfoil and gas washed surface of the platforms.
Fig/item numbers in parentheses in the procedure agree with those given in the IPC. Only the primary Fig/item numbers are used. For the service bulletin alpha variants refer to the IPC.
The policy that is necessary for inspection is given in the SPM TASK 70-20-01-200-501.
All the parts must be cleaned before any part is examined.
All the parts must be visually examined for damage, corrosion and wear. Any defects that are not identified in the procedure must be referred to IAE.
The procedure for those parts which must have a crack test is given in Step Do the crack test before the part is visually examined.
Do not discard any part until you are sure there are no repairs available. Refer to the instructions in repair before a discarded part is used again or oversize parts are installed.
Parts which should be discarded can be held although no repair is available. The repair of a discarded part can be shown to be necessary at a subsequent date.
All the parts must be examined to make sure that all the repairs have been completed satisfactorily.
The practices and processes referred to in the procedure by the TASK/SUBTASK number are in the SPM.
References
Refer to the SPM for data on these items:
Definition of Damage, SPM TASK 70-02-02-350-501,
Inspection of Parts, SPM TASK 70-20-01-200-501.
Some data on these items are contained in this TASK. For more data on these items refer to the SPM:
Method of Testing for Crack Indications,
Chemical Processes,
Surface Protection.
Preliminary Requirements
Pre-Conditions
NONESupport Equipment
NONEConsumables, Materials and Expendables
NONESpares
NONESafety Requirements
NONEProcedure
Clean the parts. Refer to TASK 72-41-15-100-000 (CLEANING-000).
SUBTASK 72-41-15-230-053 Examine the Stage 5 Rotor Blades for Cracks
Refer to Figure.
Repair, VRS6011 TASK 72-41-15-300-003 (REPAIR-003).
Eroded.
Repair, VRS6011 TASK 72-41-15-300-003 (REPAIR-003).
More than in Step.
Nicks or dents.
SUBTASK 72-41-15-220-067 Examine the Stage 5 Rotor Blades Concave and Convex Airfoil Surfaces at Locations 1 and 2
Refer to Figure.
Accept.
Mean surface finish of 16 microinches (0.40 micrometers) or less.
Repair, VRS6150 TASK 72-41-15-300-040 (REPAIR-040).
Mean surface finish greater than 16 microinches (0.40 micrometers).
Examine the surface finish of the rotor blades.
If any blade is in excess of 16 microinches (0.40 micrometers) then all of the blades must be examined.
Examine the surface finish of the rotor blades. Use 10 percent of the rotor blades that have been removed.
SUBTASK 72-41-15-220-198 Examine the Stage 5 Rotor Blades Concave and Convex Airfoil Surface Finish at Locations 1 and 2, Platform at Location 8 and Root Radius at Location 9
Refer to Figure.
Repair, VRS6011 TASK 72-41-15-300-003 (REPAIR-003).
Cracked or eroded.
Repair, VRS6011 TASK 72-41-15-300-003 (REPAIR-003).
More than in Step.
Nicks or dents.
SUBTASK 72-41-15-220-134 Examine the Stage 5 Rotor Blades Leading Edge at Location 3
Refer to Figure.
Repair, VRS6011 TASK 72-41-15-300-003 (REPAIR-003).
Eroded.
Repair, VRS6011 TASK 72-41-15-300-003 (REPAIR-003).
More than in Step.
Nicks or dents.
SUBTASK 72-41-15-220-068 Examine the Stage 5 Rotor Blades Trailing Edge at Location 4
Refer to Figure.
Repair, VRS6051 TASK 72-41-15-300-013 (REPAIR-013).
Cracked.
In the limits of TASK 72-41-10-040-001 (DISASSEMBLY, CONFIG-001).
Repair, VRS6051 TASK 72-41-15-300-013 (REPAIR-013).
Identified as too short in TASK 72-41-10-040-001 (DISASSEMBLY, CONFIG-001).
Rubbed/Worn.
SUBTASK 72-41-15-220-135 Examine the Stage 5 Rotor Blades Tips at Location 1048
Refer to Figure.
SUBTASK 72-41-15-220-070 Examine the Stage 5 Rotor Blades Dovetail at Location 5
Refer to Figure.
SUBTASK 72-41-15-220-136 Examine the Stage 5 Rotor Blades Dovetails at Location 10
Refer to Figure.
SUBTASK 72-41-15-220-154 Examine the Stage 5 Rotor Blades Chordal Checks
NOTE
There is an alternative to measurments taken on the High Speed Grinding Machine to determine blade length acceptance limits.Refer to Figure.
Repair, VRS6051 TASK 72-41-15-300-013 (REPAIR-013).
Between 3.246 in. and 3.272 in. (82.448 mm and 83.108 mm).
Less than the minimum repair limit given in Repair, VRS6051 TASK 72-41-15-300-013 (REPAIR-013).
SUBTASK 72-41-15-220-447 Examine the Stage 5 Rotor Blades, Length Checks
Refer to Repair, VRS6486 TASK 72-41-15-300-046 (REPAIR-046).
Apply the dry film lubricant to the blade dovetail
SUBTASK 72-41-15-380-075 Apply the Dry Film Lubricant to the Stage 5 Rotor Blades Dovetails
Refer to Repair, VRS6215 TASK 72-41-15-300-032 (REPAIR-032).
Replace the blades sealing strip.
SUBTASK 72-41-15-350-086 Replace the Sealing Strip on to the Stage 5 Rotor Blades
Figure: Stage 5 Rotor Blades - Inspection Locations
Sheet 1

Figure: Stage 5 Rotor Blades - Inspection Locations
Sheet 2

Figure: Stage 5 rotor blades - chordal checks
Stage 5 rotor blades - chordal checks

Figure: Stage 5 rotor blades - measure lengh "X"
Stage 5 rotor blades - measure lengh "X"

