Export Control
EAR Export Classification: Not subject to the EAR per 15 C.F.R. Chapter 1, Part 734.3(b)(3), except for the following Service Bulletins which are currently published as EAR Export Classification 9E991: SBE70-0992, SBE72-0483, SBE72-0580, SBE72-0588, SBE72-0640, SBE73-0209, SBE80-0024 and SBE80-0025.Copyright
© IAE International Aero Engines AG (2001, 2014 - 2021) The information contained in this document is the property of © IAE International Aero Engines AG and may not be copied or used for any purpose other than that for which it is supplied without the express written authority of © IAE International Aero Engines AG. (This does not preclude use by engine and aircraft operators for normal instructional, maintenance or overhaul purposes.).Applicability
All
Common Information
TASK 72-41-15-200-005-A00 HPC Stage 7 Rotor Blade - Examine, Inspection-005
Effectivity
FIG/ITEM | PART NO. |
|---|---|
02-270 | 6A3246 |
02-270 | 6A5588 |
02-285 | 6A3247 |
02-285 | 6A5589 |
02-300 | 6A3245C01 |
02-300 | 6A5584C01 |
02-315 | 6A3245C01 |
02-315 | 6A5584C01 |
02-317 | 6A3245C02 |
02-317 | 6A5584C02 |
General
This TASK gives the procedure for the inspection of the HP compressor stage 7 rotor blades. This procedure has been revised to include the identification markings introduced by Service Bulletin SBE 72-0161.
Nicks and dents 0.005 in. (0.13 mm) or less are acceptable without limit to the airfoil and gas washed surface of the platforms.
Fig/item numbers in parentheses in the procedure agree with those given in the IPC. Only the primary Fig/item numbers are used. For the service bulletin alpha variants refer to the IPC.
The policy that is necessary for inspection is given in the SPM TASK 70-20-01-200-501
All the parts must be cleaned before any part is examined.
All the parts must be visually examined for damage, corrosion and wear. Any defects that are not identified in the procedure must be referred to IAE.
The procedure for those parts which must have a crack test is given in Step. Do the crack test before the part is visually examined.
Do not discard any part until you are sure there are no repairs available. Refer to the instructions in repair before a discarded part is used again or oversize parts are installed.
Parts which should be discarded can be held although no repair is available. The repair of a discarded part can be shown to be necessary at a subsequent date.
All the parts must be examined to make sure that all the repairs have been completed satisfactorily.
The practices and processes referred to in the procedure by the TASK/SUBTASK number are in the SPM.
References
Refer to the SPM for data on these items:
Definition of Damage, SPM TASK 70-02-02-350-501,
Inspection of Parts, SPM TASK 70-20-01-200-501.
Some data on these items is contained in this TASK. For more data on these items refer to the SPM:
Method of Testing for Crack Indications,
Chemical Processes,
Surface Protection.
Preliminary Requirements
Pre-Conditions
NONESupport Equipment
NONEConsumables, Materials and Expendables
NONESpares
NONESafety Requirements
NONEProcedure
Clean the parts. Refer to TASK 72-41-15-100-000 (CLEANING-000).
SUBTASK 72-41-15-230-055-002 Examine the Stage 7 Rotor Blades for Cracks
Refer to Figure.
Repair, VRS6013 TASK 72-41-15-300-005 (REPAIR-005).
Nicked.
Repair, VRS6013 TASK 72-41-15-300-005 (REPAIR-005).
More than in Step.
Nicks or dents.
SUBTASK 72-41-15-220-081 Examine the Stage 7 Rotor Blades Concave and Convex Airfoil Surfaces at Locations 1 and 2
Refer to Figure.
Accept.
Mean surface finish of 16 microinches (0.40 micrometers) or less.
Accept.
Mean surface finish of 16 microinches (0.40 micrometres) or less.
Repair, VRS6150 TASK 72-41-15-300-040 (REPAIR-040).
Mean surface finish greater than 16 microinches (0.40 micrometres).
Examine the surface finish of the rotor blades.
If any blade is in excess of 16 microinches (0.40 micrometers) then all of the blades must be examined.
Examine the surface finish of the rotor blades. Use 10 percent of the rotor blades that have been removed.
SUBTASK 72-41-15-220-200 Examine the Stage 7 Rotor Blades Concave and Convex Airfoil Surface Finish at Locations 1 and 2, Platform at Location 8 and Root Radius at Location 9
Refer to Figure.
Repair, VRS6013 TASK 72-41-15-300-005 (REPAIR-005).
Cracked or eroded.
Repair, VRS6013 TASK 72-41-15-300-005 (REPAIR-005).
More than in Step
Nicks or dents
SUBTASK 72-41-15-220-139 Examine the Stage 7 Rotor Blades Leading Edge at Location 3
Refer to Figure.
Repair, VRS6013 TASK 72-41-15-300-005 (REPAIR-005)
Cracked or eroded
Repair, VRS6013 TASK 72-41-15-300-005 (REPAIR-005)
More than in Step
Nicks or dents
SUBTASK 72-41-15-220-083 Examine the Stage 7 Rotor Blades Trailing Edge at Location 4
Refer to Figure.
Repair, VRS6053 TASK 72-41-15-300-015 (REPAIR-015)
Cracked
Within the limits in TASK 72-41-10-040-001 (DISASSEMBLY-001, CONFIG-001)
Repair, VRS6053 TASK 72-41-15-300-015 (REPAIR-015)
Identified as too short in TASK 72-41-10-040-001 (DISASSEMBLY-001, CONFIG-001)
Repair, VRS6153 TASK 72-41-15-300-034 (REPAIR-034)
NOTE
The instruction to apply a new layer is optional, refer to Repair, VRS6053 TASK 72-41-15-300-015, SUBTASK 72-41-15-340-054 (Repair-015).Apply a new layer to blade tip
Tip coating eroded.
Rubbed or worn
SUBTASK 72-41-15-220-140 Examine the Stage 7 Rotor Blades Tips at Location 1050
NOTE
This is an alternative to measurements taken on the High speed grinding machine to determine blade length acceptance limits.Refer to Figure.
Repair VRS6053, TASK 72-41-15-300-015 (REPAIR-015)
Between 1.7170 and 1.7530 in. (43.611 and 44.526 mm)
Less than the minimum repair limit given in Repair VRS6053, TASK 72-41-15-300-015 (REPAIR-015)
SUBTASK 72-41-15-220-449 Examine the Stage 7 Rotor Blades, Length Checks
Repair, VRS6496 TASK 72-41-15-300-050 (REPAIR-050,)
Apply the dry film lubricant to the blade dovetail
SUBTASK 72-41-15-380-104 Replace the Dry Film Lubricant
Refer to the SPM TASK 70-35-03-300-501 to remove score. Repair corner radius equal to adjacent edges which are not repaired
Not more than 0.002 in. (0.05 mm) in depth
Location 12 (bottom edge radii) - 0.039 in. (1.00 mm) margin to bottom face
Polish to remove score 1x depth. Refer to the SPM TASK 70-35-03-300-501. Do not polish into neck edge radius (location 14)
Not more than 0.002 in. (0.05 mm) in depth
Location 15 (under platform fillet radius) - 0.067 in. plus or minus 0.008 in. (1.70 mm plus or minus 0.20 mm)
NOTE
Class identification marks as scores.Scored
SUBTASK 72-41-15-220-592 Examine the Stage 7 Rotor Blade Dovetail End Faces and Corners
Refer to Figure..
Refer to the SPM TASK 70-35-03-300-501 to remove score. Repair corner radius equal to adjacent edges which are not repaired
location 12 (bottom edge radii)
Do the identification marking again if removed by Step
SUBTASK 72-41-15-220-593 Examine the Stage 7 Rotor Blade Part Marking and Repair Symbol Location
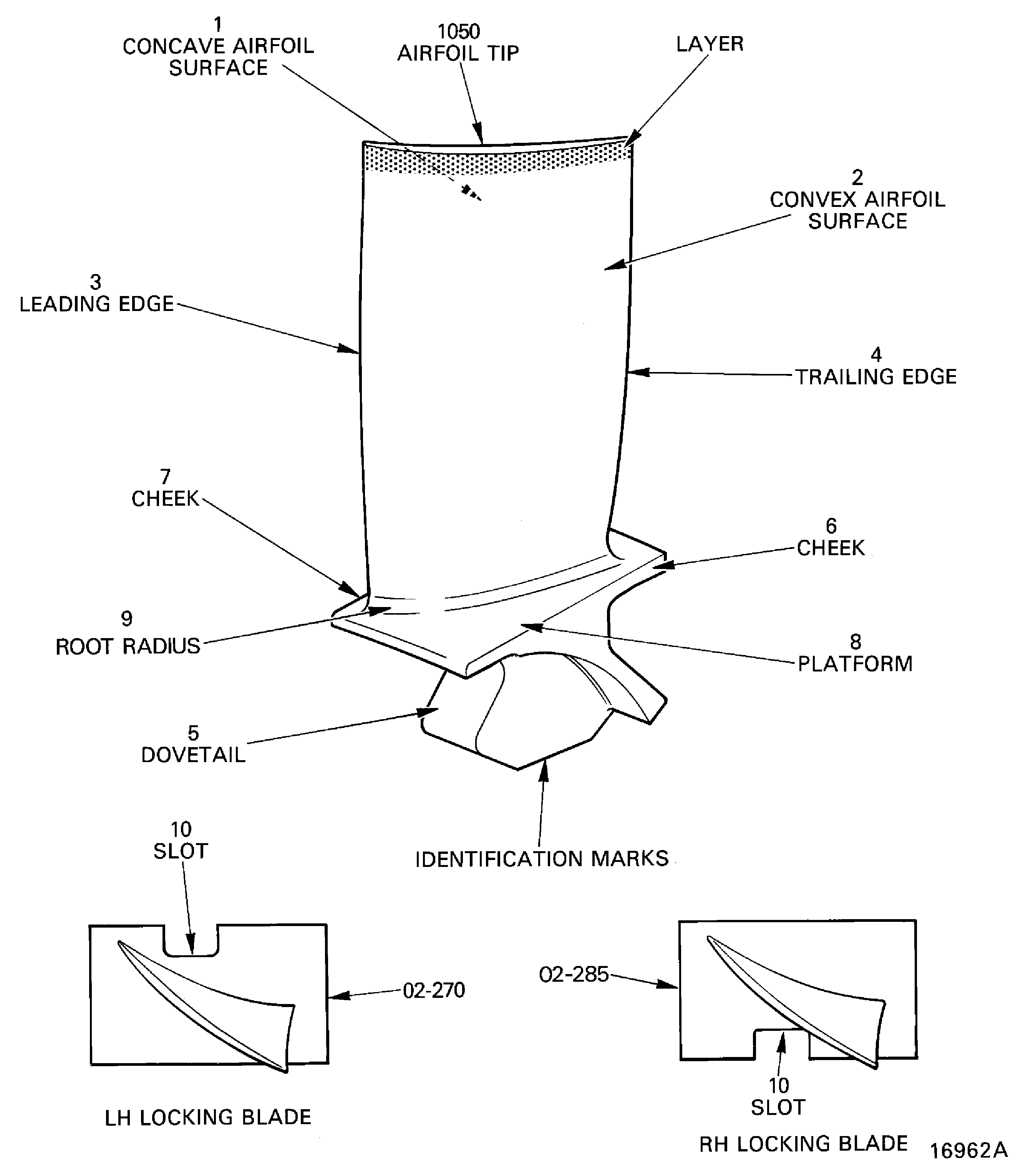
Figure: Stage 7 rotor blades - inspection locations
Stage 7 rotor blades - inspection locations

Figure: Identify the stage 7 rotor blades
Identify the stage 7 rotor blades

Figure: Stage 7 rotor blades - chordal checks
Stage 7 rotor blades - chordal checks

Figure: Stage 7 Rotor Blades - Measure Length "X"
Stage 7 Rotor Blades - Measure Length "X"

Figure: Details of typical LE/TE Accept/Reject profiles
Details of typical LE/TE Accept/Reject profiles

Figure: Stage 7 Rotor Blade - Dovetail End Faces and Corners
Sheet 1

Figure: Stage 7 Rotor Blade - Dovetail End Faces and Corners
Sheet 2

Figure: Stage 7 Rotor Blade - Dovetail End Faces and Corners
Sheet 3

