Export Control
EAR Export Classification: Not subject to the EAR per 15 C.F.R. Chapter 1, Part 734.3(b)(3), except for the following Service Bulletins which are currently published as EAR Export Classification 9E991: SBE70-0992, SBE72-0483, SBE72-0580, SBE72-0588, SBE72-0640, SBE73-0209, SBE80-0024 and SBE80-0025.Copyright
© IAE International Aero Engines AG (2001, 2014 - 2021) The information contained in this document is the property of © IAE International Aero Engines AG and may not be copied or used for any purpose other than that for which it is supplied without the express written authority of © IAE International Aero Engines AG. (This does not preclude use by engine and aircraft operators for normal instructional, maintenance or overhaul purposes.).Applicability
All
Common Information
TASK 72-41-15-200-009-A00 HPC Stage 11 Rotor Blade - Examine, Inspection-009
Effectivity
FIG/ITEM | PART NO. |
|---|---|
02-670 | 6A3258 |
02-670 | 6A5641 |
02-670 | 6A6564 |
02-685 | 6A3259 |
02-685 | 6A5642 |
02-700 | 6A3257C01 |
02-715 | 6A3257C01 |
02-717 | 6A3257C02 |
General
This TASK gives the procedure for the inspection of the HP compressor stage 11 rotor blades. This procedure has been revised to include the identification markings introduced by SBE 72-0172.
Nicks and dents 0.005 in. (0.13 mm) or less are acceptable without limit to the airfoil and gas washed surface of the platforms.
Fig/item numbers in parentheses in the procedure agree with those given in the IPC. Only the primary Fig/item numbers are used. For the service bulletin alpha variants refer to the IPC.
The policy that is necessary for inspection is given in the SPM TASK 70-20-01-200-501.
All the parts must be cleaned before any part is examined.
All the parts must be visually examined for damage, corrosion and wear. Any defects that are not identified in the procedure must be referred to IAE.
The procedure for those parts which must have a crack test is given in SUBTASK 72-41-15-230-059. Do the crack test before the part is visually examined.
Do not discard any part until you are sure there are no repairs available. Refer to the instructions in Repair before a discarded part is used again or oversize parts are installed.
Parts which should be discarded can be held although no repair is available. The repair of a discarded part can be shown to be necessary at a subsequent date.
All the parts must be examined to make sure that all the repairs have been completed satisfactorily.
The practices and processes referred to in the procedure by the TASK/SUBTASK number are in the SPM.
References
Refer to the SPM for data on these items:
Definition of Damage, SPM TASK 70-02-02-350-501,
Inspection of Parts, SPM TASK 70-20-01-200-501.
Some data on these items are contained in this TASK. For more data on these items refer to the SPM:
Method of Testing for Crack Indications,
Chemical Processes,
Surface Protection.
Preliminary Requirements
Pre-Conditions
NONESupport Equipment
NONEConsumables, Materials and Expendables
NONESpares
NONESafety Requirements
NONEProcedure
Refer to Figure.
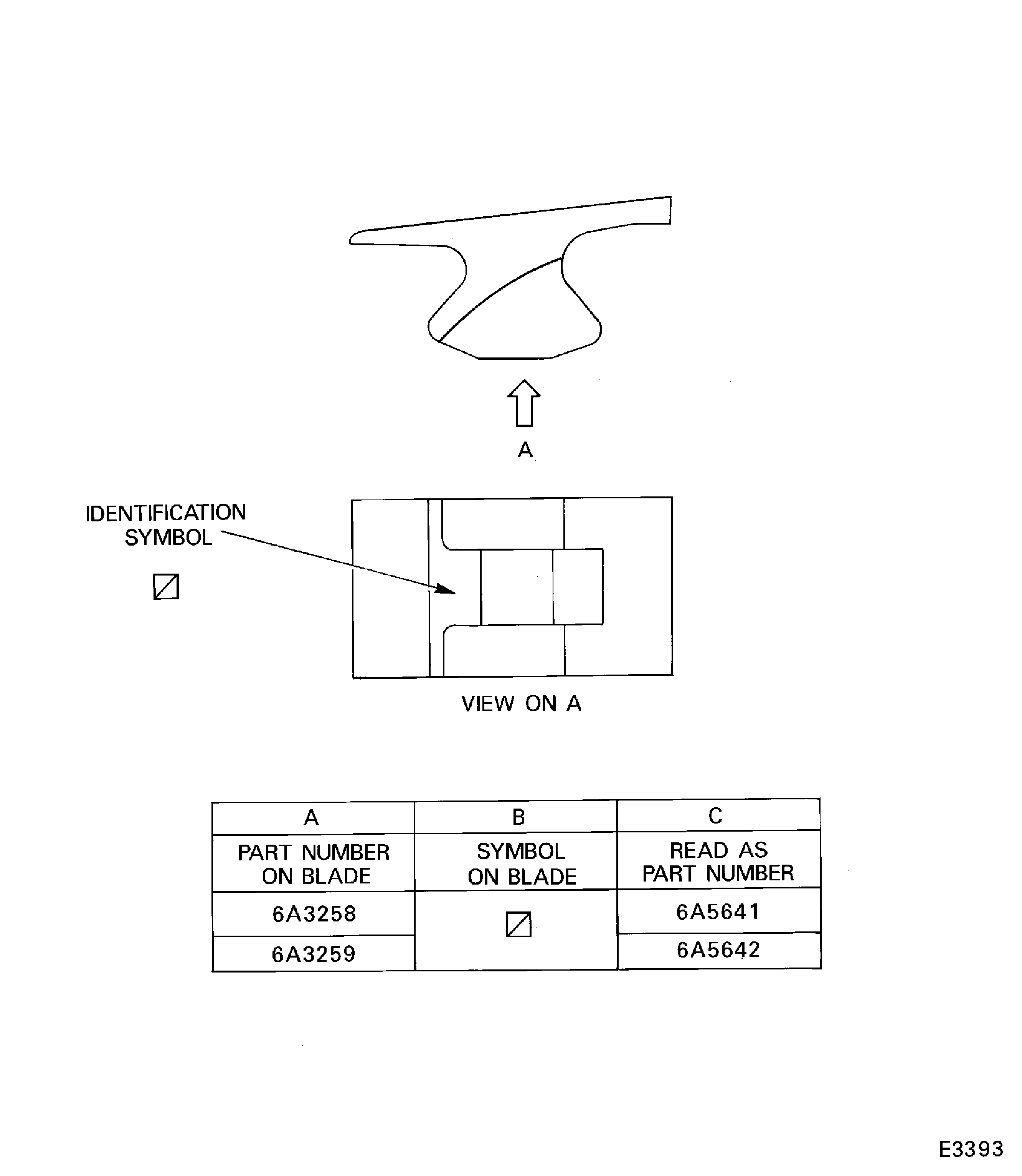
Refer to the table in Figure, if the part number on the blade is shown in A and has the symbol shown in B, then the part number should be read as that shown in C.
Examine the part number and the symbol on the base of the blade.
SUBTASK 72-41-15-280-056 Identify the Stage 11 Rotor Blades
Clean the parts. Refer to TASK 72-41-15-100-000 (CLEANING-000).
SUBTASK 72-41-15-230-059-001 Examine the Stage 11 Rotor Blades for Cracks
Refer to Figure.
Repair VRS6017, TASK 72-41-15-300-009 (REPAIR-009).
More than in Step.
Nicks or dents
Repair VRS6017, TASK 72-41-15-300-009 (REPAIR-009)
Eroded
SUBTASK 72-41-15-220-110 Examine the Stage 11 Rotor Blades Concave and Convex Airfoil Surfaces at Locations 1 and 2
Refer to Figure.
Repair, VRS6150 TASK 72-41-15-300-040 (REPAIR-040).
Mean surface finish greater than 16 microinches (0.40 micrometres).
SUBTASK 72-41-15-220-204 Examine the Stage 11 Rotor Blade Concave and Convex Airfoil Surface Finish at Locations 1 and 2, Platform at Location 8 and Root Radius at Location 9
Refer to Figure.
Repair VRS6017, TASK 72-41-15-300-009 (REPAIR-009)
Cracked
Repair VRS6017, TASK 72-41-15-300-009 (REPAIR-009).
More than in Step.
Nicks or dents
Repair VRS6017, TASK 72-41-15-300-009 (REPAIR-009)
Eroded
SUBTASK 72-41-15-220-147 Examine the Stage 11 Rotor Blades Leading Edge at Location 3
Refer to Figure.
Repair VRS6017, TASK 72-41-15-300-009 (REPAIR-009).
More than in Step.
Nicks or dents
Repair VRS6017, TASK 72-41-15-300-009 (REPAIR-009)
Eroded
SUBTASK 72-41-15-220-111 Examine the Stage 11 Rotor Blades Trailing Edge at Location 4
Refer to Figure.
Repair VRS6057, TASK 72-41-15-300-019 (REPAIR-019)
Cracked
In the limits in TASK 72-41-10-040-001-A00 (DISASSEMBLY, CONFIG-001)
Repair VRS6057, TASK 72-41-15-300-019 (REPAIR-019)
Identified as too short in TASK 72-41-10-040-001-A00 (DISASSEMBLY, CONFIG-001)
Rubbed or worn.
SUBTASK 72-41-15-220-148 Examine the Stage 11 Rotor Blades Tips at Location 1054
Refer to Figure.
SUBTASK 72-41-15-220-160 Examine the Stage 11 Rotor Blades Chordal Checks
NOTE
This is an alternative to measurements taken on the High Speed Grinding Machine to find blade length permitted limits.Refer to Figure.
Repair VRS6057, TASK 72-41-15-300-019 (REPAIR-019)
Between 1.0370 and 1.0650 in. (26.340 and 27.051 mm)
Less than the minimum repair limit given in Repair VRS6057, TASK 72-41-15-300-019 (REPAIR-019)
SUBTASK 72-41-15-220-452 Examine the Stage 11 Rotor Blades, Length Checks
Refer to the SPM TASK 70-35-03-300-501 to remove score. Repair corner radius equal to adjacent edges which are not repaired
Less than 0.039 in. (1.00 mm)
Location 10 - margin to bottom face
Polish to remove score 1x depth, Refer to the SPM TASK 70-35-03-300-501. Do not polish into neck edge radius at location 12
Not more than 0.002 in (0.05 mm) in depth
More than in Step
On radius.
Scored.
SUBTASK 72-41-15-220-573 Examine the Stage 11 Rotor Blade, Dovetail End Faces and Corners
Refer to Figure.
Refer to the SPM TASK 70-35-03-300-501 to remove score marks. Repair corner radius equal to adjacent edges which are not repaired
Less than 0.039 in. (1.00 mm)
Location 10 - margin to bottom face
Refer to the SPM TASK 70-09-00-400-501, SUBTASK 70-09-00-400-001. Use vibro-engraving equipment
Do the identification marking again if removed by step (2)
SUBTASK 72-41-15-220-574 Examine the Stage 11 Rotor Blade, Part Marking and Repair Symbol Location
Figure: Stage 11 rotor blades - inspection locations
Stage 11 rotor blades - inspection locations

Figure: Identify the stage 11 rotor blades
Identify the stage 11 rotor blades

Figure: Stage 11 rotor blades - chordal checks
Stage 11 rotor blades - chordal checks

Figure: Stage 11 rotor blades - measure length "X"
Stage 11 rotor blades - measure length "X"

Figure: Stage 11 Rotor Blade - Dovetail End Faces and Corners
Stage 11 Rotor Blade - Dovetail End Faces and Corners

Figure: Stage 11 Rotor Blade - Dovetail End Faces and Corners
Stage 11 Rotor Blade - Dovetail End Faces and Corners

Figure: Stage 11 Rotor Blade - Dovetail End Faces and Corners
Stage 11 Rotor Blade - Dovetail End Faces and Corners

