Export Control
EAR Export Classification: Not subject to the EAR per 15 C.F.R. Chapter 1, Part 734.3(b)(3), except for the following Service Bulletins which are currently published as EAR Export Classification 9E991: SBE70-0992, SBE72-0483, SBE72-0580, SBE72-0588, SBE72-0640, SBE73-0209, SBE80-0024 and SBE80-0025.Copyright
© IAE International Aero Engines AG (2001, 2014 - 2021) The information contained in this document is the property of © IAE International Aero Engines AG and may not be copied or used for any purpose other than that for which it is supplied without the express written authority of © IAE International Aero Engines AG. (This does not preclude use by engine and aircraft operators for normal instructional, maintenance or overhaul purposes.).Applicability
All
Common Information
TASK 72-41-31-300-008 HPC Stage 5 Rotor Path Segment - Replace The Lining, Repair-008 (VRS6244)
Effectivity
FIG/ITEM | PART NO. | Assembly |
|---|---|---|
01-695 | 6A3025 | A |
01-695 | 6A3976 | A |
01-695 | 6A4349 | B |
01-695 | 6A7471 | B |
01-695 | 6A7573 | B |
General
Make sure that all the cleaning and inspection procedures are done before this repair.
After this repair the rotor path will be completed during assembly.
Price and availability.
Refer to International Aero Engines.
NOTE
Preliminary Requirements
Pre-Conditions
NONESupport Equipment
NONEConsumables, Materials and Expendables
| Name | Manufacturer | Part Number / Identification | Quantity | Remark |
|---|---|---|---|---|
| CoMat 01-041 ALKALINE RUST REMOVER | LOCAL | CoMat 01-041 | ||
| CoMat 03-036 METAL SPRAYING WIRE, Ni,Al | LOCAL | CoMat 03-036 | ||
| CoMat 03-057 ALUMINIUM ALLOY/POLYESTERCOMPOSITE | LOCAL | CoMat 03-057 | ||
| CoMat 03-089 METAL SPRAYING POWDER Ni/Al (95/5) | 00741 | CoMat 03-089 | ||
| CoMat 03-090 METAL SPRAYING POWDER Ni/Al (95/5) | 0AM53 | CoMat 03-090 | ||
| DELETED | LOCAL | DELETED |
Spares
NONESafety Requirements
NONEProcedure
Refer to TASK 72-41-31-100-000, (CLEANING-000).
Use chemical cleaning equipment.
Chemically clean.
SUBTASK 72-41-31-110-080 Chemically Clean
Refer to TASK 72-41-31-200-000 (INSPECTION-000).
Use penetrant crack test equipment.
Do a crack test.
SUBTASK 72-41-31-230-080 Do a Crack Test
Remove the abradable lining. Refer to the SPM TASK 70-33-59-300-503, SUBTASK 70-33-59-300-003.
Remove the bond coat. Refer to the SPM TASK 70-33-89-300-503.
Chemically remove the abradable lining and bond coat.
Machine to remove the abradable lining and bond coat. Use a locally manufactured fixture. Refer to Section 70-34-00, TASK 70-34-01-340-501 in the V2500 Standard Practices Manual, 2A4414.
Remove the abradable lining and bond coat using high pressure water blasting. Use a locally manufactured fixture. Refer to Section 70-15-00, TASK 70-15-01-160-501 in the V2500 Standard Practices Manual, 2A4414.
SUBTASK 72-41-31-330-051-A00 Remove the Abradable Lining and Bond Coat, Assembly A
Remove the abradable lining. Refer to the SPM TASK 70-33-59-300-503 , SUBTASK 70-33-59-300-003.
Remove the bond coat. Refer to the SPM TASK 70-33-89-300-503.
Chemically remove the abradable lining and bond coat.
Machine to remove the abradable lining and bond coat. Use a locally manufactured fixture. Refer to Section 70-34-00, TASK 70-34-01-340-501 in the V2500 Standard Practices Manual, 2A4414.
Remove the abradable lining and bond coat using high pressure water blasting. Use a locally manufactured fixture. Refer to Section 70-15-00, TASK 70-15-01-160-501 in the V2500 Standard Practices Manual, 2A4414.
SUBTASK 72-41-31-330-051-B00 Remove the Abradable Lining and Bond Coat, Assembly B
Refer to the SPM TASK 70-11-03-300-503.
Chemically clean.
SUBTASK 72-41-31-110-063 Clean the Stage 5 Rotor Path Ring
Refer to the SPM TASK 70-34-18-380-501.
Mask the areas not to be sprayed.
SUBTASK 72-41-31-350-057-A00 Mask the Areas not to be Sprayed, Assembly A
Refer to the SPM TASK 70-34-18-380-501.
Mask the areas not to be sprayed.
SUBTASK 72-41-31-350-057-B00 Mask the Areas not to be Sprayed, Assembly B
Refer to the SPM TASK 70-34-18-380-501.
Prepare the Areas to be Sprayed.
SUBTASK 72-41-31-120-052 Prepare the Areas to be Sprayed
Refer to the SPM TASK 70-34-01-340-501, SUBTASK 70-34-01-340-025 or SUBTASK 70-34-01-340-010.
For powder feed plasma spray gun, use CoMat 03-089 METAL SPRAYING POWDER Ni/Al (95/5).
Alternatively for the wire feed combustion spraying, use CoMat 03-036 METAL SPRAYING WIRE, Ni,Al.
Pre heat the seal ring to 221 deg F to 257 deg F (105 deg C to 125 deg C).
Apply the bond coat.
Refer to the SPM TASK 70-34-01-340-501, SUBTASK 70-34-01-340-020-001.
Spray a sufficient thickness to allow for machining.
Also spray a test piece to check the spray hardness.
Apply the abradable lining.
Refer to the SPM TASK 70-11-26-300-503.
After the coat is applied and the part is cool, remove the mask. Remove the tape residue.
SUBTASK 72-41-31-340-051-A00 Apply the Abradable Lining, Assembly A
Refer to the SPM TASK 70-34-01-340-501 , SUBTASK 70-34-01-340-025 or SUBTASK 70-34-01-340-010.
For powder feed plasma spray gun, use CoMat 03-089 METAL SPRAYING POWDER Ni/Al (95/5).
Alternatively for the wire feed combustion spraying, use CoMat 03-036 METAL SPRAYING WIRE, Ni,Al.
Pre heat the seal ring to 221 deg F to 257 deg F (105 deg C to 125 deg C).
Apply the bond coat.
Refer to the SPM TASK 70-34-01-340-501, SUBTASK 70-34-01-340-020-002.
Spray a sufficient thickness to allow for machining.
Also spray a test piece to check the spray hardness.
Apply the abradable lining.
Refer to the SPM TASK 70-11-26-300-503.
After the coat is applied and the part is cool, remove the mask. Remove the tape residue.
SUBTASK 72-41-31-340-051-B00 Apply the Abradable Lining, Assembly B
Refer to the SPM TASK 70-34-01-340-501.
Visually examine the sprayed coating on the ring.
Refer to the SPM TASK 70-34-01-340-501, SUBTASK 70-34-01-340-004.
Average hardness must be 55 to 85 R15Y, outer limits 50 min, 90 max.
Hardness test the sprayed coating on the test piece.
SUBTASK 72-41-31-220-130-A00 Examine the Stage 5 Rotor Path Lining, Assembly A
Refer to the SPM TASK 70-34-01-340-501.
Visually examine the sprayed coating on the ring.
Refer to the SPM TASK 70-34-01-340-501, SUBTASK 70-34-01-340-004.
Average hardness must be 55 to 85 R15Y, outer limits 50 min, 90 max.
Hardness test the sprayed coating on the test piece.
SUBTASK 72-41-31-220-130-B00 Examine the Stage 5 Rotor Path Lining, Assembly B
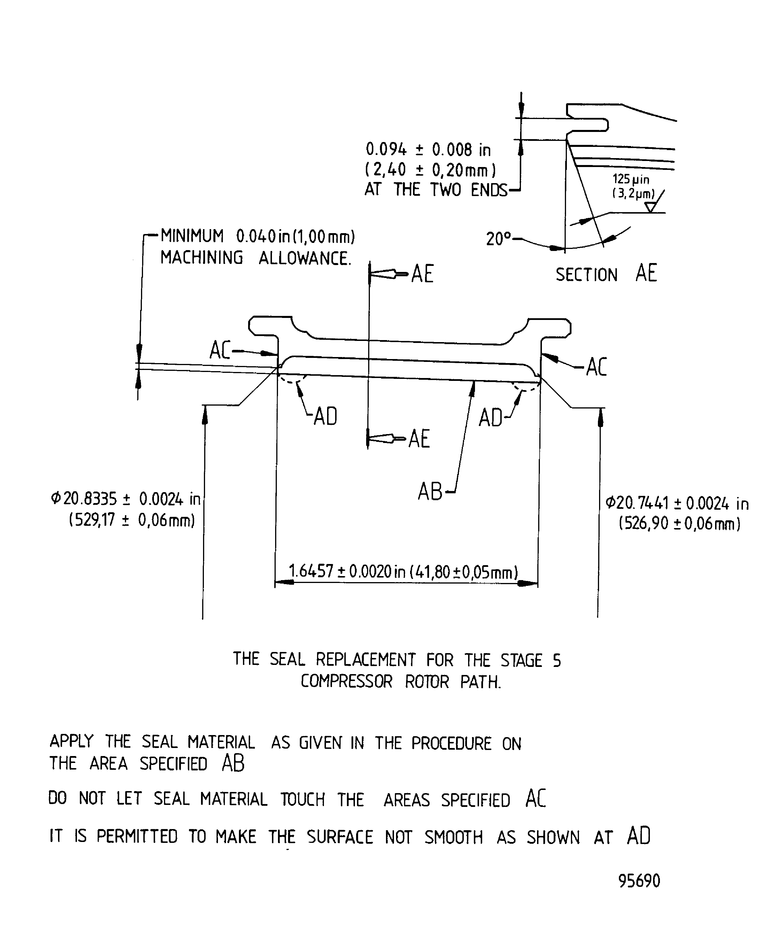
Refer to Figure.
Refer to the SPM TASK 70-09-00-400-501, SUBTASK 70-09-00-400-001.
Use Vibration peen.
Make a mark VRS6244 adjacent to the part number.
SUBTASK 72-41-31-350-060 Identify the Repair
Figure: Repair details and dimensions - Assy A and Assy B
Repair details and dimensions - Assy A and Assy B

Figure: Repair details and dimensions - Assy A
Repair details and dimensions - Assy A

Figure: Repair details and dimensions - Assy B
Repair details and dimensions - Assy B

Figure: Repair details and dimensions - Assy A
Repair details and dimensions - Assy A

Figure: Repair details and dimensions - Assy B
Repair details and dimensions - Assy B

Figure: Repair details and dimensions - Assy A and Assy B
Repair details and dimensions - Assy A and Assy B

